LEMON Manuals: Even more car manuals for everyone: 1960-2025
Home >> Acura >> 2012 >> RDX AWD L4-2.3L Turbo >> Repair and Diagnosis >> Heating and Air Conditioning >> Control Assembly >> Service and Repair >> Climate Control Switch Bulb Replacement
April 5, 2026: LEMON Manuals is launched! Read the announcement.

Climate Control Switch Bulb Replacement




Climate Control Switch Bulb Replacement

1. Remove the climate control switch Climate Control Switch Removal/Installation.

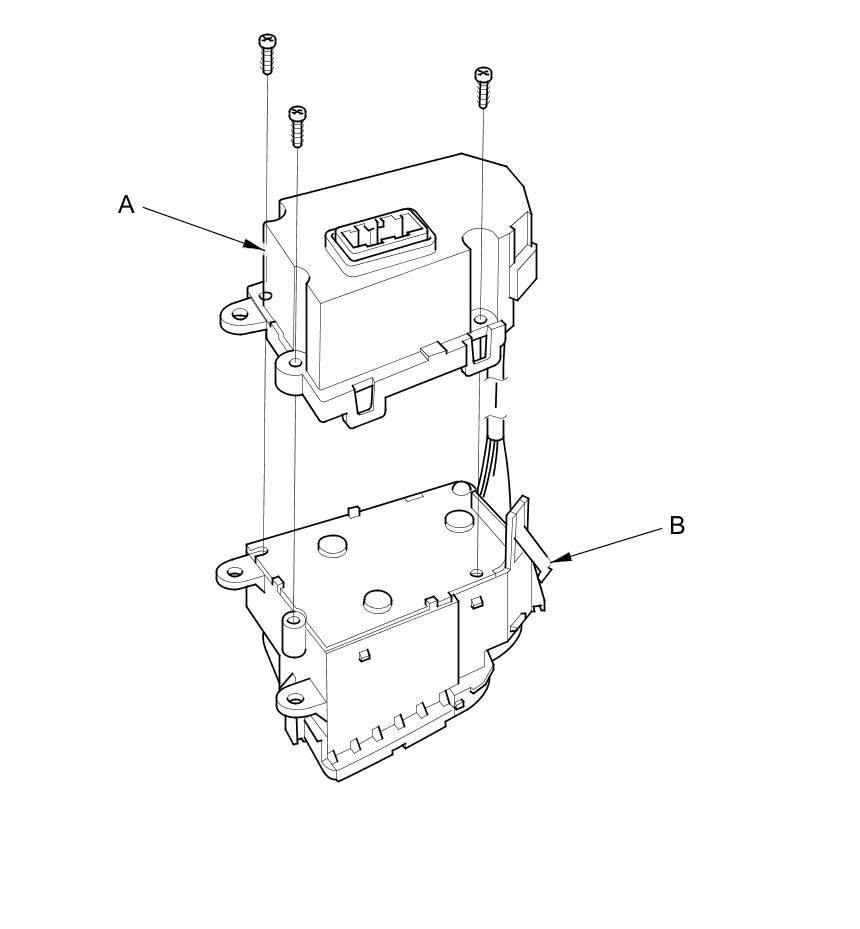
2. Remove the screws and the cover (A) from the driver's climate control switch (B).






3. Remove the bulb(s) with a flat-tip screwdriver.





4. Install the bulb(s) in the reverse order of removal. After installation, operate the various functions to see whether it works properly.