LEMON Manuals: Even more car manuals for everyone: 1960-2025
Home >> Acura >> 2012 >> RDX AWD L4-2.3L Turbo >> Repair and Diagnosis >> Lighting and Horns >> Testing and Inspection >> Automatic Lighting Control Unit Input Test
April 5, 2026: LEMON Manuals is launched! Read the announcement.

Automatic Lighting Control Unit Input Test




Automatic Lighting Control Unit Input Test

1. Turn the ignition switch to LOCK (0).

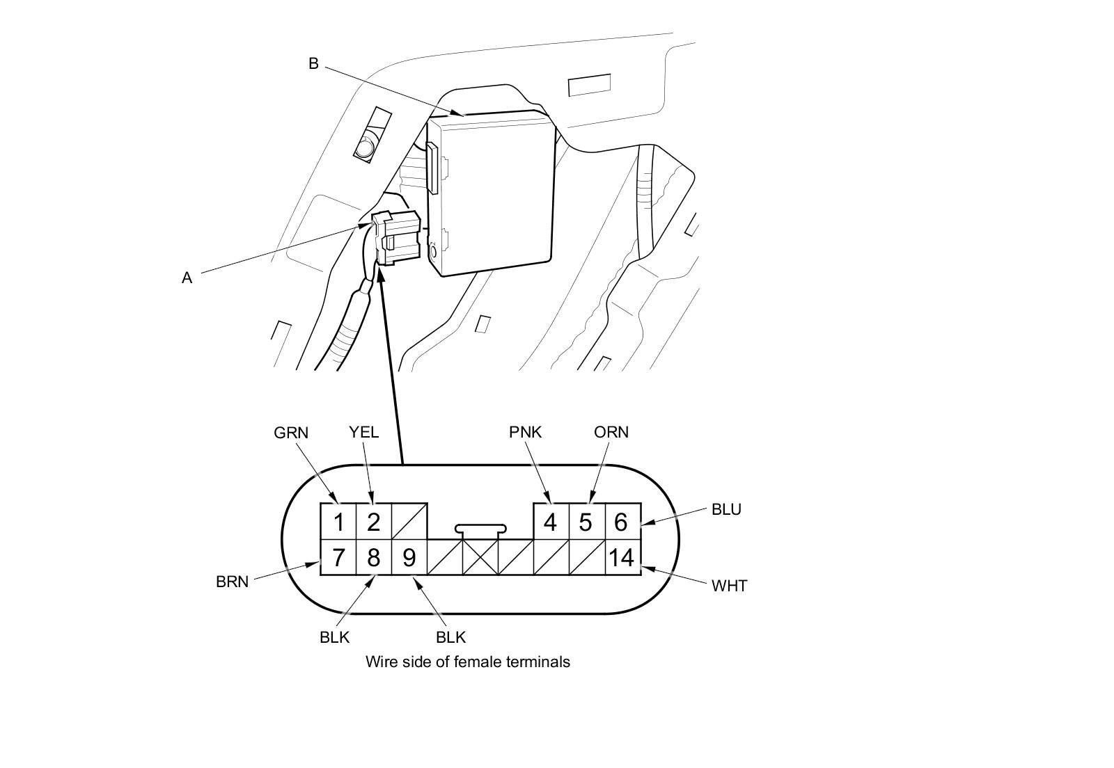
2. Remove the lid from left cargo area side trim panel.

3. Disconnect the 14P connector (A) from the automatic lighting control unit (B).






4. Inspect the connector and socket terminals to be sure they are all making good contact.

- If the terminals are bent, loose or corroded, repair them as necessary, and recheck the system.
- If the terminals look OK, go to step 5.

5. Reconnect the automatic lighting control unit connector, and do the following input tests:

- If any test indicates a problem, find and correct the cause, then recheck the system.
- If all the input tests prove OK, go to step 6.





6. Connect a voltmeter and jumper wires as shown, then turn the ignition switch to ON (II) and do the following input tests:

- If test indicates a problem, find and correct the cause, then recheck the system.
- If the input test proves OK, replace the automatic lighting control unit.