LEMON Manuals: Even more car manuals for everyone: 1960-2025
Home >> Acura >> 2012 >> RL V6-3.7L >> Repair and Diagnosis >> Restraints and Safety Systems >> Seat Belt Systems >> Seat Belt Control Module >> Service and Repair
April 5, 2026: LEMON Manuals is launched! Read the announcement.

Seat Belt Control Module: Service and Repair




E-Pretensioner Unit Replacement

NOTE:

- Do not turn the ignition switch to ON (II) while the e-pretensioner unit connectors are disconnected.
- Do not remove the parking brake cable from the parking brake pedal.

1. Do the battery terminal disconnection procedure, then wait at least 3 minutes before starting work.

2. Remove the accelerator pedal module Service and Repair.

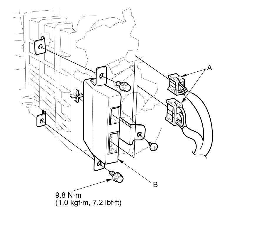
3. Disconnect the connectors (A) from the e-pretensioner unit (B).





4. Remove the E-pretensioner unit from behind the heater unit.

5. Install the unit in the reverse order of removal.

6. Do the battery terminal reconnection procedure.

7. Clear any DTCs with the HDS.

8. Check the operation of the E-pretensioner unit with the HDS Testing and Inspection.

9. After installing the E-pretensioner unit, Turn the ignition switch to ON (II), and check that the SRS indicator should come on for about 6 seconds and then go off.