LEMON Manuals: Even more car manuals for everyone: 1960-2025
Home >> Acura >> 2012 >> RL V6-3.7L >> Repair and Diagnosis >> Specifications >> Mechanical Specifications >> Body and Frame >> Body Specifications/Wheel Alignment
April 5, 2026: LEMON Manuals is launched! Read the announcement.

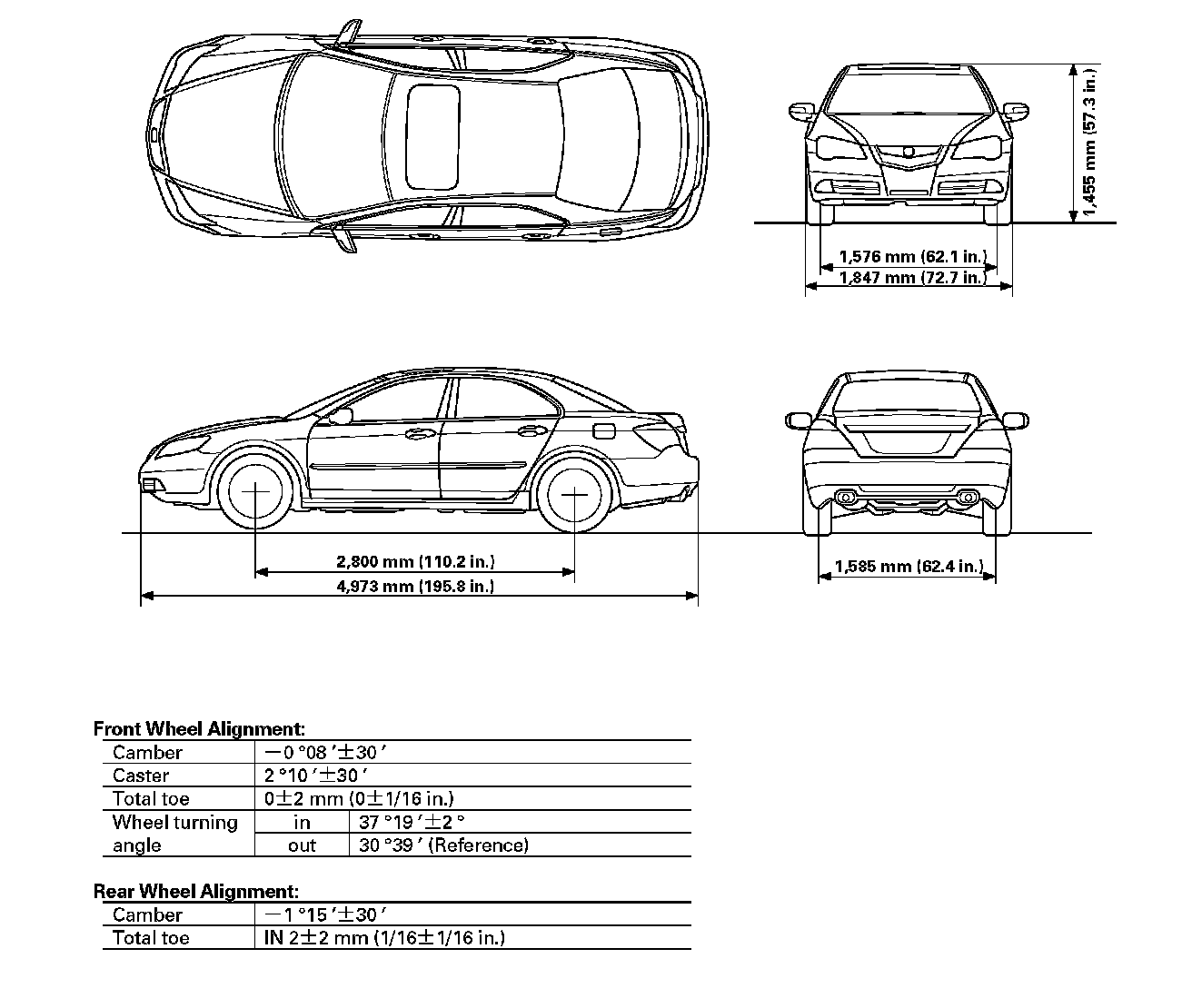
Body Specifications/Wheel Alignment