LEMON Manuals: Even more car manuals for everyone: 1960-2025
Home >> Acura >> 2012 >> RL V6-3.7L >> Repair and Diagnosis >> Specifications >> Mechanical Specifications >> Engine >> Cylinder Head Assembly >> System Specifications >> Head Specification(s)
April 5, 2026: LEMON Manuals is launched! Read the announcement.

Head Specification(s)






Head

Head





Warpage Inspection

Measure along the edges, and three ways across the center.

If warpage is less than 0.05 mm (0.002 in), cylinder head resurfacing is not required.
Maximum resurface is limited to the cylinder head height standard as shown.





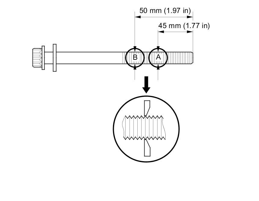
Cylinder Head Bolts

Inspection

Measure the diameter of each cylinder head bolt at point A and point B.





If either diameter is less than 10.6 mm (0.417 in), replace the cylinder head bolt.

Tightening Specifications

FRONT





REAR





First pass 39 Nm (4.0 kg-m, 29 lb-ft)
Second pass Tighten 90°
Third pass Tighten 90°
Final pass: If using a new bolt Tighten an extra 90°

Intake Manifold Fasteners Specifications

Exhaust Manifold Fasteners Specifications

Camshaft Gear/Sprocket Bolts Specifications