LEMON Manuals: Even more car manuals for everyone: 1960-2025
Home >> Acura >> 2012 >> RL V6-3.7L >> Repair and Diagnosis >> Windows and Glass >> Windows >> Testing and Inspection >> Left Rear Power Window Switch Input Test
April 5, 2026: LEMON Manuals is launched! Read the announcement.

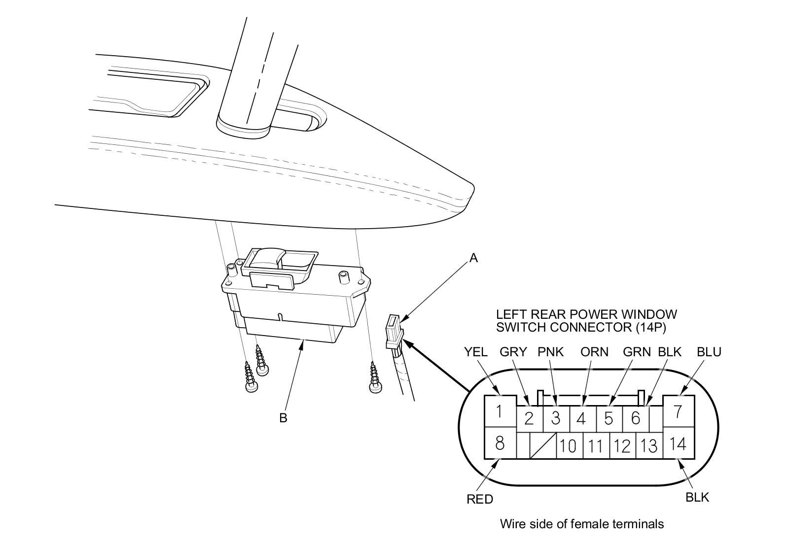
Left Rear Power Window Switch Input Test




Left Rear Power Window Switch Input Test

1. Turn the ignition switch to LOCK (0).

2. Remove the left rear power window switch Passenger's Power Window Switch Test/Replacement.

3. Disconnect the 14P connector (A) from the left rear power window switch (B).





4. Inspect the connector and socket terminals to be sure they are all making good contact.

- If the terminals are bent, loose or corroded, repair them as necessary and recheck the system.
- If the terminals look OK, go to step 5.

5. With the connector still disconnected, do the following input tests.

- If any test indicates a problem, find and correct the cause, then recheck the system.
- If all the input tests prove OK, go to step 6.





6. Reconnect the connector to the left rear power window switch, and do the following input tests.

- If any test indicates a problem, find and correct the cause, then recheck the system.
- If all the input tests prove OK, the left rear power window switch must be faulty; replace it Passenger's Power Window Switch Test/Replacement and go to step 7.





7. Reset the power window control unit Testing and Inspection.