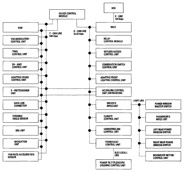
Connected ECUs
Several ECUs are connected to each of the two networks. The gauge control module is part of both networks since it is the "gateway" between them. Here is a list of ECUs and the network they are connected to.
B-CAN ECUs
- Gauge control module
- Relay control module
- MICU
- Driver's MPCS unit
- Combination switch control unit
- Climate control unit
- HandsFreeLink control unit
- Power seat control unit
- Adaptive front lighting control unit
- Keyless access control unit
- AcuraLink control unit (XM receiver)
F-CAN ECUs
- Gauge control module
- PCM
- VSA modulator-control unit
- TPMS control unit
- SH-AWD control unit
- Adaptive cruise control unit
- E-pretensioner unit
- Data link connector
- Steering angle sensor
- SRS unit
- Navigation unit
- Yaw rate-acceleration sensor