LEMON Manuals: Even more car manuals for everyone: 1960-2025
Home >> Acura >> 2012 >> RL >> Repair and Diagnosis >> Accessories & Equipment >> Infotainment >> Navigation System >> Interface Dial Removal/Installation
April 5, 2026: LEMON Manuals is launched! Read the announcement.

Interface Dial Removal/Installation

  1. Remove the audio unit (see AUDIO UNIT REMOVAL/INSTALLATION ).
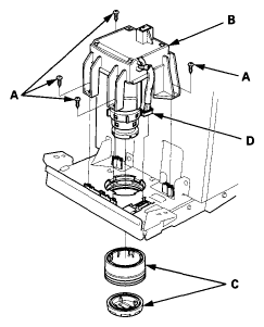
  2. Remove the harness cover (A).
    Fig 1: Removing Harness Cover
    G07364007Courtesy of AMERICAN HONDA MOTOR CO., INC.
  3. Remove the screws (A) and the jog dial (B) from the interface dial (C).
    Fig 2: Removing Screws And Jog Dial From Interface Dial
    G07364008Courtesy of AMERICAN HONDA MOTOR CO., INC.
  4. Disconnect the connector (D), then remove the interface dial.
  5. Install the interface dial in reverse order of removal.