LEMON Manuals: Even more car manuals for everyone: 1960-2025
Home >> Acura >> 2012 >> RL >> Repair and Diagnosis >> Brakes >> Traction Control >> Vehicle Stability Assist System >> Wheel Speed Sensor Inspection >> Front
April 5, 2026: LEMON Manuals is launched! Read the announcement.

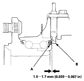
Wheel Speed Sensor Inspection: Front

Fig 1: Checking Magnetic Encoder
G07363355Courtesy of AMERICAN HONDA MOTOR CO., INC.