Front Passenger's Power Window Switch Replacement
Front Passenger's Power Window Switch Replacement
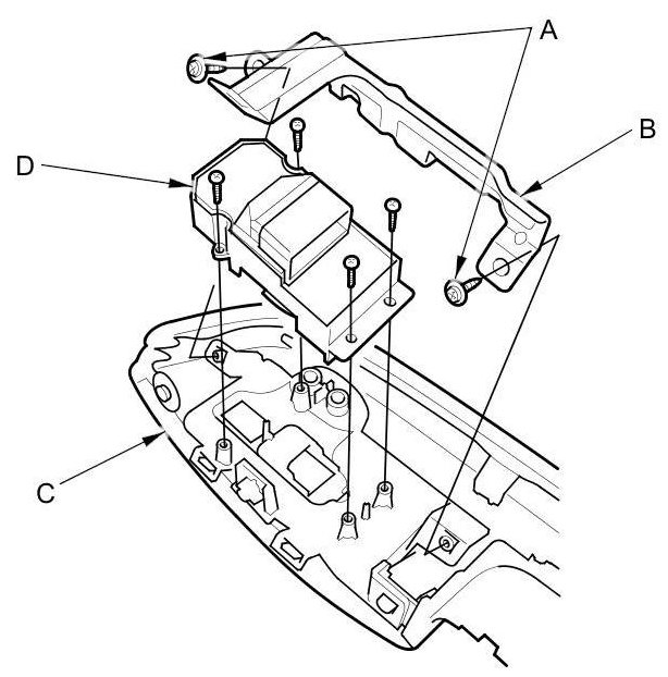
1. Remove the passenger's door armrest.
2. Remove the two screws (A), then remove the bracket (B) from the armrest assembly (C).
3. Remove the four screws and the front passenger's power window switch (D).
4. Install the switch in the reverse order or removal.
5. Resetting the power window control unit Testing and Inspection.