LEMON Manuals: Even more car manuals for everyone: 1960-2025
Home >> Acura >> 2012 >> TL Base >> Repair and Diagnosis (Single Page) >> Body & Frame >> Windows >> Power Windows >> Front Passenger's Power Window Switch Replacement
April 5, 2026: LEMON Manuals is launched! Read the announcement.

Front Passenger's Power Window Switch Replacement

  1. Remove the passenger's door armrest (see FRONT DOOR PANEL REMOVAL/INSTALLATION ).
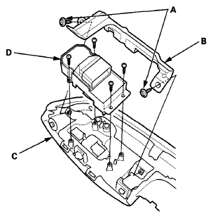
  2. Remove the two screws (A), then remove the bracket (B) from the armrest assembly (C).
    Fig 1: Identifying Armrest Assembly, Bracket, Screws And Power Window Switch
    G08071485Courtesy of AMERICAN HONDA MOTOR CO., INC.
  3. Remove the four screws and the front passenger's power window switch (D).
  4. Install the switch in the reverse order or removal.
  5. Resetting the power window control unit (see RESETTING THE POWER WINDOW CONTROL UNIT  ).