LEMON Manuals: Even more car manuals for everyone: 1960-2025
Home >> Acura >> 2012 >> TL Base >> Repair and Diagnosis >> Accessories & Equipment >> Entertainment Systems >> HOMELINK Remote Control System >> Test
April 5, 2026: LEMON Manuals is launched! Read the announcement.

HOMELINK Remote Control System: Test

NOTE:
  • Explain to the client that garage door remote transmitters come in two types: Fixed code and rolling code. Each type has its own programming method, and each method is covered in the owner's manual. If the client has concerns about the HomeLink unit, have the client contact the HomeLink assistance desk at 800-355-3515.
  • If HomeLink will not open the client's garage, do the following procedures.
  1. Press any of the buttons on the HomeLink unit.
    • If the red indicator comes on, go to step  4.
    • If the red indicator does not come on, go to step 2.
  2. Remove the roof console (see ROOF CONSOLE INPUT TEST/REPLACEMENT ).
  3. Measure the voltage between terminals No. 3 (+) and No. 4 (-) of the roof console 20P connector. There should be battery voltage.
    • If the voltage is not as specified, check for these problems:
      • Blown No. 16 (7.5 A) fuse in the under-hood fuse/relay box.
      • Faulty under-dash fuse/relay box.
      • An open or high resistance in the wire.
      • Poor ground (G401).
    • If the voltage is specified, go to step 4.
    Fig 1: Measuring Voltage Between Roof Console 20P Connector Terminal No. 3 And 4 With Connector End View
    G08071610Courtesy of AMERICAN HONDA MOTOR CO., INC.
  4. Make sure the genie remote transmitter (test remote) has fresh batteries.
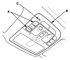
  5. Clear any previously learned codes by pressing and holding the two outside buttons (A) on the HomeLink unit (B) for until (about 20 seconds) the red indicator (C) on the unit starts blinking, release the buttons.
    Fig 2: Identifying Outside Buttons, Homelink Unit And Red Indicator
    G08071611Courtesy of AMERICAN HONDA MOTOR CO., INC.
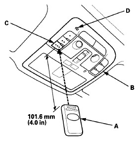
  6. Point the test remote transmitter (A) straight up exactly 101.6 mm (4.0 in) away from the HomeLink unit (B).
    Fig 3: Identifying Remote Transistor And Homelink Unit
    G08071612Courtesy of AMERICAN HONDA MOTOR CO., INC.
  7. Press and hold the test transmitter button and one of the HomeLink unit buttons (C) at the same time.
  8. Wait for about 20 seconds while watching the red indicator (D) on the HomeLink unit.
    • If the red indicator starts out blinking slowly and then blinks faster, the unit is OK. Release the buttons, then clear the learned code (see step  1). For more information, go online to www.homelink.com.
    • If the red indicator does not blink, the HomeLink unit is faulty; replace the roof console (see ROOF CONSOLE INPUT TEST/REPLACEMENT ).