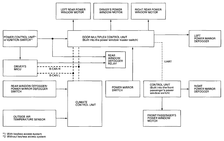
Power Mirror Defogger Auto Operation Function
When the outside air temperature is 41°F (5°C) or below and the ignition switch is turned to ON (II) or the vehicle is in ON mode, the left and right power mirror defoggers automatically turn on. The power mirror defogger auto operation function is controlled by the door multiplex control unit.
- When the door multiplex control unit receives a signal that the outside air temperature is 41°F (5°C) or below from the climate control unit, the door multiplex control unit automatically turns on the left and right power mirror defoggers within ten seconds after the ignition switch is turned to ON (II) or the vehicle is in ON mode.
- Power mirror defogger output automatically stops in ten minutes as a result of its timer.
- If the door multiplex control unit receives a rear window defogger/power mirror defogger switch input signal from the climate control unit during power mirror defogger output, the door multiplex control unit shuts off the auto operation function immediately.
- While the power mirror defogger auto operation function is operating, the rear window defogger does not automatically operate.
- The power mirror defogger auto operation function stops temporarily when any power windows operate during power mirror defogger output.