LEMON Manuals: Even more car manuals for everyone: 1960-2025
Home >> Acura >> 2012 >> TL Base >> Repair and Diagnosis >> Steering >> Power Steering >> Power Steering System >> Tie-Rod End Ball Joint Boot Replacement
April 5, 2026: LEMON Manuals is launched! Read the announcement.

Tie-Rod End Ball Joint Boot Replacement

Special Tools Required 

Bearing Driver Attachment, 36 mm 07965-SA50500

  1. Disconnect the tie-rod end ball joint from the knuckle (see STEERING GEARBOX REMOVAL AND INSTALLATION ).
  2. Remove the tie-rod end from the rack end (see RACK END REMOVAL AND INSTALLATION ).
  3. Remove the ball joint boot from the tie-rod end, and wipe the old grease off the ball pin.
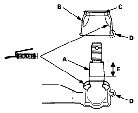
  4. Pack the lower area of the ball pin (A) with fresh multipurpose grease.
    Fig 1: Identifying Ball Pin, Ball Joint Boot, Boot Mounting Area, Tapered Section And Lip
    G08070196Courtesy of AMERICAN HONDA MOTOR CO., INC.
  5. Pack the interior of the ball joint boot (6) and lip (C) with fresh multipurpose grease.

    Note these items when installing new grease:

    • Keep grease off the boot mounting area (D) and the tapered section (E) of the ball pin.
    • Do not allow dust, dirt, or other foreign materials to enter the boot.
  6. Install the ball joint boot (A) using the bearing driver attachment. The boot must not have a gap at the boot installation sections (B). After installing the boot, check the ball pin tapered section for grease contamination, and wipe it if necessary.
    Fig 2: Installing Ball Joint Boot Using Bearing Driver Attachment
    G08070197Courtesy of AMERICAN HONDA MOTOR CO., INC.
  7. Install the tie-rod end to the rack end.
  8. Connect the tie-rod end ball joint to the knuckle (see STEERING GEARBOX REMOVAL AND INSTALLATION ).
  9. Check the wheel alignment, and adjust it if necessary (see WHEEL ALIGNMENT ).