LEMON Manuals: Even more car manuals for everyone: 1960-2025
Home >> Acura >> 2012 >> TL SH-AWD, Standard Trans >> Repair and Diagnosis (Single Page) >> Transmission >> Manual Trans >> Manual Transmission >> Transfer Assembly Disassembly >> Exploded View
April 5, 2026: LEMON Manuals is launched! Read the announcement.

Exploded View

Fig 1: Exploded View Of Transfer Assembly With Torque Specifications
G08066236Courtesy of AMERICAN HONDA MOTOR CO., INC.

Special Tools Required 

Flange Holder 07XAB-0010101

NOTE: To prevent damaging the transfer housing, always use soft jaws or equivalent materials between the transfer housing and a bench vise.
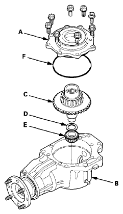
  1. Remove the transfer cover (A) from the transfer housing (B).
    Fig 2: Identifying Transfer Cover, Housing, Hypoid Drive Gear/Shaft Assembly, Thrust Shim, Tapered Roller Bearing And O-Ring
    G08066237Courtesy of AMERICAN HONDA MOTOR CO., INC.
  2. Remove the transfer hypoid drive gear/shaft assembly (C), the 25 mm thrust shim (D), and the tapered roller bearing (E).
  3. Remove the O-ring (F) from the transfer cover.
  4. Remove the oil seal from the transfer cover (see TRANSFER COVER OIL SEAL REPLACEMENT  ).
  5. Drain the transfer fluid (hypoid gear oil) from the transfer housing (see TRANSFER ASSEMBLY FLUID INSPECTION AND REPLACEMENT  ).
  6. Cut the stake on the locknut using a chisel.
    Fig 3: Cutting Stake On Locknut Using Chisel
    G08066238Courtesy of AMERICAN HONDA MOTOR CO., INC.
  7. Secure the transfer housing in a bench vise with soft jaws.
    Fig 4: Securing Transfer Housing In Bench Vise With Soft Jaws
    G08066239Courtesy of AMERICAN HONDA MOTOR CO., INC.
  8. Install the flange holder (A) on the companion flange, then loosen the locknut.
  9. Remove the flange holder.
  10. Remove the locknut (A), the conical spring washer (B), the back-up ring (C), the O-ring (D), and the companion flange (E) from the transfer output shaft (hypoid gear) (F).
    Fig 5: Identifying Locknut, Conical Spring Washer, Back-Up Ring, O-Ring, Companion Flange And Output Shaft
    G08066240Courtesy of AMERICAN HONDA MOTOR CO., INC.
  11. Remove the transfer output shaft (hypoid gear) (A) from the transfer housing (B), then remove the thrust washer (C) and the transfer spacer (D) from the transfer output shaft (hypoid gear).
    Fig 6: Identifying Output Shaft (Hypoid Gear), Transfer Housing, Thrust Washer And Transfer Spacer
    G08066241Courtesy of AMERICAN HONDA MOTOR CO., INC.
  12. Remove the oil seal (A) and the tapered roller bearing (B) from the transfer housing.
    Fig 7: Identifying Oil Seal And Tapered Roller Bearing
    G08066242Courtesy of AMERICAN HONDA MOTOR CO., INC.