LEMON Manuals: Even more car manuals for everyone: 1960-2025
Home >> Acura >> 2012 >> TSX Sedan V6-3.5L >> Repair and Diagnosis >> Relays and Modules >> Relays and Modules - Instrument Panel >> Instrument Panel Control Module >> Service and Repair
April 5, 2026: LEMON Manuals is launched! Read the announcement.

Instrument Panel Control Module: Service and Repair




Gauge Control Module Replacement

NOTE: Before replacing the gauge control module, retrieve the ODO Data and Transferring the Maintenance Minder Data to a New Gauge Control Module Programming and Relearning.

1. Turn the ignition switch to LOCK (0).

2. Remove the driver's dashboard undercover Driver's Dashboard Undercover Removal / Installation.

3. Remove the dashboard lower cover Driver's Dashboard Lower Cover Removal / Installation.

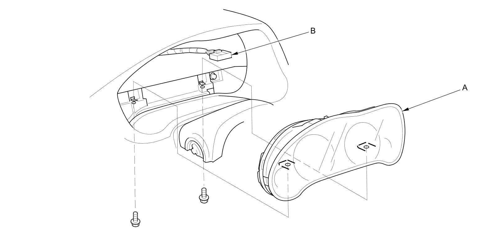
4. Remove the two bolts from under the dashboard, then pull the gauge control module (A) out carefully.





5. Disconnect the 32P connector (B) from the gauge control module.

6. Install the gauge control module in the reverse order of removal.

7. Do rewriting the ODO data and transferring the Maintenance Minder data to a new gauge control module Programming and Relearning.

NOTE: Check the official Honda website for more information on how to write odometer information to a gauge control module that will not communicate with the HDS.