LEMON Manuals: Even more car manuals for everyone: 1960-2025
Home >> Acura >> 2012 >> ZDX V6-3.7L >> Repair and Diagnosis >> Specifications >> Mechanical Specifications >> Engine >> Cylinder Head Assembly >> System Specifications >> Tightening Specifications
April 5, 2026: LEMON Manuals is launched! Read the announcement.

Tightening Specifications






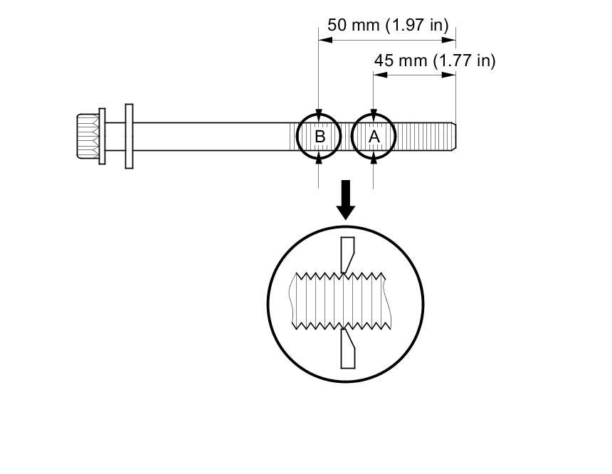
Cylinder Head Bolts

Measure the diameter of each cylinder head bolt at point A and point B.





If either diameter is less than 11.3 mm (0.445 in), replace the cylinder head bolt.

Tightening Sequence

FRONT





REAR





After torquing, tighten all cylinder head bolts in two steps (90 ° per step) using the sequence shown. If you are using a new cylinder head bolt, tighten the bolt an extra 90 °.

NOTE: Remove the cylinder head bolt if you tightened it beyond the specified angle. Do not loosen it back to the specified angle.

Warpage Inspection

Check the cylinder head for warpage. Measure along the edges, and three ways across the center.

If warpage is less than 0.05 mm (0.002 in), cylinder head resurfacing is not required.
If warpage is between 0.05 mm (0.002 in) and 0.2 mm (0.008 in), resurface the cylinder head.
Maximum resurface limit is 0.2 mm (0.008 in) based on a height of 121 mm (4.76 in).





Intake Manifold Fasteners Specifications

Camshaft Sprocket Bolts Specifications