LEMON Manuals: Even more car manuals for everyone: 1960-2025
Home >> Acura >> 2012 >> ZDX V6-3.7L >> Repair and Diagnosis >> Specifications >> Mechanical Specifications >> Engine >> Intake Manifold
April 5, 2026: LEMON Manuals is launched! Read the announcement.

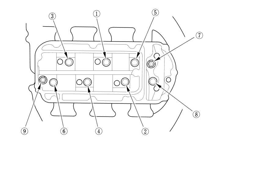
Intake Manifold






Injector Base 22 N-m (2.2 kgf-m, 16 lbf-ft)
Tighten the injector base mounting bolts/nuts in a crisscross pattern in three steps, beginning with the inner nuts.

Intake Manifold 22 Nm (2.2 kg-m, 16 lb-ft)
Tighten the bolts and nuts sequentially in three steps.