LEMON Manuals: Even more car manuals for everyone: 1960-2025
Home >> Acura >> 2012 >> ZDX >> Repair and Diagnosis (Single Page) >> Electrical >> Body Electrical >> OEM Fuse/Relay Boxes >> Fuse/Relay Boxes >> Driver's Under-dash Fuse/Relay Box >> Connector-to-Fuse/Relay Box Index
April 5, 2026: LEMON Manuals is launched! Read the announcement.

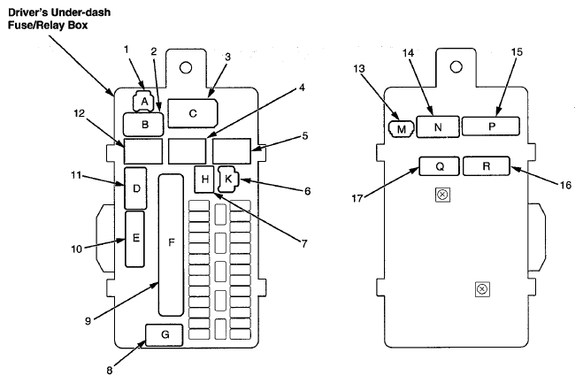
Connector-to-Fuse/Relay Box Index

Ref Socket Cavities Connects to Notes
1 A - Not Used  
2 B - Not Used  
3 C 5 Dashboard Wire Harness (see DASHBOARD WIRE HARNESS (VIEW OF DRIVER'S SIDE) )  
4 Accessory Relay 4   Keyless Access without Keyless Access
4 Console Accessory Power Socket Relay 4    
5 Starter Cut Relay 1 4    
6 K (MICU Service Check Connector) 3    
7 H (Option Connector) 12 PCM  
8 G 13 Left Engine Compartment Wire Harness (see LEFT ENGINE COMPARTMENT WIRE HARNESS )  
9 F 33 Left Engine Compartment Wire Harness (see LEFT ENGINE COMPARTMENT WIRE HARNESS )  
10 E 20 Floor Wire Harness (see FLOOR WIRE HARNESS (LEFT BRANCH) )  
11 D 16 Floor Wire Harness (see FLOOR WIRE HARNESS (LEFT BRANCH) )  
12 Fuel Pump Relay 4    
13 M 4 Dashboard Wire Harness (see DASHBOARD WIRE HARNESS (VIEW OF DRIVER'S SIDE) )  
14 N 16 Dashboard Wire Harness (see DASHBOARD WIRE HARNESS (VIEW OF DRIVER'S SIDE) )  
15 P 20 Dashboard Wire Harness (see DASHBOARD WIRE HARNESS (VIEW OF DRIVER'S SIDE) )  
16 R 24 Dashboard Wire Harness (see DASHBOARD WIRE HARNESS (VIEW OF DRIVER'S SIDE) )  
17 Q 20 Dashboard Wire Harness (see DASHBOARD WIRE HARNESS (VIEW OF DRIVER'S SIDE) )  
Fig 1: Drivers Under-Dash Fuse/Relay Box (6-5)
G07747689