LEMON Manuals: Even more car manuals for everyone: 1960-2025
Home >> Acura >> 2012 >> ZDX >> Repair and Diagnosis >> Electrical >> Horns >> Horn Test/Replacement
April 5, 2026: LEMON Manuals is launched! Read the announcement.

Horn Test/Replacement

  1. Remove the front bumper (see FRONT BUMPER REMOVAL/INSTALLATION ).
  2. Disconnect the 1P connector (A) from each horn (B).
    Fig 1: Locating 1P Connector And Horn
    G08076740Courtesy of AMERICAN HONDA MOTOR CO., INC.
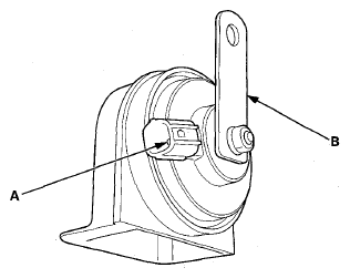
  3. Test the horn by momentarily connecting battery power to the terminal (A) and grounding the bracket (B). The horn should sound.
    Fig 2: Locating Horn Terminal And Bracket
    G08076741Courtesy of AMERICAN HONDA MOTOR CO., INC.
  4. If it fails to sound, replace the horn.
  5. Install the switch in the reverse order of removal.