LEMON Manuals: Even more car manuals for everyone: 1960-2025
Home >> Acura >> 2012 >> ZDX >> Repair and Diagnosis >> Engine Performance >> System >> Fuel And Emissions Systems >> System Description >> Fuel and Emissions Systems Diagram
April 5, 2026: LEMON Manuals is launched! Read the announcement.

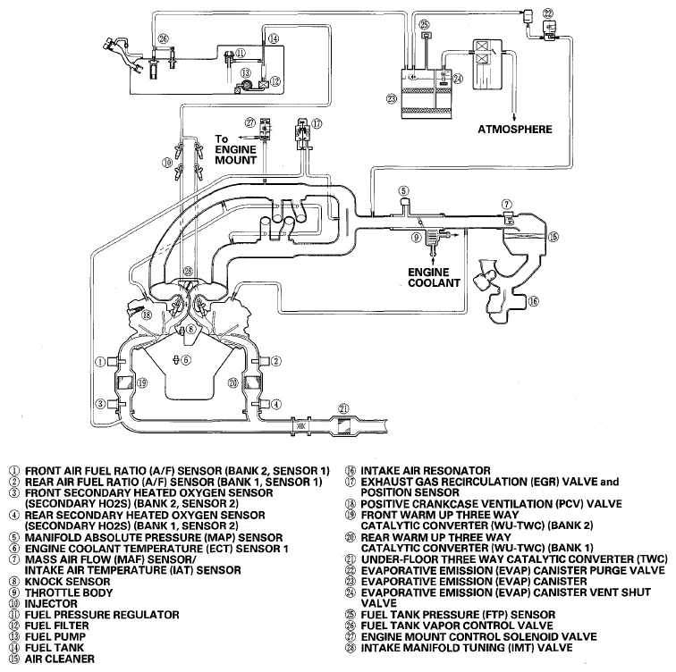
Fuel and Emissions Systems Diagram

Fig 1: Fuel And Emissions Systems Diagram
G08075438Courtesy of AMERICAN HONDA MOTOR CO., INC.