LEMON Manuals: Even more car manuals for everyone: 1960-2025
Home >> Acura >> 2013 >> TL Base >> Repair and Diagnosis >> Engine Mechanical >> Starter >> Starting System >> Starter Overhaul >> M/T model >> Exploded View
April 5, 2026: LEMON Manuals is launched! Read the announcement.

Exploded View

Fig 1: Exploded View Of Starter (M/T Model)
G08068539Courtesy of AMERICAN HONDA MOTOR CO., INC.
NOTE: Refer to the Exploded View if needed during this procedure.

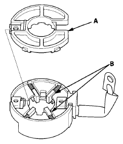
Brush Holder Removal 

  1. Remove the starter .
  2. Disconnect the motor wire from the M terminal , and remove the end cover.
  3. Remove the brush holder (A).
    Fig 2: Identifying Brush Holder
    G08068540Courtesy of AMERICAN HONDA MOTOR CO., INC.

    Armature Inspection and Test 

  4. Inspect the armature for wear or damage from contact with the permanent magnet. If there is wear or damage, replace the armature.
    Fig 3: Identifying Armature
    G08068541Courtesy of AMERICAN HONDA MOTOR CO., INC.
  5. Check the commutator (A) surface. If the surface is dirty or burnt, resurface it with an emery cloth or a lathe to the specifications in step 6, or recondition with #500 or #600 sandpaper (B).
    Fig 4: Identifying Commutator And Sand Paper
    G08068542Courtesy of AMERICAN HONDA MOTOR CO., INC.
  6. Check the commutator diameter with a digital caliper or dial type caliper. If the diameter is below the service limit, replace the armature.

    Commutator Diameter 

    Standard (New): 28.0- 28.1 mm (1.102- 1.106 in) 

    Service Limit: 27.5 mm (1.083 in) 

    Fig 5: Checking Commutator Diameter With Digital Caliper Or Dial Type Caliper
    G08068543Courtesy of AMERICAN HONDA MOTOR CO., INC.
  7. Measure the commutator (A) runout:
    • If the commutator runout is within the service limit, check the commutator for carbon dust or brass chips between the segments.
    • If the commutator runout is not within the service limit, replace the armature.

    Commutator Runout 

    Standard (New): 0.02 mm (0.0008 in) max. 

    Service Limit: 0.05 mm (0.0020 in) 

    Fig 6: Identifying Commutator
    G08068544Courtesy of AMERICAN HONDA MOTOR CO., INC.
  8. Use a digital caliper or dial type caliper to check the mica depth (A). If the mica depth is below the service limit, replace the armature.

    Commutator Mica Depth 

    Standard (New): 0.4- 0.5 mm (0.016- 0.020 in) 

    Service Limit: 0.15 mm (0.0059 in) 

    Fig 7: Checking Mica Depth Of Armature Slots
    G08068545Courtesy of AMERICAN HONDA MOTOR CO., INC.
  9. Use an ohmmeter to check for continuity between the segments of the commutator. If there is an open circuit between any segments, replace the armature.
    Fig 8: Checking Continuity Between Segments Of Commutator
    G08068546Courtesy of AMERICAN HONDA MOTOR CO., INC.
  10. Place the armature (A) on an armature tester (B). Hold a hacksaw blade (C) on the armature core. If the blade is attracted to the core while the core is turned, the armature is shorted. Replace the armature.
    Fig 9: Identifying Armature, Armature Tester And Hacksaw Blade
    G08068547Courtesy of AMERICAN HONDA MOTOR CO., INC.
  11. Use an ohmmeter to check for continuity between the commutator (A) and the armature coil core (B), and between the commutator and the armature shaft (C). If there is continuity, replace the armature.
    Fig 10: Identifying Commutator, Armature Coil Core And Armature Shaft
    G08068548Courtesy of AMERICAN HONDA MOTOR CO., INC.

    Starter Brush Inspection 

  12. Remove the brush holder cap (A), then remove the brushes (B).
    Fig 11: Identifying Brush Holder Cap And Brushes
    G08068549Courtesy of AMERICAN HONDA MOTOR CO., INC.
  13. Measure the brush length. Shorter than the service limit, replace the brush holder assembly.

    Brush Length 

    Standard (New): 15.8- 16.2 mm (0.622- 0.638 in) 

    Service Limit: 11.0 mm (0.433 in) 

    Fig 12: Measuring Brush Length With Vernier Caliper
    G08068550Courtesy of AMERICAN HONDA MOTOR CO., INC.

    Starter Brush Holder Test 

  14. Check for continuity between the (+) brushes (A) and the (-) brushes (B). If there is continuity, replace the brush holder assembly.
    Fig 13: Identifying (+) And (-) Brushes
    G08068551Courtesy of AMERICAN HONDA MOTOR CO., INC.

    Overrunning Clutch Inspection 

  15. Slide the overrunning clutch along the shaft. Replace it if it does not slide smoothly.
  16. Rotate the overrunning clutch (A) both ways. If it does not lock in either direction, or it locks in both directions, replace it.
    Fig 14: Rotating Overrunning Clutch
    G08068552Courtesy of AMERICAN HONDA MOTOR CO., INC.
  17. If the starter drive gear (B) is worn or damaged, replace the overrunning clutch assembly; the gear is not available separately. Check the condition of the flywheel ring gear to see if the teeth are damaged.

    Starter Reassembly 

  18. Install the armature in the housing.
  19. Set the brushes with the brush spring in the brush holder (A).
    Fig 15: Identifying Brush Holder
    G08068553Courtesy of AMERICAN HONDA MOTOR CO., INC.
  20. Place the brush holder assembly on the armature, then move the brush holder down to the armature.
    NOTE: Keep the brush holder on the armature so the brushes do not come out of the brush holder.
  21. Install the end cover (A) to retain the brush holder (B).
    Fig 16: Identifying End Cover And Brush Holder
    G08068554Courtesy of AMERICAN HONDA MOTOR CO., INC.
  22. Install the starter .