LEMON Manuals: Even more car manuals for everyone: 1960-2025
Home >> Acura >> 2013 >> TL Base >> Repair and Diagnosis >> Transmission >> Automatic Trans >> Automatic Transmission >> ATF Replacement
April 5, 2026: LEMON Manuals is launched! Read the announcement.

ATF Replacement

NOTE: Keep all foreign particles out of the transmission.
  1. Park the vehicle on the level ground.
  2. Warm up the engine to normal operating temperature (the radiator fan comes on), and turn the engine off.
  3. Raise the vehicle on a lift, make sure it is securely supported.
  4. Remove the air cleaner (see THROTTLE BODY CLEANING ).
  5. Remove the intake air duct (see INTAKE MANIFOLD REMOVAL AND INSTALLATION ).
  6. Remove the ATF filler bolt (A) and the sealing washer (B).
    Fig 1: Identifying Filler Bolt And Sealing Washer
    G08066479Courtesy of AMERICAN HONDA MOTOR CO., INC.
  7. Remove the drain plug (A), and drain the automatic transmission fluid (ATF).
    NOTE: If a cooler cleaning is necessary, refer to the ATF COOLER CLEANING .
    Fig 2: Drain Plug And Automatic Transmission Fluid (ATF) With Torque Specifications
    G08066480Courtesy of AMERICAN HONDA MOTOR CO., INC.
  8. Reinstall the drain plug with a new sealing washer (B).
  9. Refill the transmission with the recommended fluid through the filler hole (A). Always use Acura ATF DW-1 Automatic Transmission Fluid (ATF). Using a non-Acura ATF can affect shift quality.

    Automatic Transmission Fluid Capacity 

    With SH-AWD: 

    3.1 L (3.3 US qt) at change 

    7.8 L (8.2 US qt) at overhaul 

    Without SH-AWD: 

    3.1 L (3.3 US qt) at change 

    7.1 L (7.5 US qt) at overhaul 

    Fig 3: Filler Hole, Filler Bolt And Sealing Washer With Torque Specifications
    G08066481Courtesy of AMERICAN HONDA MOTOR CO., INC.
  10. Install the ATF filler bolt (B) with a new sealing washer (C).
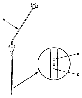
  11. Remove the ATF dipstick (A).
    Fig 4: Identifying ATF Dipstick, Upper And Lower Mark On Dipstick
    G08066482Courtesy of AMERICAN HONDA MOTOR CO., INC.
  12. Make sure the fluid level is between the upper mark (B) and the lower mark (C) on the dipstick, then insert the dipstick back into the dipstick guide tube.
  13. Install the intake air duct (see INTAKE MANIFOLD REMOVAL AND INSTALLATION ).
  14. Install the air cleaner (see THROTTLE BODY CLEANING ).
  15. If the Maintenance Minder required ATF replacement, reset the Maintenance Minder (see MAINTENANCE MINDER™ ), and this procedure is complete. If the Maintenance Minder did not require you to replace the ATF, go to step 16.
  16. Connect the HDS to the DLC (A) located under the driver's side of the dashboard.
    Fig 5: Identifying Data Link Connector Location
    G08066483Courtesy of AMERICAN HONDA MOTOR CO., INC.
  17. Turn the ignition switch to ON (II), or press the engine start/stop button to select the ON mode. Make sure the HDS communicates with the PCM. If it does not, go to the DLC circuit troubleshooting (see DLC CIRCUIT TROUBLESHOOTING ).
  18. Select GAUGES in the BODY ELECTRICAL with the HDS.
  19. Select ADJUSTMENT in the GAUGES with the HDS.
  20. Select MAINTENANCE MINDER in the ADJUSTMENT with the HDS.
  21. Select RESET in the MAINTENANCE MINDER with the HDS.
  22. Select MAINTENANCE SUB ITEM 3 RESET in the RESET with the HDS, and reset the ATF life with the HDS.