LEMON Manuals: Even more car manuals for everyone: 1960-2025
Home >> Acura >> 2013 >> TL Base >> Repair and Diagnosis >> Transmission >> Automatic Trans >> Automatic Transmission >> Transmission Disassembly >> Exploded View
April 5, 2026: LEMON Manuals is launched! Read the announcement.

Exploded View

Fig 1: Exploded View Of Transmission Disassembly (1 Of 3)
G08066677Courtesy of AMERICAN HONDA MOTOR CO., INC.
NOTE: This illustration shows the SH-AWD transfer assembly that is not available on all models.
Fig 2: Exploded View Of Transmission Disassembly (2 Of 3)
G08066678Courtesy of AMERICAN HONDA MOTOR CO., INC.
NOTE: This illustration shows the SH-AWD transfer assembly that is not available on all models.
Fig 3: Exploded View Of Transmission Disassembly (3 Of 3)
G08066679Courtesy of AMERICAN HONDA MOTOR CO., INC.
NOTE: This illustration shows the SH-AWD transfer assembly that is not available on all models.

Special Tools Required 

Mainshaft Holder Set 07PAB-0010001

NOTE: Refer to the EXPLODED VIEW  as needed during the following procedure.
  1. Remove the dipstick tube assembly (A) with the O-rings.
    Fig 4: Identifying Dipstick Tube Assembly With O-Rings
    G08066680Courtesy of AMERICAN HONDA MOTOR CO., INC.
  2. Remove the transmission range switch (A).
    Fig 5: Identifying Transmission Range Switch
    G08066681Courtesy of AMERICAN HONDA MOTOR CO., INC.
  3. Pry the lock tab of the lock washer (A) on the control lever (B), then remove the bolt, the lock washer, and the control lever.
    Fig 6: Identifying Lock Washer And Control Lever
    G08066682Courtesy of AMERICAN HONDA MOTOR CO., INC.
  4. Remove the input shaft (mainshaft) speed sensor (A) and the output shaft (countershaft) speed sensor (B) with the O-rings.
    Fig 7: Identifying Input And Output Mainshaft Speed Sensors
    G08066683Courtesy of AMERICAN HONDA MOTOR CO., INC.
  5. Remove the ATF temperature sensor (A) with the O-ring.
    Fig 8: Identifying ATF Temperature Sensor With O-Ring
    G08066684Courtesy of AMERICAN HONDA MOTOR CO., INC.
  6. Remove the ATF outlet line banjo bolt (A) with the sealing washers, and remove the ATF outlet line (B).
    Fig 9: Identifying ATF Outlet And Inlet Line Banjo Bolt, And ATF Inlet And Outlet Line
    G08066685Courtesy of AMERICAN HONDA MOTOR CO., INC.
  7. Remove the ATF inlet line banjo bolt (C) with the sealing washers and remove the ATF inlet line (D).
  8. Remove transmission hanger A.
    Fig 10: Identifying Transmission Hanger, Shaft Cover, Mainshaft End Cover And End Covers
    G08066686Courtesy of AMERICAN HONDA MOTOR CO., INC.
  9. Remove the third shaft end cover (B), the mainshaft end cover (C), and the end covers (D) (two) with the O-rings.
  10. Remove transmission fluid pressure switch A (2nd clutch) with the sealing washer.
    Fig 11: Identifying Transmission Fluid Pressure Switch A And D And Transmission Hanger
    G08066687Courtesy of AMERICAN HONDA MOTOR CO., INC.
  11. Remove transmission fluid pressure switch D (5th clutch) with the sealing washer.
  12. Remove transmission hanger B.
  13. Remove transmission fluid pressure switch C (4th clutch) (A) with the sealing washer.
    Fig 12: Identifying Transmission Fluid Pressure Switch C (4th Clutch) And Shift Solenoid Valve C
    G08066688Courtesy of AMERICAN HONDA MOTOR CO., INC.
  14. Remove shift solenoid valve C (B) with the O-rings.
  15. Remove the secondary valve body (A). Remove the ATF pipes (B) with the O-rings, and the gasket (C).
    NOTE: Do not disassemble the secondary valve body. If any problem occurs, replace the assembly.
    Fig 13: Identifying Secondary Valve Body And ATF Pipes
    G08066689Courtesy of AMERICAN HONDA MOTOR CO., INC.
  16. Install the mainshaft holder onto the mainshaft.
    Fig 14: Installing Mainshaft Holder Onto Mainshaft
    G08066690Courtesy of AMERICAN HONDA MOTOR CO., INC.
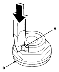
  17. Using a chisel, cut the lock tab (A) of the locknut (B) securing the mainshaft and third shaft locknuts.
    NOTE:
    • Keep all of the chiseled particles out of the transmission.
    • The illustration shows the mainshaft locknut.
      Fig 15: Cutting Lock Tab Of Lock Nut Using Chisel
      G08066691Courtesy of AMERICAN HONDA MOTOR CO., INC.
  18. Remove the locknuts (A) from the mainshaft (B) and the third shaft (C).
    NOTE: The third shaft locknut has left-hand threads.
    Fig 16: Identifying Locknuts, Mainshaft, Lock Washers And Third Shaft
    G08066692Courtesy of AMERICAN HONDA MOTOR CO., INC.
  19. Pry the lock washers (D), and remove them.
    NOTE: Keep all of the particles out of the transmission.
  20. Remove the transmission housing mounting bolts (10 x 1.25 mm bolts (A), 8 x 1.25 mm bolts (B)) and transmission hanger C.
    Fig 17: Identifying Transmission Housing Mounting Bolts And Transmission Hanger
    G08066693Courtesy of AMERICAN HONDA MOTOR CO., INC.
  21. While expanding the snap ring of the countershaft bearing with snap ring pliers, lift the transmission housing.
    Fig 18: Lifting Transmission Housing By Expanding Snap Ring Using Ring Pliers
    G08066694Courtesy of AMERICAN HONDA MOTOR CO., INC.
  22. Release the snap ring pliers, and remove the transmission housing (A), the two dowel pins (B), and the gasket (C).
    Fig 19: Identifying Transmission Housing, Dowel Pins And Gasket
    G08066695Courtesy of AMERICAN HONDA MOTOR CO., INC.
  23. Remove ATF joint pipes A and B with the O-rings.
    Fig 20: Identifying ATF Joint Pipes A And B
    G08066696Courtesy of AMERICAN HONDA MOTOR CO., INC.
  24. Remove the ATF strainer (A) with the O-ring.
    Fig 21: Identifying ATF Strainer, ATF Joint Pipe And ATF Lubrication Pipe
    G08066697Courtesy of AMERICAN HONDA MOTOR CO., INC.
  25. Remove the 10 x 70 mm ATF joint pipe (B) and the ATF lubrication pipe (C).
  26. Remove the mainshaft holder from the mainshaft.
  27. Pry the lock tab of the lock washer (A) on the shift fork (B), then remove the bolt and the lock washer.
    Fig 22: Identifying Lock Washer And Shift Fork
    G08066698Courtesy of AMERICAN HONDA MOTOR CO., INC.
  28. Remove the reverse gear (A), the reverse selector hub (B), the shift fork (C), and the baffle plate (D) together.
    Fig 23: Identifying Reverse Gear, Reverse Selector Hub, Shift Fork And Baffle Plate
    G08066699Courtesy of AMERICAN HONDA MOTOR CO., INC.
  29. Remove the mainshaft subassembly (A), the countershaft subassembly (B), the secondary shaft subassembly (C), and the idler gear shaft (D) together, and remove the needle bearing (E) from the torque converter housing.
    Fig 24: Identifying Mainshaft, Countershaft And Secondary Subassemblies, Idler Gear Shaft And Needle Bearing
    G08066700Courtesy of AMERICAN HONDA MOTOR CO., INC.
  30. Remove the third shaft (A).
    Fig 25: Identifying Third Shaft And Parking Holder
    G08066701Courtesy of AMERICAN HONDA MOTOR CO., INC.
  31. Remove the parking holder (B).
  32. Remove the detent arm (A), the detent arm shaft (B), and the detent arm spring (C).
    Fig 26: Identifying Detent Arm, Detent Arm Shaft And Detent Arm Spring
    G08066702Courtesy of AMERICAN HONDA MOTOR CO., INC.
  33. Remove the selector control shaft (A).
    Fig 27: Identifying Selector Control Shaft
    G08066703Courtesy of AMERICAN HONDA MOTOR CO., INC.
  34. Remove the differential assembly (B).
  35. With SH-AWD: Remove the transfer output shaft (C) with the thrust shim.
  36. Remove the oil catch plate (D), the 2nd air check valve (E), and the 5th air check valve (F).
  37. Remove the cooler retainer cap (A).
    Fig 28: Identifying Cooler Retainer Cap
    G08066704Courtesy of AMERICAN HONDA MOTOR CO., INC.
  38. Remove the 3rd air check valve (A), the 6th air check valve (B), the stator shaft support (C), the stator shaft (D), the stator shaft stop (E), and the dowel pins (F) (two).
    Fig 29: Identifying 3rd And 6th Air Check Valves, Stator Shaft Support, Stator Shaft And Stop And Dowel Pins
    G08066705Courtesy of AMERICAN HONDA MOTOR CO., INC.
  39. Remove the manual valve body (A) (seven bolts), the dowel pins (B) (two), the manual separator plate (C), and the check balls (D) (two). Do not let the check balls fall out, and do not use a magnet to remove the check balls, it may magnetize them.
    NOTE: Do not disassemble the manual valve body. If any problem occurs, replace the assembly.
    Fig 30: Identifying Manual Valve Body, Dowel Pins, Manual Separator Plate And Check Balls
    G08066706Courtesy of AMERICAN HONDA MOTOR CO., INC.
  40. Remove the regulator valve body (E) (eight bolts), the dowel pins (F) (two), and the regulator separator plate (G).
    NOTE: Do not disassemble the regulator valve body. If any problem occurs, replace the assembly.
  41. Remove the 4th/reverse air check valve (A) and the main valve body (B) (eight bolts).
    NOTE: Do not disassemble the main valve body. If any problem occurs, replace the assembly.
    Fig 31: Identifying Air Check Valve, Main Valve Body, ATF Pump Driven Gear Shaft, ATF Pump Driven And Drive Gear
    G08066707Courtesy of AMERICAN HONDA MOTOR CO., INC.
  42. Remove the ATF pump driven gear shaft (C), then remove the ATF pump driven gear (D) and the ATF pump drive gear (E).
  43. Remove the dowel pins (F) (two) and the main separator plate (G).
  44. Remove the ATF magnet (H), clean it, then reinstall it in the torque converter housing.
  45. Clean the inlet opening (A) of the ATF strainer (B) thoroughly with compressed air, then check that it is good condition and that the inlet opening is not clogged.
    Fig 32: Identifying Inlet Opening And ATF Strainer
    G08066708Courtesy of AMERICAN HONDA MOTOR CO., INC.
  46. Check the ATF strainer for clogs, debris, or damage. If the strainer is clogged or damaged, replace it.