LEMON Manuals: Even more car manuals for everyone: 1960-2025
Home >> Acura >> 2013 >> ZDX >> Repair and Diagnosis (Single Page) >> Suspension >> Wheels & Tire System >> TPMS (Tire Pressure Monitoring System) >> TPMS Control Unit Replacement
April 5, 2026: LEMON Manuals is launched! Read the announcement.

TPMS Control Unit Replacement

NOTE: Make sure the TPMS control unit mounting bracket is not bent or twisted as this may affect its communication with the initiators and the tire pressure sensors.
  1. Turn the ignition switch to LOCK (0), or press the engine start/stop button to select the OFF mode.
  2. Remove the driver's dashboard undercover (see DRIVER'S DASHBOARD UNDERCOVER REMOVAL/INSTALLATION ).
  3. Disconnect the TPMS control unit 20P connector (A).
    NOTE: The TPMS control unit is located on the brake pedal.
    Fig 1: Identifying TPMS Control Unit 20P Connector
    G08073547Courtesy of AMERICAN HONDA MOTOR CO., INC.
  4. Remove the flange bolt (A), and separate the relay block (B) from the bracket (C).
    Fig 2: Relay Block, Bracket And Flange Bolt With Torque Specifications
    G08073548Courtesy of AMERICAN HONDA MOTOR CO., INC.
  5. Remove the TPMS control unit (D) with the bracket.
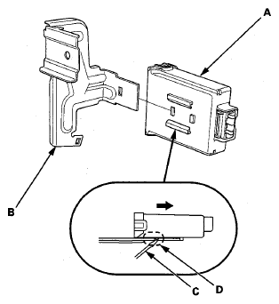
  6. Remove the TPMS control unit (A) from the bracket (B).
    NOTE: To disconnect the TPMS control unit from its bracket, insert a small flat-tipped screwdriver (C) between the TPMS control unit and the bracket shown in (D) to release the hook, then slide out the TPMS control unit.
    Fig 3: Inserting Small Flat-Tipped Screwdriver Between TPMS Control Unit And Bracket
    G08073549Courtesy of AMERICAN HONDA MOTOR CO., INC.
  7. Install the TPMS control unit in the reverse order of removal.
    NOTE: Make sure the TPMS control unit is properly installed. You will hear a click when the TPMS control unit is securely mounted on the bracket.
  8. Connect the HDS, and memorize the tire pressure sensor IDs (see MEMORIZING THE TIRE PRESSURE SENSOR ID  ). Do not memorize the IDs automatically.