LEMON Manuals: Even more car manuals for everyone: 1960-2025
Home >> Acura >> 2014 >> TL Base >> Repair and Diagnosis >> Engine Mechanical >> Mechanical >> Engine Block >> Piston Ring Replacement
April 5, 2026: LEMON Manuals is launched! Read the announcement.

Piston Ring Replacement

  1. Remove the pistons from the engine block .
  2. Using a ring expander (A), remove the old piston rings (B).
    Fig 1: Removing Piston Rings Using Ring Expander
    G08069139Courtesy of AMERICAN HONDA MOTOR CO., INC.
  3. Clean all the ring grooves thoroughly with a squared-off broken ring, or a ring groove cleaner with a blade to fit the piston grooves. File down the blade, if necessary. The top ring and second ring grooves are 1.2 mm (0.047 in) wide, and the oil ring groove is 2.8 mm (0.110 in) (J35Z6 engine) or 2.0 mm (0.079 in) (J37A4 engine) wide. Do not use a wire brush to clean the ring grooves, or cut the ring grooves deeper with the cleaning tool.
    NOTE: If the piston is to be separated from the connecting rod, do not install new rings yet.
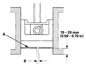
  4. Using a piston, push a new ring (A) into the cylinder bore 15- 20 mm (0.59- 0.79 in) from the bottom.
    Fig 2: Identifying Piston Ring Position
    G08069140Courtesy of AMERICAN HONDA MOTOR CO., INC.
  5. Measure the piston ring end-gap (B) with a feeler gauge:
    • If the gap is too small, check to see if you have the proper rings for your engine.
    • If the gap is too large, recheck the cylinder bore diameter against the wear limits (see step  4).
  6. J35Z6 engine: If the bore is over the service limit, the engine block must be rebored.

    J35Z6 engine 

    Piston Ring End-Gap 

    Top Ring: 

    Standard (New): 0.20- 0.35 mm (0.008- 0.013 in) 

    Service Limit: 0.60 mm (0.023 in) 

    Second Ring: 

    Standard (New): 0.40- 0.S5 mm (0.016- 0.021 in) 

    Service Limit: 0.70 mm (0.027 in) 

    Oil Ring: 

    Standard (New): 0.20- 0.70 mm (0.008- 0.027 in) 

    Service Limit: 0.80 mm (0.031 in) 

    J37A4 engine 

    Piston Ring End-Gap 

    Top Ring: 

    Standard (New): 0.30- 0.40 mm (0.012- 0.015 in) 

    Service Limit: 0.60 mm (0.023 in) 

    Second Ring: 

    Standard (New): 0.40- 0.55 mm (0.016- 0.021 in) 

    Service Limit: 0.70 mm (0.027 in) 

    Oil Ring: 

    Standard (New): 0.20- 0.35 mm (0.008- 0.013 in) 

    Service Limit: 0.45 mm (0.017 in) 

  7. Install the rings as shown in illustration below. The top ring (A) has a 1D or 1R mark (J35Z6 engine) or 1E mark (J37A4 engine) and the second ring (B) has a 2X or 2R mark (J35Z6 engine) or 2E mark (J37A4 engine). The manufacturing marks (C) must be facing upward.
    Fig 3: Identifying Top Ring, Second Ring With Manufacturing Marks
    G08069141Courtesy of AMERICAN HONDA MOTOR CO., INC.

    Piston Ring Dimensions: 

    Fig 4: Identifying Piston Ring Dimensions
    G08069142Courtesy of AMERICAN HONDA MOTOR CO., INC.
  8. After installing a new set of rings, measure the ring-to-groove clearance:

    J35Z6 engine 

    Top Ring Clearance 

    Standard (New): 0.055- 0.080 mm (0.003- 0.003 in) 

    Service Limit: 0.15 mm (0.005 in) 

    Second Ring Clearance 

    Standard (New): 0.030- 0.055 mm (0.002- 0.002 in) 

    Service Limit: 0.13 mm (0.005 in) 

    J37A4 engine 

    Top Ring Clearance 

    Standard (New): 0.055- 0.085 mm (0.003- 0.003 in) 

    Service Limit: 0.15 mm (0.005 in) 

    Second Ring Clearance 

    Standard (New): 0.030- 0.060 mm (0.002- 0.002 in) 

    Service Limit: 0.13 mm (0.005 in) 

    Fig 5: Measuring Ring-To-Groove Clearance
    G08069143Courtesy of AMERICAN HONDA MOTOR CO., INC.
  9. Rotate the rings in their grooves to make sure they do not bind.
  10. Position the ring end gaps as shown in illustration below.
Fig 6: Positioning Ring End Gaps
G08069144Courtesy of AMERICAN HONDA MOTOR CO., INC.