LEMON Manuals: Even more car manuals for everyone: 1960-2025
Home >> Acura >> 2014 >> TL Base >> Repair and Diagnosis >> Engine Performance >> System >> EVAP System >> EVAP Canister Purge Valve Replacement
April 5, 2026: LEMON Manuals is launched! Read the announcement.

EVAP Canister Purge Valve Replacement

  1. Disconnect the hoses (A) and the EVAP canister purge valve 2P connector (B).
    Fig 1: Hoses And EVAP Canister Purge Valve 2P Connector And Valve Assembly With Torque Specifications
    G08069946Courtesy of AMERICAN HONDA MOTOR CO., INC.
  2. Remove the EVAP canister purge valve assembly (C).
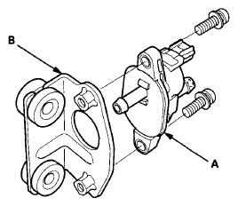
  3. Remove the EVAP canister purge valve (A) from the bracket (B).
    Fig 2: Identifying EVAP Canister Purge Valve And Bracket
    G08069947Courtesy of AMERICAN HONDA MOTOR CO., INC.
  4. Install the parts in the reverse order of removal.