LEMON Manuals: Even more car manuals for everyone: 1960-2025
Home >> Acura >> 2016 >> MDX Base >> Repair and Diagnosis (Single Page) >> Body & Frame >> Door Locks >> Security System / Keyless Entry System - Testing & Troubleshooting (Except Hybrid) >> Test >> HomeLink Remote Control System Test (2014 2015)
April 5, 2026: LEMON Manuals is launched! Read the announcement.

HomeLink Remote Control System Test (2014 2015)

NOTE:
  • Explain to the client that garage door remote transmitters come in two types: Fixed code and rolling code. Each type has its own programming method, and each method is covered in the Owner's Manual. If the client has concerns about the HomeLink unit, have the client contact the HomeLink assistance desk at 800-355-3515.
  • If HomeLink will not open the client's garage, do the following procedures.

1. Press any of the buttons on the HomeLink unit.

2. Do the HomeLink switch test .

3. Disconnect the HomeLink unit 8P connector .

4. Check for continuity between the HomeLink unit and the HomeLink switch (built into the roof console module).

Test circuit HomeLink unit8P connector Roof console module24P connector
H/LINK SW+B 4 (RED) 8 (RED)
H/LINK SW1 3 (PNK) 5 (PNK)
H/LINK SW2 7 (GRY) 6 (GRY)
H/LINK SW3 8 (WHT) 7 (WHT)
H/LINK IND+ 6 (LT GRN) 10 (LT GRN)
H/LINK IND- 2 (ORN) 4 (ORN)
GHH326599Courtesy of HONDA, U.S.A., INC.

5. Measure the voltage between HomeLink control unit 8P connector terminals No. 1 (+) and No. 5 (-). There should be battery voltage.

GHH326600Courtesy of HONDA, U.S.A., INC.

6. Make sure the genuine remote transmitter (test remote) has fresh batteries.

7. Clear any previously learned codes by pressing and holding the two outside buttons (A) on the roof console (B) until the red indicator (C) on the unit starts blinking (about 20 seconds), then release the buttons.

GHH326601Courtesy of HONDA, U.S.A., INC.

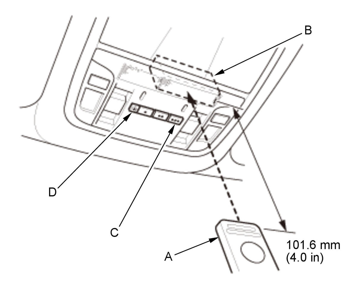
8. Point the test remote transmitter (A) straight up exactly 101.6 mm (4.0 in) away from the HomeLink unit (B).

GHH326602Courtesy of HONDA, U.S.A., INC.

9. Press and hold the test transmitter button and one of the HomeLink unit buttons (C) at the same time.

10. Wait for about 20 seconds while watching the red indicator (D) on the HomeLink switch.