LEMON Manuals: Even more car manuals for everyone: 1960-2025
Home >> Acura >> 2016 >> RLX Base >> Repair and Diagnosis (Single Page) >> Transmission >> Automatic Trans >> Automatic Transaxle - Service, Testing And Troubleshooting (Except Hybrid) >> System Description >> A/T - Electronic Control System (2014 2015 2016 2017) >> Lock-Up Control
April 5, 2026: LEMON Manuals is launched! Read the announcement.

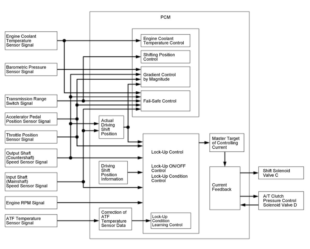
Lock-Up Control

Shift solenoid valve C and A/T clutch pressure control solenoid valve D control the hydraulic pressure to switch the lock-up shift valve and lock-up ON and OFF. When the PCM actuates shift solenoid valve C and A/T clutch pressure control solenoid valve D ON, lock-up starts. A/T clutch pressure control solenoid valve D applies and regulates hydraulic pressure to the lock-up control valve to control the amount of lock-up. The lock-up mechanism operates:

GHH342310Courtesy of HONDA, U.S.A., INC.