LEMON Manuals: Even more car manuals for everyone: 1960-2025
Home >> Acura >> 2017 >> ILX >> Repair and Diagnosis (Single Page) >> Accessories & Equipment >> Anti-Theft Systems >> Security System / Keyless Entry System - Testing & Troubleshooting (Except Hybrid) >> System Description >> Keyless Access - Components (2019 2020 2021 2022)
April 5, 2026: LEMON Manuals is launched! Read the announcement.

Keyless Access - Components (2019 2020 2021 2022)

Engine Start/Stop Switch 

Pressing the engine start/stop switch changes the vehicle mode to OFF (LOCK), ACCESSORY, ON, or START mode. The engine start/stop switch also includes an LF antenna. When operating the backup function, the engine start/stop switch receives the immobilizer signal from the remote and sends an immobilizer signal to the keyless access/TPMS control unit.

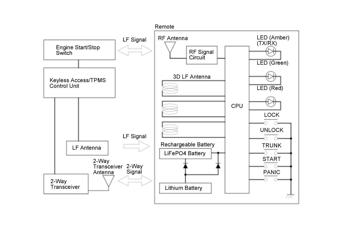
LF (Low Frequency) Antennas 

The front interior, rear interior, left/right-front LF antennas, and left/right-rear LF antennas send the signals to the remote inside and outside of the vehicle.

2-Way Transceiver and 2-Way Transceiver Antenna (With Remote Engine Start) 

The 2-way transceiver and 2-way transceiver antenna is located behind the gauge control module.

Door Touch Sensors and Outer Handle Lock Switches 

The door touch sensors and outer handle lock switches are built in the driver's and front passenger's door outer handles. To operate the door locks without the built-in key while carrying the remote, grip the door outer handle to unlock the doors and press the outer handle lock switch on the door outer handle to lock the doors.

Remote (Without Remote Engine Start) 

The remote is equipped with a keyless transmitter, and all the doors can be locked and unlocked by a lock/unlock button operation, even from a remote distance from the vehicle. When the lock button or unlock button is pressed, the keyless transmitter sends the applicable switch signal to the keyless access/TPMS control unit. After receiving authentication, the keyless access/TPMS control unit and the door lock/unlock signals are sent to the MICU through the B-CAN.

GHH474399Courtesy of HONDA, U.S.A., INC.

Bi-Directional Remote (With Remote Engine Start) 

The bi-directional remote transmitter uses long range and short range communication with the vehicle. Long range communication is used only for locking the doors and the remote engine start function. The bi-directional remote transmitter contains one coin cell battery and one rechargeable battery. The rechargeable battery is used for long-range operation and is recharged automatically from the coin cell battery. Three LEDs are used to indicate the status of the bi-directional remote transmitter and remote engine start system operation.

GHH474400Courtesy of HONDA, U.S.A., INC.

Keyless Buzzer 

The keyless buzzer located inside the rear bumper sounds when smart entry functions.