LEMON Manuals: Even more car manuals for everyone: 1960-2025
Home >> Acura >> 2017 >> ILX >> Repair and Diagnosis (Single Page) >> Accessories & Equipment >> Anti-Theft Systems >> Security System / Keyless Entry System - Testing & Troubleshooting (Except Hybrid) >> System Description >> Keyless Access - Control/Function (2019 2020 2021 2022)
April 5, 2026: LEMON Manuals is launched! Read the announcement.

Keyless Access - Control/Function (2019 2020 2021 2022)

Smart Entry Function 

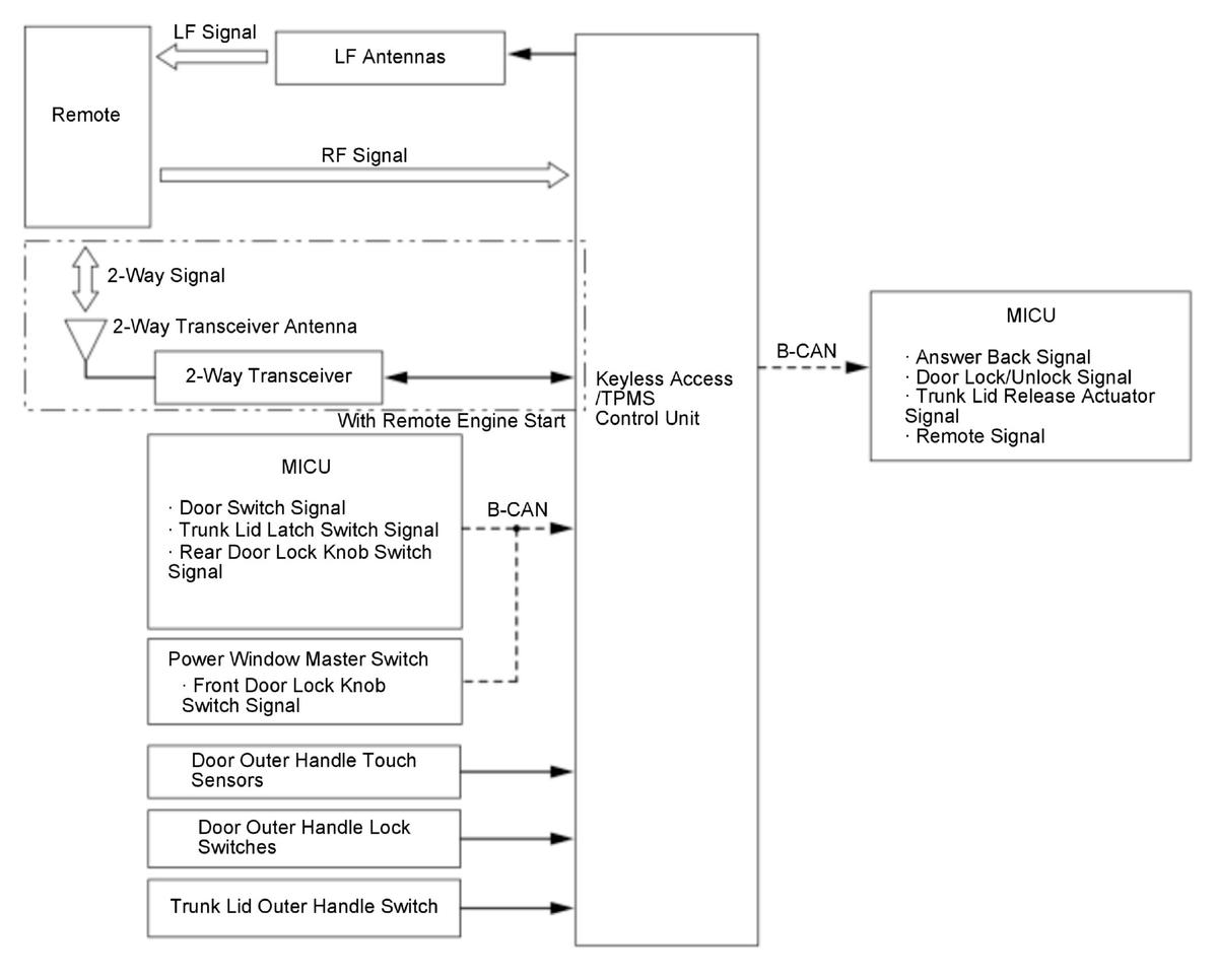
The keyless access/TPMS control unit detects the input signal of the door outer handle touch sensor or the door lock switch, and authenticates 2-way communication with the remote. Then the keyless access/TPMS control unit sends a door lock signal, door unlock signal, and an answer back signal to the MICU via B-CAN line.

GHH474407Courtesy of HONDA, U.S.A., INC.

Backup Communication Function 

When key authentication between the remote and the keyless access/TPMS control unit is not possible because of a system abnormality or a drop of the battery voltage of the remote, the immobilizer function can be canceled by pressing the engine start/stop switch button once and bringing the remote close to the engine start/stop switch while the engine start/stop switch indicator is flashing. This causes the immobilizer signal to be sent to the keyless access/TPMS control unit via the LF antenna of the engine start/stop switch.

GHH474408Courtesy of HONDA, U.S.A., INC.

Key Lockout Prevent Function 

The lockout prevent function observes the key switch signal input. If the input is "ON" (remote in the vehicle), the system will not lock the doors. If the driver manually locks and closes the doors with a remote in the vehicle (input ON), the MICU energizes the driver's door actuator and unlocks the driver's door. If the remote remains in the trunk area, the system will not lock the trunk lid.

GHH474409Courtesy of HONDA, U.S.A., INC.

Fault Diagnosis Function 

The system has a fault diagnosis function. If any malfunction occurs, the keyless access indicator comes on in the gauge control module.

Panic Function 

When you press the PANIC button on the remote, the keyless access/TPMS control unit sends a signal to the MICU via the B-CAN to sound the horn and activate the exterior lights.

Remote Search Function 

Determines if the remote is present inside the vehicle during some operation or function.Detects the door open or close with the vehicle in the ACCESSORY/ON mode situation. When the remote is taken out of the vehicle, outside buzzer will sound and multi-information display (MID) (Only when the vehicle in the ON mode) will show a warning.

Electric Steering Lock (With Electric Steering Lock) 

The electric steering lock control unit is built into the electric steering lock, and it controls the steering lock motor. When the remote code is identified, the electric steering lock control unit unlocks the steering lock by controlling the steering lock motor.

Lighting and indicator Function 

The keyless access/TPMS control unit controls the engine start/stop switch indicator, displays information in the multi-information display (MID), and illuminates the keyless access indicators in the gauge control module.

Registration Facility 

The keyless access/TPMS control unit can store up to 6 remotes with the HDS.

Client Emergency 

If you must stop the engine in an emergency situation, do either of the following:

Walk Away Auto Lock Function 

The walk away auto lock system detects where the remote is and locks all doors on the vehicle when all the doors are closed and the remote is outside of the vehicle and out of the range.To operate the walk away auto lock system, it is necessary to enter the auto lock mode.To enter the auto lock mode, all of the following conditions must be met:

The vehicle's buzzer beeps once to confirm that the auto lock mode is engaged.

When the remote is carried beyond 1.5 m (4.9 ft) from the vehicle and remains outside of this range for more than 2 seconds, the system engages and locks all of the doors. At that time, the keyless buzzer sounds and some exterior lights will flash. However, if the remote remains within 1.5 m (4.9 ft) from the vehicle for 30 seconds or more after entering the auto lock mode, the doors will automatically lock.

The system does not work under the following conditions:

The walk away auto lock system can be cancelled temporarily by using the customized settings. Refer to the owner's manual for more information.

Remote Engine Start System (With Remote Engine Start) 

Start the Engine 

The remote engine start feature is initiated by first pressing the lock button, then pressing and holding the "ENGINE" button within 5 seconds on the remote transmitter. An RF signal from the remote transmitter is received by the 2-way transceiver antenna, sent to the 2-way transceiver, which sends it to the keyless access/TPMS control unit, which then sends the request to start the engine to the PCM. At the same time, the keyless access/TPMS control unit authenticates the key for the immobilizer system. The PCM starts the engine and sends feedback to the keyless access/TPMS control unit indicating the status of the engine. The keyless access/TPMS control unit disables the headlights and windshield wipers via the B-CAN and an IG1 REM signal to the MICU. The keyless access/TPMS control unit also disables the power windows, door locks and the gauge control module illumination by sending a signal over the B-CAN to all related control units.

Answer Back 

The bi-directional remote transmitter uses 3 LEDs to provide feedback for remote engine starting. This feedback enables users to confirm the bi-directional remote transmitter button presses, whether the engine started or not, and whether the doors locked.