LEMON Manuals: Even more car manuals for everyone: 1960-2025
Home >> Acura >> 2017 >> RDX AWD >> Repair and Diagnosis (Single Page) >> Accessories & Equipment >> Communication Devices >> Integrated Control Systems - Testing & Troubleshooting >> Description >> Driving Position Memory System Description - System Diagram (2013-15)
April 5, 2026: LEMON Manuals is launched! Read the announcement.

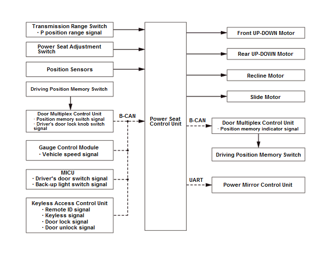
Driving Position Memory System Description - System Diagram (2013-15)

GHH75297Courtesy of HONDA, U.S.A., INC.