LEMON Manuals: Even more car manuals for everyone: 1960-2025
Home >> Acura >> 2017 >> RDX AWD >> Repair and Diagnosis (Single Page) >> Steering >> Power Steering >> Steering System - Testing & Troubleshooting >> Description >> EPS System Description - Motion Adaptive-EPS Control (2013-18)
April 5, 2026: LEMON Manuals is launched! Read the announcement.

EPS System Description - Motion Adaptive-EPS Control (2013-18)

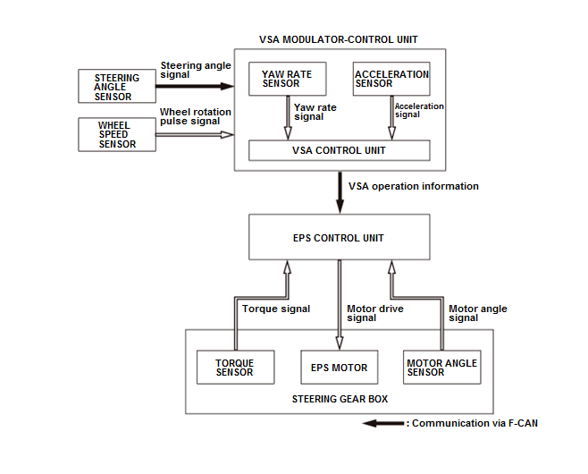
In addition to the normal EPS control, the EPS system performs the steering torque correction control for stabilizing the vehicle when the steering is unstable. This control is performed based on the data from the VSA control unit, the yaw rate-acceleration sensor (includes the VSA modulator-control unit), the steering angle sensor, and the PCM via the F-CAN communications. The motion adaptive EPS control is stopped in the event of failure in the VSA system.

GHH77547Courtesy of HONDA, U.S.A., INC.

The EPS system determines the state of the vehicle based on the data calculated by the VSA modulator control unit. When the system determines that the vehicle operations are abnormal, the EPS control unit calculates the correction current based on the vehicle operation and corrects the steering torque.

Motion Adaptive-EPS Control 

In case of driving through cross winds, it compensates for steering torque and enhances vehicle control.

GHH77548Courtesy of HONDA, U.S.A., INC.

When over steering or under steering occurs, it compensates for steering torque and enhances vehicle control.

GHH77549Courtesy of HONDA, U.S.A., INC.

While braking on an uneven road surface, it compensates for steering torque and enhances vehicle control.

GHH77550Courtesy of HONDA, U.S.A., INC.