LEMON Manuals: Even more car manuals for everyone: 1960-2025
Home >> Acura >> 2017 >> RLX Base >> Repair and Diagnosis >> Engine Performance >> Engine Control Systems >> Engine Control System / Engine Mechanical - Service Information (Except Hybrid) >> Removal And Installation >> Piston, Ring, Pin And Connecting Rod Removal and Installation (2014 2015 2016 2017) >> Removal
April 5, 2026: LEMON Manuals is launched! Read the announcement.

Piston, Ring, Pin And Connecting Rod Removal and Installation (2014 2015 2016 2017): Removal

  1. Cylinder Head - Remove

    Remove the cylinder head .

  2. Oil Pan - Remove

    Remove the oil pan .

  3. Oil Filter Base/Oil Cooler/Oil Filter Assembly - Remove
    GHH346073Courtesy of HONDA, U.S.A., INC.

    Remove the oil filter base/oil cooler/oil filter assembly.

  4. Engine Oil Strainer and Baffle Plate - Remove
    GHH346074Courtesy of HONDA, U.S.A., INC.

    Remove the oil strainer (A) and the baffle plate (B).

  5. Metal or Hard Carbon - Remove
    GHH346075Courtesy of HONDA, U.S.A., INC.

    If you can feel a ridge of metal or hard carbon around the top of any cylinder, remove it with a ridge reamer (A). Follow the reamer manufacturer's instructions. If the ridge is not removed, it may damage the piston as it's pushed out.

  6. Piston/Connecting Rod Assembly - Remove
    GHH346076GHH346077Courtesy of HONDA, U.S.A., INC.HONDA, U.S.A., INC.
    GHH346076GHH346077Courtesy of HONDA, U.S.A., INC.HONDA, U.S.A., INC.
    1. Remove the connecting rod caps after setting the connecting rod journal at bottom dead center (BDC) for each cylinder. Remove the piston/connecting rod assembly by pushing on the connecting rod. Take care not to damage the oil jets, the connecting rod journal, or the cylinder with the connecting rod.

    2. Remove the bearing from the rod cap. Keep all caps/bearings in order.

    3. Remove the upper bearing halves from the connecting rods, and set them aside with their respective caps.

    4. After removing a piston/connecting rod assembly, reinstall the rod cap on the rod.

    • Mark the cylinder number on the connecting rod and the connecting rod bearing cap to avoid mixing them up during reassembly.
    • The factory markings on the connecting rods do not indicate cylinder position.
  7. Piston Ring - Remove
    GHH346078Courtesy of HONDA, U.S.A., INC.
    1. Using a ring expander (A), remove the old piston rings (B).

    2. Clean all the ring grooves thoroughly with a squared-off broken ring, or a ring groove cleaner with a blade to fit the piston grooves. File down the blade, if necessary. The top ring and second ring grooves are 1.2 mm (0.047 in) wide, and the oil ring groove is 2.0 mm (0.079 in) wide. Do not use a wire brush to clean the ring grooves, or cut the ring grooves deeper with the cleaning tool.

    NOTE:  If the piston is to be separated from the connecting rod, do not install new rings yet.

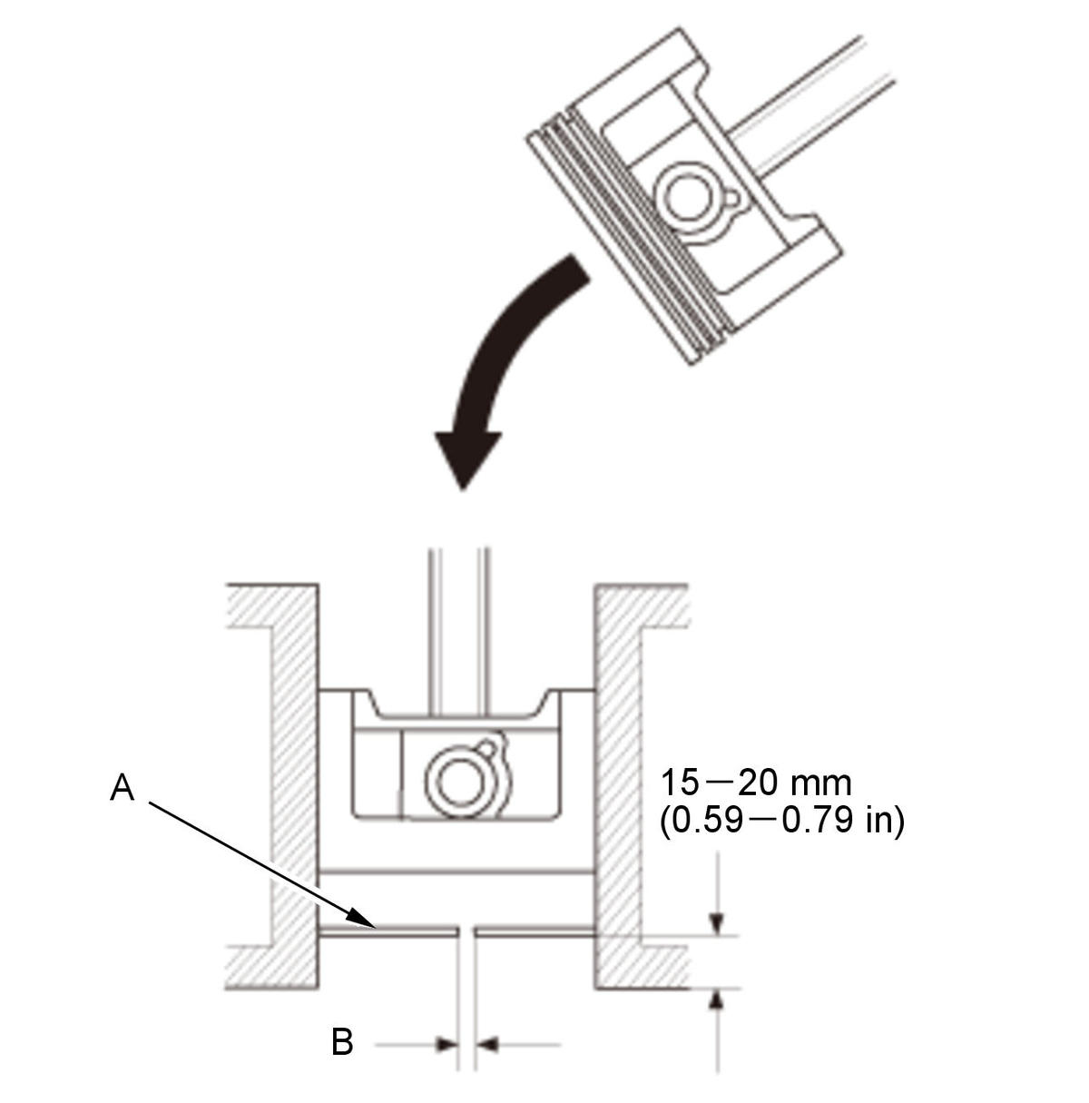
  8. Piston Ring End Gap - Inspect
    GHH346079Courtesy of HONDA, U.S.A., INC.
    1. Using a piston, push a new ring (A) into the cylinder bore 15-20 mm (0.59-0.79 in) from the bottom.

    2. Measure the piston ring end-gap (B) with a feeler gauge:

    Top Ring: 

    Second Ring: 

    Oil Ring: 

    Standard (New):  0.20-0.70 mm (0.0079-0.0276 in) 
    Service Limit:  0.80 mm (0.0315 in) 
    Standard (New):  0.40-0.55 mm (0.0157-0.0217 in) 
    Service Limit:  0.70 mm (0.0276 in) 
    Standard (New):  0.20-0.35 mm (0.0079-0.0138 in) 
    Service Limit:  0.60 mm (0.0236 in) 
    Piston Ring End-Gap 
  9. Piston Pin - Remove
    GHH346080Courtesy of HONDA, U.S.A., INC.
    1. Apply new engine oil to the piston pin snap rings (A) and turn them in the ring grooves until the end gaps are lined up with the cutouts in the piston pin bores (B).

    NOTE:  Take care not to damage the ring grooves.

    GHH346081Courtesy of HONDA, U.S.A., INC.
    2. Remove the snap rings (A) from both sides of each piston. Start at the cutout in the piston pin bore. Remove the snap rings carefully so they do not go flying or get lost. Wear eye protection.
    GHH346082Courtesy of HONDA, U.S.A., INC.
    3. Separately heat each piston and connecting rod assembly to about 158 deg.F (70 deg.C), then remove the piston pin.
  10. Piston Pin - Inspect
    GHH346083Courtesy of HONDA, U.S.A., INC.
    1. Measure the diameter of the piston pin.

    Piston Pin Diameter 

    Service Limit:  21.954 mm (0.86433 in) 
    Standard (New):  21.962-21.965 mm (0.86464-0.86476 in) 
    GHH346084Courtesy of HONDA, U.S.A., INC.
    2. Zero the gauge (A) to the piston pin diameter.

    3. Check the difference between the piston pin diameter and the piston pin hole diameter on the piston.

    Piston Pin-to-Piston Clearance 

    Standard (New):  -0.0050-0.0010 mm (-0.000197-0.000039 in) 
    Service Limit:  0.004 mm (0.00016 in) 
    GHH346085Courtesy of HONDA, U.S.A., INC.
    GHH346086Courtesy of HONDA, U.S.A., INC.
    4. Measure the piston pin-to-connecting rod clearance.

    Piston Pin-to-Connecting Rod Clearance 

    Standard (New):  0.005-0.014 mm (0.00020-0.00055 in) 
    Service Limit:  0.019 mm (0.00075 in)