LEMON Manuals: Even more car manuals for everyone: 1960-2025
Home >> Acura >> 2017 >> RLX Base >> Repair and Diagnosis >> Engine Performance >> Engine Control Systems >> Engine Control System / Engine Mechanical - Service, Testing & Troubleshooting (Except Hybrid) >> Removal, Installation And Inspection >> Crankshaft and CKP Pulse Plate (2014 2015 2016 2017) >> Installation
April 5, 2026: LEMON Manuals is launched! Read the announcement.

Crankshaft and CKP Pulse Plate (2014 2015 2016 2017): Installation

  1. Main Bearing Clearance - Check

    Check the main bearing clearance with a plastigage .

  2. CKP Pulse Plate - Install
    Fig 1: CKP Pulse Plate With Torque Specifications
    GHH345579Courtesy of HONDA, U.S.A., INC.

    Install the CKP pulse plate (A).

    NOTE:
    • Be careful not to damage the journals and the CKP pulse plate.
    • After installing the CKP pulse plate, be sure to do the CKP pattern clear/CKP pattern learn procedure.
  3. Crankshaft - Install
    GHH345580Courtesy of HONDA, U.S.A., INC.
    1. Lower the crankshaft (A) into the engine block, being careful not to damage the journals and the CKP pulse plate (B).
    GHH345581Courtesy of HONDA, U.S.A., INC.
    2. Apply new engine oil to the side with the thrust washer groove. Install the thrust washers (A) in the No. 3 journal.
  4. Main Bearing Cap - Loosely Install
    GHH345582Courtesy of HONDA, U.S.A., INC.
    1. Install the main bearings (A) and the main bearing caps (B) with the arrow (C) facing the timing belt side of the engine block.

    2. Apply new engine oil to the bolt threads and flanges, then loosely install the bearing cap bolts (D) and the bearing cap side bolts (E).

    3. Set the crankshaft to bottom dead center (BDC) for the cylinder.

  5. Connecting Rod Bearing Clearance - Check

    Check the connecting rod bearing clearance with a plastigage .

  6. Piston/Connecting Rod Assembly - Install

    Install the piston/connecting rod assembly .

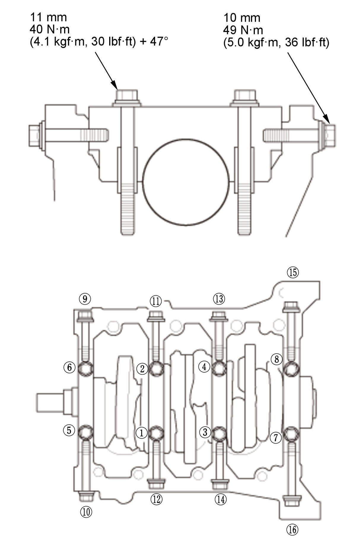
  7. Main Bearing Cap Bolt - Tighten
    Fig 2: Main Bearing Cap & Side Bolts Tightening Sequence With Torque Specifications
    GHH345583Courtesy of HONDA, U.S.A., INC.
    1. Tighten the main bearing cap bolts, then tighten the main bearing cap side bolts to the specified torque in the sequence as shown. Repeat the torque sequence again to ensure the bolts are properly torqued.

    2. Remove all of the old liquid gasket from the engine block end cover mating surfaces, the bolts, and the bolt holes.

    3. Clean and dry the engine block end cover mating surfaces and the crankshaft oil seal housing.

    4. Apply a light coat of new engine oil to the lip of the crankshaft oil seal.

  8. Crankshaft Oil Seal - Install (Engine Block End Cover)
    GHH345584Courtesy of HONDA, U.S.A., INC.

    Using the driver handle, 15 x 135L and the oil seal driver attachment, 106 mm, drive in the new crankshaft oil seal (A) until the oil seal driver attachment bottoms on the engine block end cover.

  9. Engine Block End Cover - Install
    GHH345585Courtesy of HONDA, U.S.A., INC.
    1. Apply liquid gasket (P/N 08717-0004, 08718-0003, 08718-0004, or 08718-0009) to the engine block mating surface of the engine block end cover and to the inside edge of the threaded bolt holes. Install the component within 5 minutes of applying the liquid gasket.
     
    NOTE:
    • Apply a 2.5 mm (0.098 in) diameter bead of liquid gasket along the broken line (A).
    • If you apply liquid gasket P/N 08718-0012, the component must be installed within 4 minutes.
    • If too much time has passed after applying the liquid gasket, remove the old liquid gasket and residue, then reapply the new liquid gasket.
    Fig 3: Engine Block End Cover With Torque Specifications
    GHH345586Courtesy of HONDA, U.S.A., INC.
    2. Install the dowel pins (A), a new O-ring (B), and the engine block end cover (C) on the engine block.
     
    NOTE:
    • Wait at least 30 minutes before filling the engine with oil.
    • Do not run the engine for at least 3 hours after installing the engine block end cover.

    3. Clean the excess oil off the crankshaft, and check that the oil seal lip is not distorted.

  10. Crankshaft Oil Seal - Install (Oil Pump)

    Install a new crankshaft oil seal in the oil pump .

  11. Oil Pump - Install
    GHH345587Courtesy of HONDA, U.S.A., INC.
    1. Apply liquid gasket (P/N 08717-0004, 08718-0003, 08718-0004, or 08718-0009) to the engine block mating surface of the oil pump and to the inside edge of the threaded bolt holes. Install the component within 5 minutes of applying the liquid gasket.
     
    NOTE:
    • Apply a 2.5 mm (0.098 in) diameter bead of liquid gasket along the broken line (A).
    • If you apply liquid gasket P/N 08718-0012, the component must be installed within 4 minutes.
    • If too much time has passed after applying the liquid gasket, remove the old liquid gasket and residue, then reapply the new liquid gasket.
    Fig 4: Oil Pump With Torque Specifications
    GHH345588Courtesy of HONDA, U.S.A., INC.
    2. Apply a light coat of new engine oil to the lip of the crankshaft oil seal, and to the new O-ring (A).

    3. Install the dowel pins (B), then align the inner rotor with the crankshaft, and install the oil pump (C).

    NOTE:
    • Wait at least 30 minutes before filling the engine with oil.
    • Do not run the engine for at least 3 hours after installing the engine block end cover and the oil pump.

    4. Clean the excess oil off the crankshaft, and check that the oil seal lip is not distorted.

  12. Engine Oil Strainer and Baffle Plate - Install
    Fig 5: Baffle Plate & Oil Strainer With Torque Specifications
    GHH345589Courtesy of HONDA, U.S.A., INC.
    1. Install the baffle plate (A).

    2. Install the oil strainer (B) with a new O-ring (C).

  13. Oil Filter Base/Oil Cooler/Oil Filter Assembly - Install
    Fig 6: Oil Filter Base / Oil Cooler / Oil Filter Assembly With Torque Specifications
    GHH345590Courtesy of HONDA, U.S.A., INC.

    Install the oil filter base/oil cooler/oil filter assembly (A) with a new O-ring (B).

  14. Oil Pan - Install

    Install the oil pan .

  15. Timing Belt Drive Pulley - Install

    Install the timing belt drive pulley from the crankshaft .

  16. Cylinder Head - Install

    Install the cylinder head .