LEMON Manuals: Even more car manuals for everyone: 1960-2025
Home >> Acura >> 2019 >> RDX Technology, AWD >> Repair and Diagnosis (Single Page) >> Body & Frame >> Windows >> Electrical Component Locator And Service Information - Rear Window Area Components >> Exploded View >> Rear Window Area >> Repair Procedure >> Procedure
April 5, 2026: LEMON Manuals is launched! Read the announcement.

Repair Procedure: Procedure

  1. A.
    GHH340216Courtesy of HONDA, U.S.A., INC.

    ■ Sub-Procedure 

    • Removal 

    • Refer to the figure.
  2. B.
    GHH340217Courtesy of HONDA, U.S.A., INC.

    ■ Sub-Procedure 

    • Removal 

    • Refer to the figure.

    ■ After Installation 

  3. C.

    ■ Key Information 

    Do the following before starting your work.

    Remove: 

    ■ Sub-Procedure 

    GHH340218Courtesy of HONDA, U.S.A., INC.

    • Installation 

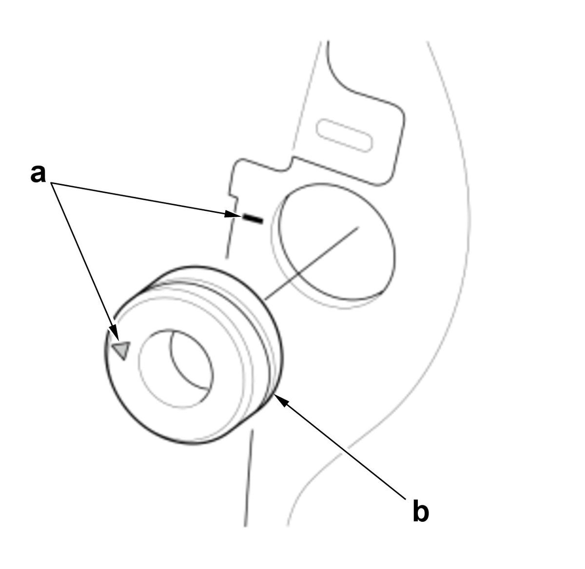
    1. Before reinstalling the rear window wiper arm, connect the rear window wiper motor connector, and turn the rear window wiper switch ON, then OFF to return the rear window wiper motor shaft to the park position.

    2. Align the position marks (a) when installing the seal (b).

    ■ After Installation 

  4. D.

    ■ Key Information 

    Do the following before starting your work.

    Remove: 

    ■ Sub-Procedure 

    • Removal 

    1. Disconnect the connectors (a). (Figure 1)

    Figure 1 

    GHH340219Courtesy of HONDA, U.S.A., INC.

    2. Apply protective tape (b) along the inside and outside edges of the tailgate. (Figure 2)

    Figure 2 (Cutting positions) 

    GHH340220Courtesy of HONDA, U.S.A., INC.

    3. Carefully cut through the adhesive (c) around the entire rear window (d) with a utility knife. (Figure 2)

    4. Apply protective tape (e) around the rear window. (Figure 3)

    Figure 3 (Cutting positions) 

    GHH340221Courtesy of HONDA, U.S.A., INC.

    5. With an assistant on the outside, pull the piano wire (f) back and forth in a sawing motion. Hold the piano wire as close to the rear window (g) as possible to prevent damage to the tailgate, and carefully cut through the adhesive (h) around the entire rear window. (Figure 3)

    6. Carefully remove the rear window.

    7. Scrape the original adhesive smooth to a thickness of about 1 mm (0.04 in) - 2 mm (0.08 in) on the bonding surface around the entire rear window opening flange with a putty knife.

    NOTE:
    • Do not scrape down to the painted surface of the tailgate; damaged paint will interfere with proper bonding.
    • Remove the fasteners from the tailgate.

    • Installation 

    1. Clean the body bonding surface with a shop towel dampened with isopropyl alcohol. After cleaning, do not allow oil, grease, and water to contact on the clean surface.

    Figure 4 

    GHH340222Courtesy of HONDA, U.S.A., INC.

    2. If you are reinstalling the original rear window, scrape off the original adhesive, the spacer, and the rubber dams from the rear window with a putty knife. Clean the bonding surface on the inside face and the edge of the rear window with isopropyl alcohol. Make sure the bonding surface is kept free of water, oil, and grease.

    3. Install the new spacer (i) and the rubber dams (k) with the adhesive tape on the inside face of the rear window (m) as shown. (Figure 4)

    NOTE:
    • Before installing the spacer and the rubber dams, apply glass primer to the area where the adhesive tape will be applied.
    • Be careful not to touch the windshield where the adhesive will be applied.
    • Make sure the spacer and the rubber dams line up with the alignment marks (n). (Figure 4)

    4. Cut the rubber dams (o, p) to the correct length according to the table. (Figure 5)

    Rubber Dam Length (Figure 5) 

    Position Specifications
    o 1100 mm (43.31 in)
    p 278 mm (10.94 in)

    Figure 5 

    GHH340223Courtesy of HONDA, U.S.A., INC.

    5. Install the rubber dams (o, p) with adhesive tape on the windshield (q) as shown. (Figure 5)

    NOTE:
    • Before installing the rubber dams, apply primer to the area where the adhesive tape will be applied.
    • Be careful not to touch the rear window where the adhesive will be applied.
    • Make sure the rubber dams line up with the alignment marks (r). (Figure 5)
    • Make sure there are no gaps between each end of the rubber dams.

    Adhesive Specifications (Figure 5) 

    Position Specifications
    s 4 mm (0.16 in)

    Over Flow Allowed Area (Figure 5) 

    Position Specifications
    t 25 mm (0.98 in)

    6. Set the rear window (u) in the opening, and center it. Make alignment marks (v) across the rear window and the body with a grease pencil at the four points shown. (Figure 6)

    • Be careful not to touch the rear window where the adhesive will be applied.

    Figure 6 

    GHH340224Courtesy of HONDA, U.S.A., INC.

    7. Remove the rear window.

    8. Apply a light coat of primer as shown, then lightly wipe it off with gauze or cheesecloth.

    NOTE:
    • Apply the primer to both side areas of the rear window (w) using the printed dots (x) on the rear window as a guide. (Figure 7)
    • Do not apply body primer to the rear window, and do not mix up the body and glass primer applicators.
    • Never touch the primed surfaces with your hands. If you do, the adhesive may not bond to the rear window properly, causing a leak after the rear window is installed.
    • Keep water, dust, and abrasive materials away from primed surfaces.

    Adhesive Specifications (Figure 7) 

    Position Specifications
    y Apply primer here.
    z 6 mm (0.24 in)
    aa 12 mm (0.47 in)
    ab 4.2 mm (0.165 in)
    ac 8.5 mm (0.335 in)
    ad 22.2 mm (0.874 in)

    Figure 7 

    GHH340225Courtesy of HONDA, U.S.A., INC.

    9. Cut a "V" in the end of the nozzle (ae) on the adhesive cartridge as shown. (Figure 8)

    Nozzle Details (Figure 8) 

    Position Specifications
    af 13 mm (0.51 in)
    ag 2 mm (0.08 in)
    ah 8 mm (0.31 in)

    Figure 8 

    GHH340226Courtesy of HONDA, U.S.A., INC.

    10. Put the cartridge in a caulking gun, and run a continuous bead of adhesive (ai) around the edge of the rear window (ak) as shown. (Figure 9)

    • Apply the adhesive to both side areas of the rear window using the printed dots (am) on the rear window as a guide. (Figure 9)
    • Apply the adhesive within 30 minutes after applying the glass primer.
    • Make a slightly thicker bead at each corner.

    Adhesive Specifications (Figure 9) 

    Position Specifications
    ai Apply adhesive here.
    an 2 mm (0.08 in)
    ao 8 mm (0.31 in)
    ap 13 mm (0.51 in)
    aq 6.2 mm (0.244 in)
    ar 10.5 mm (0.413 in)
    as 24.2 mm (0.953 in)

    Figure 9 

    GHH340227Courtesy of HONDA, U.S.A., INC.

    11. Hold the rear window with suction cups over the opening, align it with the alignment marks you made, and set it down on the adhesive. Lightly push on the rear window until its edges are fully seated on the adhesive all the way around.

    NOTE: Do not open or close any of the doors for about an hour until the adhesive is dry.

    12. Remove the excess adhesive with a putty knife or a shop towel dampened with isopropyl alcohol.

    13. Wait at least an hour for the adhesive to dry, then spray water over the rear window and check for leaks. Mark the leaking areas, let the rear window dry, then seal with sealant. Let the vehicle stand for at least 4 hours after rear window installation. If the vehicle has to be used within the first 4 hours, it must be driven slowly.

    14. Advise the client not to do the following things for 2 to 3 days:

    • Slam the doors with all the windows rolled up.
    • Twist the body excessively (such as when going in and out of driveways at an angle or driving over rough, uneven roads).

    15. Connect the connectors (at). (Figure 10)

    Figure 10 

    GHH340228Courtesy of HONDA, U.S.A., INC.

    ■ After Installation