LEMON Manuals: Even more car manuals for everyone: 1960-2025
Home >> Acura >> 2019 >> RDX Technology, AWD >> Repair and Diagnosis (Single Page) >> Drivelines & Axles >> Wheel Hubs >> Front Driveshaft Components - Service Information >> Exploded View >> Front Driveshaft Components >> Repair Procedure >> Procedure
April 5, 2026: LEMON Manuals is launched! Read the announcement.

Repair Procedure: Procedure

  1. A.

    ■ Sub-Procedure 

    G00574679Courtesy of AMERICAN HONDA MOTOR CO., INC.

    Be careful not to damage the boot.

    • Removal 

    1. Refer to the figure 1.

    Specifications (Figure 1) 

    Specification
    a Same Level

    Figure 1 

    GHH555124Courtesy of HONDA, U.S.A., INC.

    2. Refer to the figure 2.

    G00574679Courtesy of AMERICAN HONDA MOTOR CO., INC.
    • Securely clamp the driveshaft in a bench vise with a shop towel wrapped around the driveshaft.
    • Check inside of the outboard joint and on the serrations for wear and tear.

    Tool Details (Figure 2) 

    Name
    b 5/8"-18 UNF slide hammer (Commercially Available)

    Figure 2 

    GHH555125Courtesy of HONDA, U.S.A., INC.

    • Installation 

    G00574679Courtesy of AMERICAN HONDA MOTOR CO., INC.

    If you are installing a new outboard joint, the grease is already installed.

    '19-21 Lubricant Specifications 

    Specified Amount
    Without AWD 190 - 210 g (6.70 - 7.41 oz)
    With AWD 150 - 170 g (5.29 - 6.00 oz)

    '22-23 Lubricant Specifications 

    Specified Amount
    150 - 170 g (5.29 - 6.00 oz)

    1. Inject grease (c). (Figure 3)

    Lubricant Specifications (Figure 3) 

    Position Type Amount
    d Grease included in the new outboard boot set Enough grease so that it seeps out from the gap around the bearing

    Figure 3 

    GHH555126Courtesy of HONDA, U.S.A., INC.

    2. Insert the driveshaft (e) into the outboard joint (f) until the stop ring (g) is close to the joint. (Figure 4)

    Figure 4 

    GHH555127Courtesy of HONDA, U.S.A., INC.

    3. To completely seat the outboard joint, pick up the driveshaft and the joint, and tap or hit the assembly onto a hard surface.

    Specifications (Figure 5) 

    Standard Value
    h About 10 cm (3.9 in)
    G00574679Courtesy of AMERICAN HONDA MOTOR CO., INC.
    • Do not use a hammer, as excessive force may damage the driveshaft.
    • Be careful not to damage the threaded section (i) of the outboard joint. (Figure 5)
    • To avoid driveshaft and vehicle damage, the shaft must be all the way into the outboard joint to ensure the stop ring is properly seated.

    Specifications (Figure 5) 

    Specification
    k Same Level

    Figure 5 

    GHH555128Courtesy of HONDA, U.S.A., INC.

    4. Pack the grease.

    Lubricant Specifications (Figure 6) 

    Position Type Amount
    m Grease included in the new outboard boot set Remaining grease

    Figure 6 

    GHH555129Courtesy of HONDA, U.S.A., INC.
  2. B.

    ■ Sub-Procedure 

    G00574679Courtesy of AMERICAN HONDA MOTOR CO., INC.

    Be careful not to damage the boot.

    Figure 1 (Ear Clamp Type) 

    GHH555130Courtesy of HONDA, U.S.A., INC.

    • Removal 

    • Refer to the figure 1.

    Figure 2 (Low Profile Type) 

    GHH555131Courtesy of HONDA, U.S.A., INC.
    • Refer to the figure 2.

    Tool Details (Figure 2) 

    Name
    a CV Boot Clamp Pliers (30500) (Commercially Available)

    Figure 3 (Ear Clamp Type) 

    GHH555132Courtesy of HONDA, U.S.A., INC.

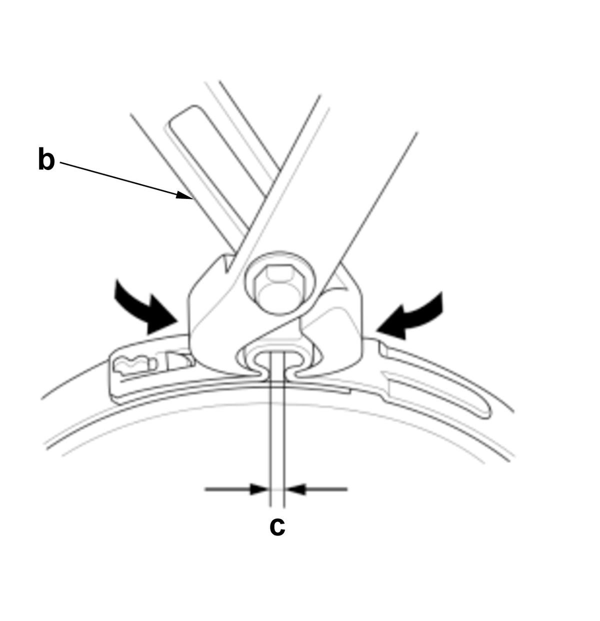
    • Installation 

    • Refer to the figure 3.

    Tool Details (Figure 3) 

    Name
    b Boot band clamp tool (Kent-Moore J-35910 or equivalent) (Commercially Available)
    • Adjust the clearance (c) to the specifications. (Figure 3)

    Ear Clamp Details (Figure 3) 

    Standard Value
    c 1.0 - 4.0 mm (0.039 - 0.157 in)
    G00574679Courtesy of AMERICAN HONDA MOTOR CO., INC.
    • If the clearance is not within the specifications, close the ear portion of the band tighter.
    • Replace the ear clamp band when the ear portion exceeds the prescribed clearance.

    Figure 4 (Low Profile Type) 

    GHH555133Courtesy of HONDA, U.S.A., INC.
    • Refer to the figure 4.

    Tool Details (Figure 4) 

    Name
    d CV Boot Clamp Pliers (30500) (Commercially Available)
  3. C.

    ■ Sub-Procedure 

    G00574679Courtesy of AMERICAN HONDA MOTOR CO., INC.
    • Be careful not to damage the boot.
    • Check the boot for cracks and damage. If any damage is found, replace the boot.
    • Be careful not to get grease on the boot attachment grooves.
    • Wrap the splines on the driveshaft with vinyl tape to prevent damaging the boot.

    Figure 1 

    GHH555134Courtesy of HONDA, U.S.A., INC.

    • Removal 

    • Refer to the figure 1.

    Figure 2 

    GHH555135Courtesy of HONDA, U.S.A., INC.

    • Installation 

    1. Refer to the figure 2.

    G00574679Courtesy of AMERICAN HONDA MOTOR CO., INC.

    Ear clamp band: install the ear clamp band with the boot to prevent damaging the band.

    Figure 3 

    GHH555136Courtesy of HONDA, U.S.A., INC.

    2. After installing the inboard joint and the outboard joint, fit the boot ends onto the driveshaft and the joints.

    Specifications (Figure 3) 

    Position Alignment
    a Bulge of Boots Groove of Joints
    b Bulge of Boots Groove of Driveshaft
    G00574679Courtesy of AMERICAN HONDA MOTOR CO., INC.

    Bleed any excess air from the boot by inserting a flat-tipped screwdriver between the boot and the joint.

    ■ After Installation 

  4. D.

    ■ Sub-Procedure 

    GHH555137Courtesy of HONDA, U.S.A., INC.

    • Installation 

    • Make sure to check the size of a new stop ring.

    '19-21 Specifications 

    Standard Value
    a Without AWD 32.0 mm (1.260 in)
    With AWD 31.2 mm (1.228 in)
    b 2.0 mm (0.079 in)

    '22-23 Specifications 

    Standard Value
    a 31.2 mm (1.228 in)
    b 2.0 mm (0.079 in)
  5. E.

    ■ Sub-Procedure 

    GHH555138Courtesy of HONDA, U.S.A., INC.

    • Removal 

    • Before removing the spider/roller, make marks (a).

    Specifications 

    Position Object
    b Spider/Roller
    c Driveshaft
    G00574679Courtesy of AMERICAN HONDA MOTOR CO., INC.

    If necessary, use a commercially available bearing puller while being careful not to damage the spider/roller.

    • Installation 

    G00574679Courtesy of AMERICAN HONDA MOTOR CO., INC.

    Align the marks you made on the spider/roller and the driveshaft.

  6. F.

    ■ Sub-Procedure 

    Figure 1 

    GHH555139Courtesy of HONDA, U.S.A., INC.

    • Removal 

    • Make marks (a). (Figure 1)

    Specifications (Figure 1) 

    Position Object
    b Rollers
    c Inboard Joint
    G00574679Courtesy of AMERICAN HONDA MOTOR CO., INC.
    • Do not engrave or scribe any marks on the rolling surface.
    • Be careful not to drop the rollers when separating them from the inboard joint.
    • Check inside of the inboard joint and the serrations for wear and tear.

    Figure 2 

    GHH555140Courtesy of HONDA, U.S.A., INC.

    • Installation 

    • Pack the grease.

    Lubricant Specifications (Figure 2) 

    Position Type
    d Grease included in the new inboard boot set

    Lubricant Specifications 

    Specified Amount
    Left side of the vehicle 215 - 235 g (7.58 - 8.29 oz)
    Right side of the vehicle 200 - 220 g (7.05 - 7.76 oz)
    G00574679Courtesy of AMERICAN HONDA MOTOR CO., INC.
    • Hold the driveshaft so the inboard joint is pointing up to prevent it from falling off.
    • Align the marks you made on the inboard joint and the rollers. (Figure 1)