LEMON Manuals: Even more car manuals for everyone: 1960-2025
Home >> Acura >> 2019 >> RDX Technology, AWD >> Repair and Diagnosis (Single Page) >> Electrical >> Component Locations >> Electrical Component Locator And Service Information - Engine Block/Crankshaft Area Components >> Exploded View >> Engine Block/Crankshaft Area >> Repair Procedure >> Procedure
April 5, 2026: LEMON Manuals is launched! Read the announcement.

Repair Procedure: Procedure

  1. A.

    ■ Key Information 

    Do the following before starting your work.

    Remove: 

    ■ Sub-Procedure 

    GHH554599Courtesy of HONDA, U.S.A., INC.

    • Installation 

    • Make sure the direction of the sensor connector (a) as shown.
  2. B.

    ■ Sub-Procedure 

    • Installation 

    NOTE: Install new coolant separator A/B in the engine block whenever the engine block is replaced.
  3. C.

    ■ Key Information 

    Do the following before starting your work.

    Remove: 

    ■ After Installation 

  4. D.

    ■ Key Information 

    Do the following before starting your work.

    Remove: 

  5. E.

    ■ Key Information 

    Do the following before starting your work.

    Remove: 

    ■ Sub-Procedure 

    • Removal 

    NOTE: Be careful not to damage the crankshaft and the engine block.
    GHH554600Courtesy of HONDA, U.S.A., INC.

    • Installation 

    • Clean and dry the oil seal housing.

    Lubricant Specifications 

    Application Position Type
    Lip of the oil seal Engine Oil

    Installation Depth 

    Specifications
    a: 0.2-1.2 mm (0.008-0.047 in)
    • Clean the excess oil off the crankshaft, and check that the oil seal lip is not distorted.
  6. F.

    ■ Key Information 

    Do the following before starting your work.

    Remove: 

    ■ Sub-Procedure 

    Figure 1 

    GHH554601Courtesy of HONDA, U.S.A., INC.

    • Removal 

    1. Remove the bolts in the sequence shown. (Figure 1)

    Figure 2 

    GHH554602Courtesy of HONDA, U.S.A., INC.

    2. Remove the bolts. To prevent warpage, loosen the bolts in sequence 1/3 turn at a time; repeat the sequence until all bolts are loosened. (Figure 2)

    Figure 3 

    GHH554603Courtesy of HONDA, U.S.A., INC.

    3. Using a flat blade screwdriver, separate the lower block from the engine block in the places shown. (Figure 3)4. Remove the lower block and the bearings.

    NOTE: Keep all the bearings in order.

    Figure 4 

    GHH554604Courtesy of HONDA, U.S.A., INC.
    GHH554605Courtesy of HONDA, U.S.A., INC.

    • Installation 

    1. Remove all of the old gasket from the mating surfaces of each part and clean it.

    Liquid Gasket Specifications (Figure 4) 

    Application Position Type Diameter
    a Liquid Gasket (P/N 08718-0003, 08718-0004, or 08718- 0009) b: 3.5 mm (0.138 in)
    NOTE:
    • Install the component within 5 minutes of applying the liquid gasket.
    • If too much time has passed after applying the liquid gasket, remove the old liquid gasket and residue, then reapply new liquid gasket.
    • Wait at least 30 minutes before filling the engine with oil.
    • Do not run the engine for at least 3 hours after installing the parts.

    Figure 5 

    GHH554606Courtesy of HONDA, U.S.A., INC.

    Figure 6 

    GHH554607Courtesy of HONDA, U.S.A., INC.

    2. Tighten the bolts, in sequence. (Figure 5)

    Lubricant Specifications 

    Application Position Type
    • Threads
    • Washer
    Engine Oil

    Tightening Procedure (Figure 6) 

    Step Specifications
    1 35 N.m (26 lbf.ft)
    Step Specifications
    2 c: 41°

    Figure 7 

    GHH554608Courtesy of HONDA, U.S.A., INC.

    3. Tighten the bolts, in sequence, to the specified torque. (Figure 7)

    ■ After Installation 

  7. G.
    NOTE: Keep all removed parts in order, and install them of the original position when installing.

    ■ Key Information 

    Do the following before starting your work.

    Remove: 

    • Crankshaft

    ■ Sub-Procedure 

    Figure 1 

    GHH554609Courtesy of HONDA, U.S.A., INC.

    Figure 2 

    GHH554610Courtesy of HONDA, U.S.A., INC.

    • Removal 

    NOTE:
    • If you can feel a ridge of metal or hard carbon around the top of each cylinder, remove it with a ridge reamer (a). Follow the reamer manufacturer's instructions. If the ridge is not removed, it may damage the piston as it is pushed out. (Figure 1)
    • Take care not to damage the cylinder with the connecting rod. (Figure 2)
    • Mark each piston/connecting rod assembly with its cylinder number to make sure they are reinstalled in the original order.
    • The existing number on the connecting rod does not indicate its position in the engine, it indicates the rod bore size.
    • Keep all connecting rod bearings in order.

    Figure 3 

    GHH554611Courtesy of HONDA, U.S.A., INC.

    • Installation 

    1. Check the connecting rod bearing is securely in place.

    Lubricant Specifications 

    Application Position Type
    • Piston
    • Inside of Ring Compressor
    • Cylinder Bore
    Engine Oil

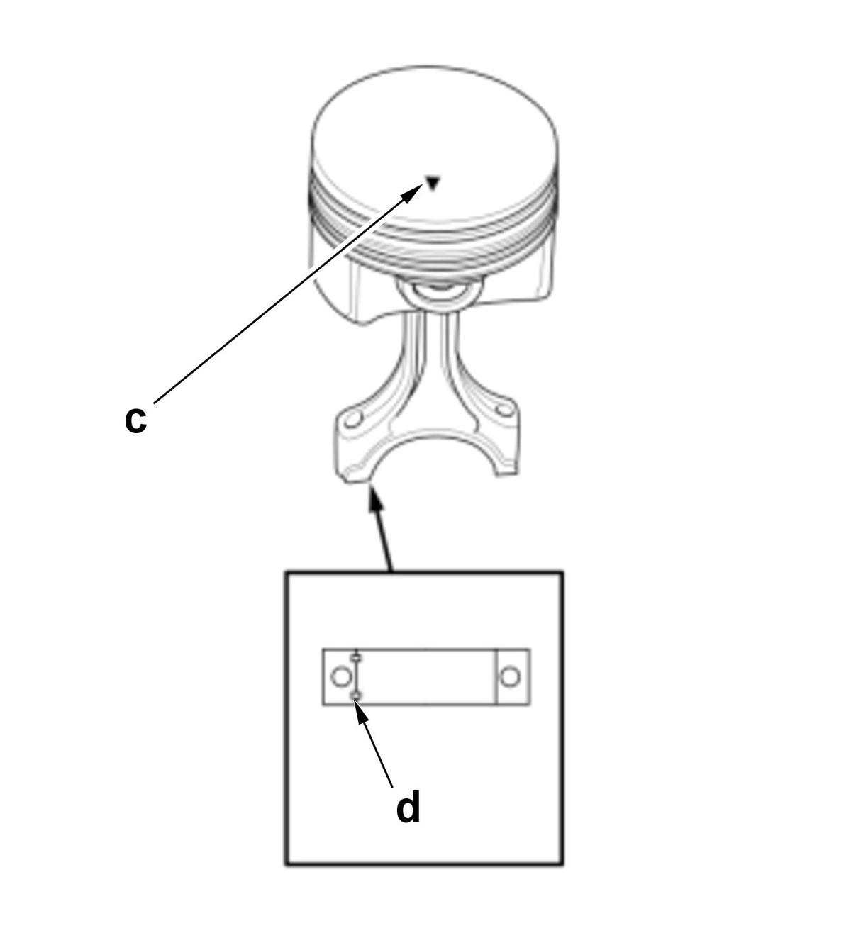
    2. Position the piston/rod assembly with the arrow (b) facing the cam chain side of the engine block. (Figure 3)

    Figure 4 

    GHH554612Courtesy of HONDA, U.S.A., INC.

    3. Push down on the ring compressor (c) to prevent the rings from expanding before entering the cylinder bore. (Figure 4)4. Stop after the ring compressor pops free, and check the connecting rod-to-rod journal alignment before pushing the piston into place.

  8. H.

    ■ Key Information 

    Do the following before starting your work.

    Remove: 

    ■ Sub-Procedure 

    NOTE:
    • Keep all removed parts in order, and install them of the original position when installing.
    • Be careful not to damage the journals and the CKP pulse plate.
    • Be sure to install the lower block when removing/installing the connecting rod cap.

    • Removal 

    • Remove the connecting rod cap and bearing half.

    Figure 1 

    GHH554613Courtesy of HONDA, U.S.A., INC.

    • Installation 

    1. Adjust the main bearing . (if necessary)

    2. Install the crankshaft.

    Lubricant Specifications 

    Application Position Type
    • Main Bearings
    • Connecting Rod Bearings
    Engine Oil

    3. Install the washer (a) as shown. (Figure 1)

    Lubricant Specifications 

    Application Position Type
    Washer Surfaces Engine Oil

    Figure 2 

    GHH554614Courtesy of HONDA, U.S.A., INC.

    Figure 3 

    GHH554615Courtesy of HONDA, U.S.A., INC.

    4. Adjust the connecting rod bearing . (if necessary)

    5. Install the connecting rod cap. Line up the mark (b) on the connecting rod and the connecting rod cap. (Figure 2)

    Lubricant Specifications 

    Application Position Type
    • Threads
    • Flange
    Engine Oil

    Tightening Procedure (Figure 3) 

    Step Specifications
    1 5.0 N.m (3.7 lbf.ft)
    2 39 N.m (29 lbf.ft)
    3 c: 120°
    NOTE: Remove the connecting rod bolt if you tightened it beyond the specified angle, and go back to step 1 of the tightening procedure. Do not loosen it back to the specified angle.

    6. Inspect the connecting rod and crankshaft end play - Refer to: Connecting Rod and Crankshaft End Play Inspection or Piston, Ring, Pin, and Connecting Rod Inspection

    (if necessary)

    ■ After Installation 

  9. I.

    ■ Sub-Procedure 

    NOTE: Be careful not to damage the CKP pulse plate.

    • Installation 

    Lubricant Specifications 

    Application Position Type
    • Bolt Threads
    • Bolt Flange
    Engine Oil

    ■ After Installation 

  10. J.

    ■ Sub-Procedure 

    NOTE: Keep all removed parts in order, and install them of the original position when installing.

    Figure 1 

    GHH554616Courtesy of HONDA, U.S.A., INC.

    • Removal 

    • Using a ring expander. (Figure 1)

    Figure 2 

    GHH554617Courtesy of HONDA, U.S.A., INC.

    • Installation 

    • Clean all ring grooves thoroughly with a squared-off broken ring or a ring groove cleaner with a blade to fit the piston grooves. File down a blade if necessary. Do not use a wire brush to clean the ring grooves, or cut the ring grooves deeper with the cleaning tools.
    • If necessary, inspect the piston ring end gap - Refer to: Piston, Ring, Pin, and Connecting Rod Inspection or Block and Piston Inspection .
    NOTE: If the piston is to be separated from the connecting rod, do not install new rings yet.

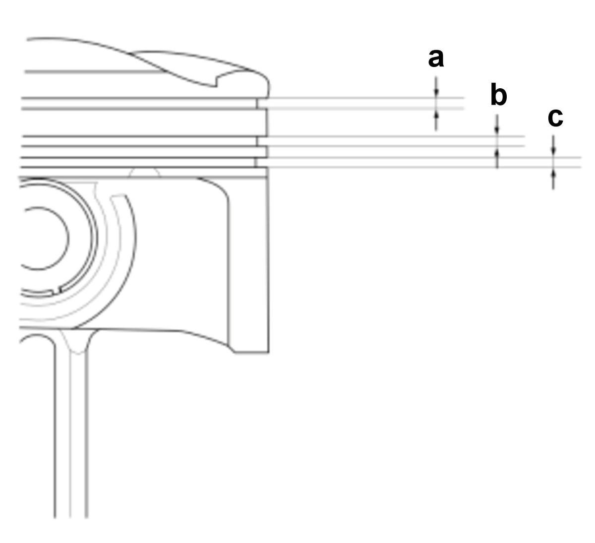
    Ring Groove Specifications (Figure 2) 

    Position Specifications
    a 1.5 mm (0.059 in)
    b 1.0 mm (0.039 in)
    c 2.0 mm (0.079 in)

    Figure 3 

    GHH554618Courtesy of HONDA, U.S.A., INC.

    Figure 4 

    GHH554619Courtesy of HONDA, U.S.A., INC.

    Figure 5 

    GHH554620Courtesy of HONDA, U.S.A., INC.
    • The manufacturing marks (d)/(e) must be facing upward. (Figure 3)

    Marking Details (Figure 3) 

    Marking Position Mark
    d 1RF
    e 2RF

    Piston Ring Specifications (Figure 4) 

    Position Specifications
    Top Ring f 2.7 mm (0.106 in)
    g 1.5 mm (0.059 in)
    Second Ring f 2.7 mm (0.106 in)
    g 1.0 mm (0.039 in)

    Lubricant Specifications 

    Application Position Type
    Piston Rings Engine Oil
    • Rotate the rings in their grooves to make sure they do not bind.
    • Position the ring end gaps as shown. (Figure 5)

    ■ After Installation 

  11. K.

    ■ Sub-Procedure 

    NOTE: Keep all removed parts in order, and install them of the original position when installing.

    Figure 1 

    GHH554621Courtesy of HONDA, U.S.A., INC.

    Figure 2 

    GHH554622Courtesy of HONDA, U.S.A., INC.

    • Removal 

    1. Remove the snap rings.

    Lubricant Specifications (Figure 1) 

    Application Position Type
    a Engine Oil

    -1. Turn them in the ring grooves until the end gaps are lined up with the cutouts in the piston pin bores (b). (Figure 1)

    NOTE: Take care not to damage the ring grooves.

    -2. Remove the snap rings from both sides of each piston. Start at the cutout in the piston pin bore. Remove the snap rings carefully so they do not go flying or get lost. Wear goggles or safety glasses to prevent eye injury. (Figure 2)

    Figure 3 

    GHH554623Courtesy of HONDA, U.S.A., INC.

    2. Remove the piston pin. (Figure 3)

    • Heat the piston/rod assembly to about 158 °F (70 °C).

    3. If necessary, do the following inspection.

    Figure 4 

    GHH554624Courtesy of HONDA, U.S.A., INC.

    Figure 5 

    GHH554625Courtesy of HONDA, U.S.A., INC.

    • Installation 

    1. Install the snap ring. (only on one side)

    2. Install the piston pin.

    Lubricant Specifications 

    Application Position Type
    • Piston Pin Bore (Piston/Connecting Rod)
    • Piston Pin
    Engine Oil
    • Heat the piston to about 158 °F (70 °C). (Figure 4)
    • Align the arrow (c) with the groove (d) direction on the connecting rod as shown. (Figure 5)

    3. Install the remaining snap ring.

    • Turn the snap rings in the ring grooves until the end gaps are positioned at the bottom of the piston.