LEMON Manuals: Even more car manuals for everyone: 1960-2025
Home >> Acura >> 2019 >> RDX Technology, AWD >> Repair and Diagnosis (Single Page) >> Electrical >> Component Locations >> Electrical Component Locator And Service Information - Front Brake Area Components >> Exploded View >> Front Brake Area >> Repair Procedure >> Procedure
April 5, 2026: LEMON Manuals is launched! Read the announcement.

Repair Procedure: Procedure

  1. A.
    GHH555036Courtesy of HONDA, U.S.A., INC.

    ■ Sub-Procedure 

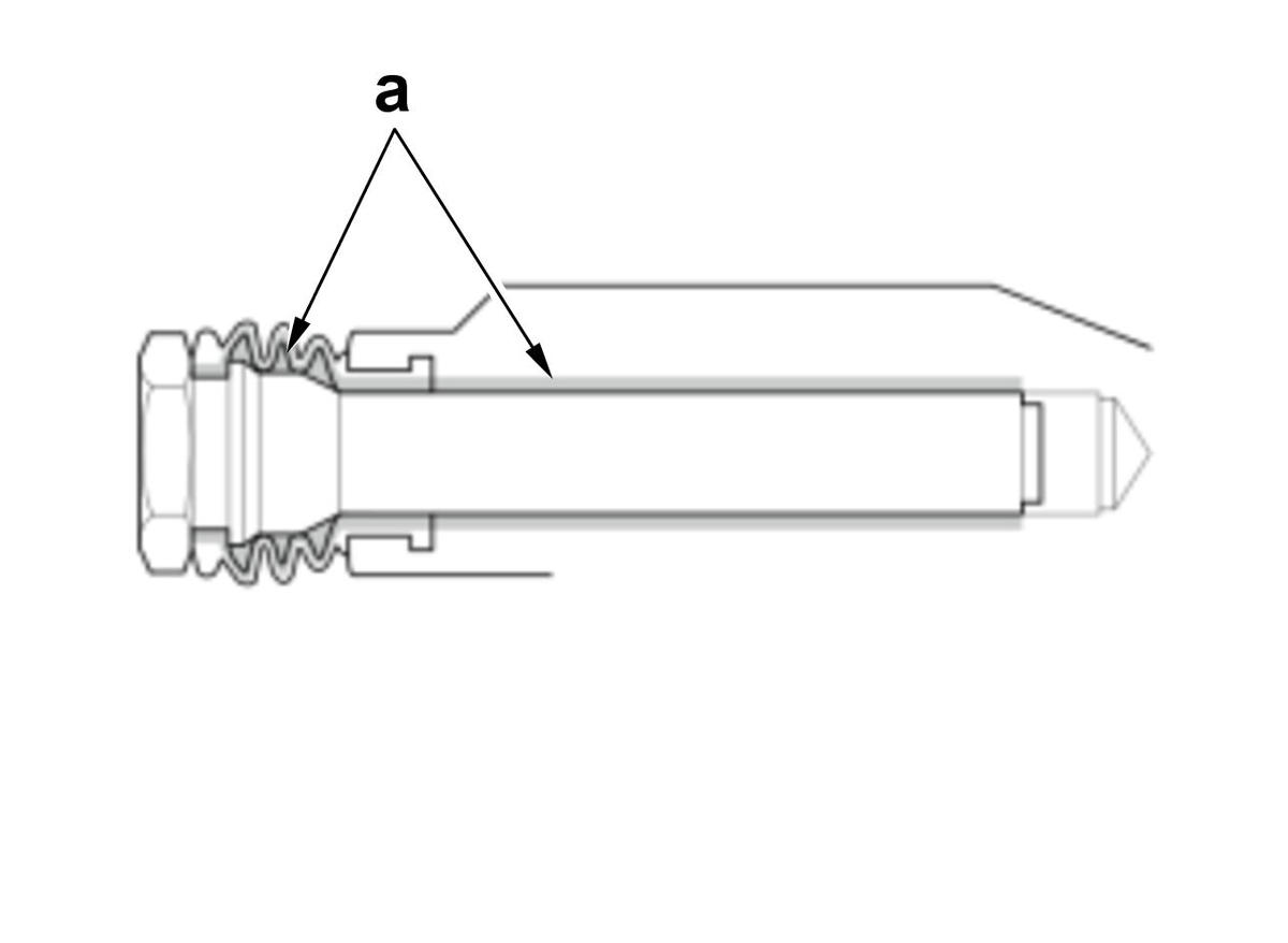
    • Removal 

    NOTE: If the brake disc is stuck to the hub, thread two 8 x 1.25 mm bolts (a) into the brake disc to push it away from the hub. Turn each bolt 90° at a time to prevent the brake disc from binding.

    • Installation 

    NOTE:
    • Brake discs marked with "FNC" on the brake disc hat cannot be refinished and must be replaced if they are out of specifications.
    • When replacing the brake disc, use a brake caliper piston compressor to push in the piston before installing the brake caliper.
  2. B.

    ■ Sub-Procedure 

    Figure 1 

    GHH555037Courtesy of HONDA, U.S.A., INC.

    • Installation 

    Lubricant Specifications (Figure 1) 

    Position Type
    a M-77 Assembly Paste (P/N 08798- 9010)

    Figure 2 

    GHH555038Courtesy of HONDA, U.S.A., INC.
    • Press the brake caliper piston using the brake caliper piston compressor. (Figure 2)

    ■ After Installation 

    • Press the brake pedal several times to make sure the brakes work.
      WARNING: Engagement may require a greater pedal stroke immediately after the brake pads have been replaced as a set. Several applications of the brake pedal will restore the normal pedal stroke.
    • Brake Fluid Level Adjustment.
  3. C.
    GHH555039Courtesy of HONDA, U.S.A., INC.

    ■ Sub-Procedure 

    G00574679Courtesy of AMERICAN HONDA MOTOR CO., INC.

    Caliper type B: Make sure that the pad retainers are installed correctly. The upper pad retainer and the lower pad retainer are different.

    • Installation 

    Lubricant Specifications 

    Position Type
    a M-77 Assembly Paste (P/N 08798- 9010)
  4. D.
    GHH555040Courtesy of HONDA, U.S.A., INC.

    ■ Sub-Procedure 

    G00574679Courtesy of AMERICAN HONDA MOTOR CO., INC.

    Make sure that the caliper pins are installed correctly. The upper caliper pin and the lower caliper pin are different. If these caliper pins are installed in the wrong location, it will cause vibration, uneven or rapid brake pad wear, and possibly uneven tire wear.

    • Installation 

    Lubricant Specifications 

    Position Type
    a Honda Silicone Grease (P/N 08C30-B0234M) or Caliper Set Grease (NIGLUBE RM))
  5. E.
    GHH555041Courtesy of HONDA, U.S.A., INC.

    ■ Sub-Procedure 

    G00574679Courtesy of AMERICAN HONDA MOTOR CO., INC.
    G00574679Courtesy of AMERICAN HONDA MOTOR CO., INC.

    Caliper type B: Do not loosen this bolt (a).

    ■ After Installation 

  6. F.

    ■ Sub-Procedure 

    GHH555042Courtesy of HONDA, U.S.A., INC.

    • Installation 

    • Install the clip (a) by aligning the brake hose groove (b).

    ■ After Installation 

  7. G.

    ■ Sub-Procedure 

    G00574679Courtesy of AMERICAN HONDA MOTOR CO., INC.

    Each tire pressure sensor contains a lithium anode battery that is not removable. The complete tire pressure sensor should be disposed of according to local battery disposal guidelines or requirements. Improper battery disposal can be harmful to the environment.

    NOTE: The images and procedures for removing the tire from the wheel are for reference only. Remove the tire from the wheel according to the procedure listed by your tire changing machine manufacturer.

    Figure 1 

    GHH555043Courtesy of HONDA, U.S.A., INC.

    • Removal 

    1. Break the bead loose from the wheel.

    Tool Details (Figure 1) 

    Name
    a Tire Changer (Commercially Available)

    Installation Directions (Figure 1) 

    Position Direction
    b Outside
    G00574679Courtesy of AMERICAN HONDA MOTOR CO., INC.

    Note these items to avoid damaging the tire pressure sensor: (Figure 1)

    • Do the outside of the wheel first.
    • Do not position the bead breaker of the tire changer too close to the rim.
    • Position the wheel as shown.

    Specifications 

    Standard Value
    c 90°

    Figure 2 

    GHH555044Courtesy of HONDA, U.S.A., INC.

    2. Position the wheel so that the tire machine and the tire iron are next to the valve stem (d), and will move away from it when the machine starts. (Figure 2)

    Tool Details (Figure 2) 

    Name
    e Tire Changer (Commercially Available)
    f Tire Iron (Commercially Available)

    Figure 3 

    GHH555045Courtesy of HONDA, U.S.A., INC.

    • Installation 

    1. Install the tire pressure sensor (g) so that the sensor housing surface (h) is below the protrusion (i) of the wheel to prevent the sensor housing from being caught on the bead of the tire when installing the tire. Be sure to always mount the tire pressure sensor with the feet (k) in the downward position toward the wheel. (Figure 3)

    Installation Directions (Figure 3) 

    Position Direction
    m Outside
    n Wheel Center
    NOTE:
    • Do not use air or electric impact tools to tighten the valve stem nut.
    • Do not twist the tire pressure sensor to adjust its position with the wheel, as this will damage or deform the valve stem grommet.

    Figure 4 

    GHH555046Courtesy of HONDA, U.S.A., INC.

    2. Position the wheel so that the tire machine is next to the valve stem (o) and will move away from it when the machine starts. (Figure 4)

    Lubricant Specifications (Figure 4) 

    Position Type
    p Paste-Type Tire Mounting Lubricant

    Tool Details (Figure 4) 

    Name
    q Tire Changer (Commercially Available)

    3. With a dry air source, inflate the tire to seat the tire bead to the rim.

    Specifications 

    Specification
    300 kPa (43.5 psi)
    NOTE:

    Make sure the tire bead is seated on both sides of the rim evenly.

    4. Adjust the air pressure to the specifications listed on the door jamb.

    ■ After Installation 

  8. H.

    ■ Sub-Procedure 

    G00574679Courtesy of AMERICAN HONDA MOTOR CO., INC.

    Each tire pressure sensor contains a lithium anode battery that is not removable. The complete tire pressure sensor should be disposed of according to local battery disposal guidelines or requirements. Improper battery disposal can be harmful to the environment.

    NOTE: The images and procedures for removing the tire from the wheel are for reference only. Remove the tire from the wheel according to the procedure listed by your tire changing machine manufacturer.

    Figure 1 

    GHH555047Courtesy of HONDA, U.S.A., INC.

    • Removal 

    1. Break the bead loose from the wheel.

    Tool Details (Figure 1) 

    Name
    a Tire Changer (Commercially Available)

    Installation Directions (Figure 1) 

    Position Direction
    b Outside
    G00574679Courtesy of AMERICAN HONDA MOTOR CO., INC.

    Note these items to avoid damaging the tire pressure sensor: (Figure 1)

    • Do the outside of the wheel first.
    • Do not position the bead breaker of the tire changer too close to the rim.
    • Position the wheel as shown.

    Specifications 

    Standard Value
    c 90°

    Figure 2 

    GHH555048Courtesy of HONDA, U.S.A., INC.

    2. Position the wheel so that the tire machine and the tire iron are next to the valve stem (d), and will move away from it when the machine starts. (Figure 2)

    Tool Details (Figure 2) 

    Name
    e Tire Changer (Commercially Available)
    f Tire Iron

    Figure 3 

    GHH555049Courtesy of HONDA, U.S.A., INC.

    3. Refer to the figure 3.

    NOTE: Check the tire pressure sensor housing for any cracks, deforms or damages and replace it if necessary.

    Figure 4 

    GHH555050Courtesy of HONDA, U.S.A., INC.

    4. Cut around the valve bulb (g) to make the removal of the valve assembly easier. (Figure 4)

    Tool Details (Figure 4) 

    Name
    h Diagonal Plier (Commercially Available)

    Figure 5 

    GHH555051Courtesy of HONDA, U.S.A., INC.

    5. Pull out the valve assembly (i) vertically through the rim hole. (Figure 5)

    Tool Details (Figure 5) 

    Name
    k Valve Stem Puller Tool (Commercially Available)

    Figure 6 

    GHH555052Courtesy of HONDA, U.S.A., INC.

    • Installation 

    1. Refer to the figure 6.

    NOTE:
    • Make sure the sensor housing is fully seated.
    • Install the TORX screw until the screw head is in contact with the sensor housing.

    Figure 7 

    GHH555053Courtesy of HONDA, U.S.A., INC.

    2. Insert the tire pressure sensor in the rim hole.

    Lubricant Specifications (Figure 7) 

    Position Type
    m Mild Soap And Water Solution

    Figure 8 

    GHH555054Courtesy of HONDA, U.S.A., INC.

    Figure 9 

    GHH555055Courtesy of HONDA, U.S.A., INC.

    3. Pull the tire pressure sensor straight through the rim hole perpendicularly to the rim hole.

    NOTE: Make sure the tire pressure sensor is installed within the angle.

    Tool Details (Figure 8) 

    Name
    n Valve Stem Puller Tool (Commercially Available)

    Specifications (Figure 8 and 9) 

    Specification / Standard Value
    o No Clearance
    p 0 10°

    Figure 10 

    GHH555057Courtesy of HONDA, U.S.A., INC.

    4. Position the wheel so that the tire machine is next to the valve stem (q) and will move away from it when the machine starts. (Figure 10)

    Lubricant Specifications (Figure 10) 

    Position Type
    r Paste-Type Tire Mounting Lubricant

    Tool Details (Figure 10) 

    Name
    s Tire Changer (Commercially Available)

    5. With a dry air source, inflate the tire to seat the tire bead to the rim.

    Specifications 

    Specification
    300 kPa (43.5 psi)
    NOTE: Make sure the tire bead is seated on both sides of the rim evenly.

    6. Adjust the air pressure to the specifications listed on the door jamb.

    ■ After Installation