LEMON Manuals: Even more car manuals for everyone: 1960-2025
Home >> Acura >> 2019 >> RDX Technology, AWD >> Repair and Diagnosis (Single Page) >> Electrical >> Component Locations >> Electrical Component Locator And Service Information - Intake Manifold Area Components >> Exploded View >> Intake Manifold Area >> Repair Procedure >> Procedure
April 5, 2026: LEMON Manuals is launched! Read the announcement.

Repair Procedure: Procedure

  1. A.
    WARNING: Do not insert your fingers into the installed throttle body when you turn the vehicle to the ON mode, or while the vehicle is in ON mode. If you do, you will seriously injure your fingers if the throttle valve is activated.

    ■ Key Information 

    Do the following before starting your work.

    Remove: 

    ■ Sub-Procedure 

    • Removal 

    NOTE:
    • If you are replacing the throttle body, do all of the procedures.
    • If you are removing the throttle body, start from step 6.

    1. Connect the HDS to the DLC .

    2. Clear the throttle position (TP) learned value.

    • Select the following menu buttons on the HDS screen in sequence.
      • PGM-FI (System Selection Menu)
      • Function Test
      • ETCS (TAC) TEST
      • TP POSITION CHECK

    3. Turn the vehicle to the OFF (LOCK) mode.

    4. Turn the vehicle to the ON mode, and wait 2 seconds without pressing the accelerator pedal.

    5. Turn the vehicle to the OFF (LOCK) mode.

    6. Remove the throttle body.

    NOTE:
    • Plug the water bypass hoses.
    • Be careful not to drop the throttle flange plates to prevent other parts from damaging.
    GHH339874Courtesy of HONDA, U.S.A., INC.

    • Installation 

    Tighten the bolts (a) in a cross pattern in three steps.

    • Tighten the bolts until they sit on the throttle body (b).
    • Tighten the bolts until the gasket (c) is compressed and both parts (d) are contacted.
    • Tighten the bolts to the specified torque.

    ■ After Installation 

  2. B.
    WARNING: Flammable - Keep Fire Away
    NOTE: Refer to the Fuel and Emissions Systems Service Precautions before doing the procedure.

    ■ Key Information 

    Do the following before starting your work.

    Remove: 

    ■ Sub-Procedure 

    • Installation 

  3. C.
    WARNING: Flammable - Keep Fire Away
    NOTE:

    ■ Preconditions 

    ■ Key Information 

    Do the following before starting your work.

    Remove: 

    ■ After Installation 

  4. D.
    NOTE: Refer to the Fuel Line/ Quick-Connect Fitting Precautions before removing the fuel line/quick-connect fitting cover.
  5. E.
    NOTE: Refer to the Fuel Line/ Quick-Connect Fitting Precautions before removing the fuel line/quick-connect fitting cover.

    Key Information 

    Do the following before starting your work.

    Remove: 

  6. F.
    NOTE: When removing the throttle body, it is not necessary to disconnect the water bypass hoses from the throttle body.

    Key Information 

    NOTE: For the removal and installation procedure, refer to Intake Manifold Removal and Installation and the sub-procedure below.

    ■ Sub-Procedure 

    • Removal 

    • Refer to the Figure 1.

    Figure 1 

    GHH339875Courtesy of HONDA, U.S.A., INC.

    • Installation 

    • Tighten the bolts/nuts in a crisscross pattern in three steps. (Figure 2)
      • Tighten the bolts/nuts until the bolts/nuts sit on the intake manifold.
      • Tighten the bolts/nuts until the gasket is compressed.
      • Tighten the bolts/nuts to the specified torque.

    Figure 2 

    GHH339876Courtesy of HONDA, U.S.A., INC.
  7. G.
    WARNING: Flammable - Keep Fire Away
    NOTE: Refer to the Fuel and Emissions Systems Service Precautions before doing the procedure.

    ■ Preconditions 

    Key Information 

    NOTE: For the removal and installation procedure, refer to Injector Removal and Installation and the sub-procedure below.

    ■ Sub-Procedure 

    NOTE:
    • When replacing the injector, you must replace all injectors on the fuel rail as a set and the fuel joint pipe. Failure to do so will cause poor engine performance and fuel leaks.
    • If you will reuse the injector after removal, note the cylinder number and install it to the same cylinder.

    • Removal 

    1. Carefully remove the fuel rail with the injectors straight from the cylinder head.

    NOTE:

    If the injector remains on the cylinder head, carefully remove the injector straight from the cylinder head.

    2. Carefully remove the seal (a) from the injector. (Figure 1)

    Figure 1 

    GHH339877Courtesy of HONDA, U.S.A., INC.

    • Installation 

    1. Use compressed air to insure that there are no dust or debris around the ring (b). (Figure 2)

    Figure 2 

    GHH339878Courtesy of HONDA, U.S.A., INC.

    2. With a paper towel, carefully wipe off any carbon from the area (c) shown. (Figure 2)

    NOTE:
    • Do not wipe off the tip area (d) of the injector as it may be damaged. (Figure 2)
    • If the tip of the injector is dirty or clogged, it must be replaced. The tip of the injector cannot be cleaned.

    3. Install the sizing tool (e) to the injector (f) as shown. (Figure 3)

    NOTE: Do not allow the tool to come in contact with the tip of the injector.

    Figure 3 

    GHH339879Courtesy of HONDA, U.S.A., INC.

    4. Install the seal guide (g) over the tip of the injector (h) as shown. (Figure 4)

    Figure 4 

    GHH339880Courtesy of HONDA, U.S.A., INC.

    5. Slide a new seal (i) on the seal guide as shown. (Figure 5)

    Figure 5 

    GHH339881Courtesy of HONDA, U.S.A., INC.

    6. Slide the seal installer (k) onto the seal guide, then quickly push the seal down to the groove (m) of the injector. (Figure 6)

    Figure 6 

    GHH339882Courtesy of HONDA, U.S.A., INC.

    7. Remove the seal guide and the seal installer from the injector.

    8. Move the sizing tool and align the top of the injector surface (n) and the tool's inner surface (o) as shown, and hold the tool to reform the seal for 30 seconds or more. (Figure 7)

    NOTE: Make sure the seal (p) is not deformed when moving the tool. (Figure 7)

    Figure 7 

    GHH339883Courtesy of HONDA, U.S.A., INC.

    9. Remove the sizing tool, and check that the seal (q) is installed correctly. (Figure 8)

    NOTE: When cleaning the sizing tool and the seal guide, be careful not to scratch the sizing tool bore or the surface of the seal guide.

    Figure 8 

    GHH339884Courtesy of HONDA, U.S.A., INC.

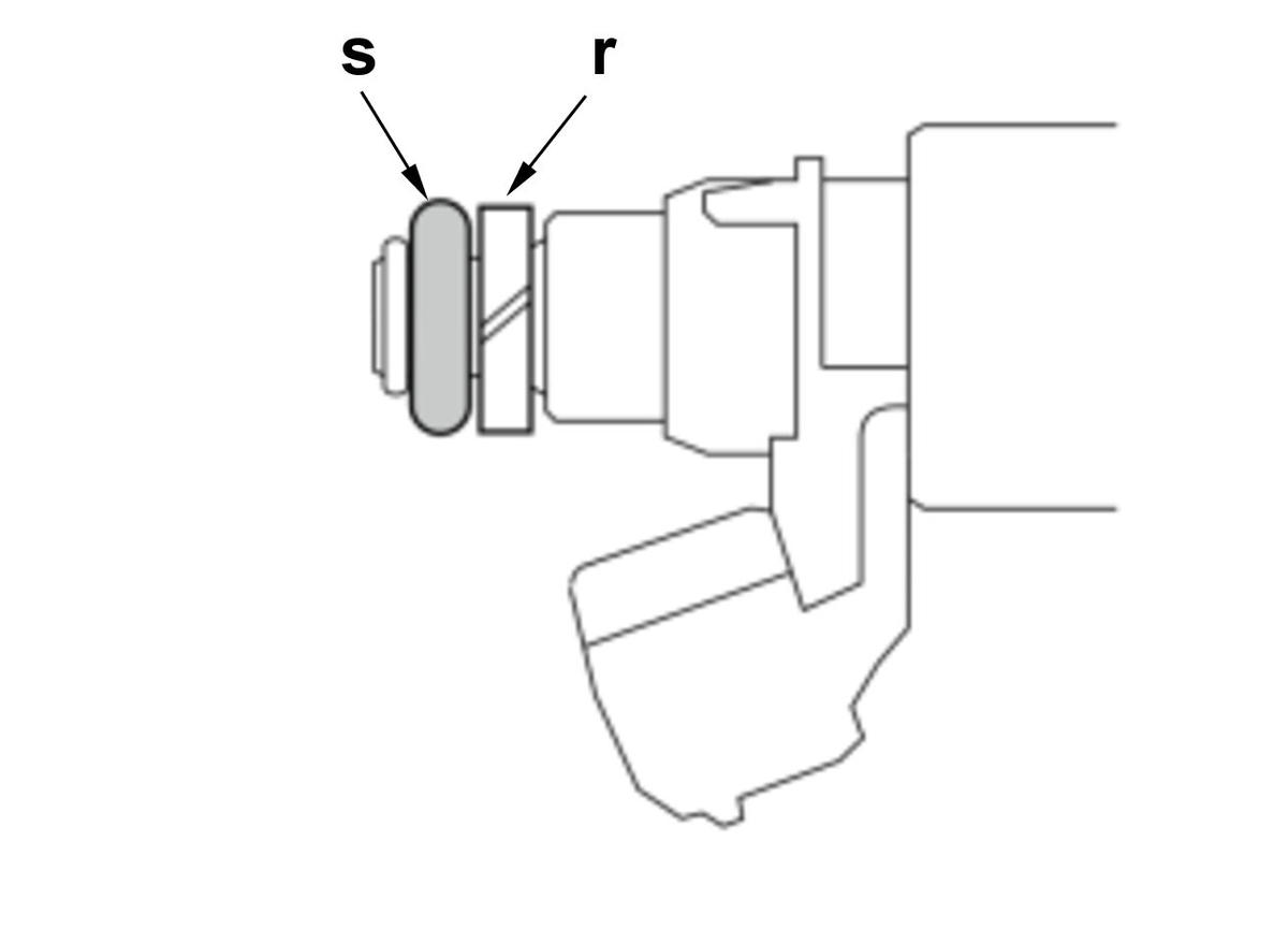
    10. Make sure that the back-up ring (r) is not deformed. (Figure 9)

    NOTE: When installing the injector, be sure to protect the injector from dust or debris.

    Lubricant Specifications (Figure 9) 

    Application Position Type
    s: O-Ring Engine Oil

    Figure 9 

    GHH339885Courtesy of HONDA, U.S.A., INC.

    11. Carefully install the fuel rail (t) with the injectors into the cylinder head straight and equal. (Figure 10)

    NOTE: When installing the injector, protect the tip of the injector from dust or debris.

    Lubricant Specifications (Figure 10) 

    Application Position Type
    u: Injector Holes Engine Oil

    Figure 10 

    GHH339886Courtesy of HONDA, U.S.A., INC.

    12. Install the nuts, and tighten slowly in an alternate pattern until the fuel rail sits on the cylinder head.

    13. Tighten the nuts and bolts to the specified torque.

    After Installation 

  8. H.

    ■ Sub-Procedure 

    GHH339887Courtesy of HONDA, U.S.A., INC.

    • Installation 

    • Tighten the screws in sequence shown.