LEMON Manuals: Even more car manuals for everyone: 1960-2025
Home >> Acura >> 2019 >> RDX Technology, AWD >> Repair and Diagnosis (Single Page) >> Quick Lookups >> Electrical Component Locations >> Electrical Component Locator And Service Information - 12 Volt Battery Area Components >> Exploded View >> 12 Volt Battery Area >> Repair Procedure >> Notes
April 5, 2026: LEMON Manuals is launched! Read the announcement.

Repair Procedure: Notes

How to use this Service Information .

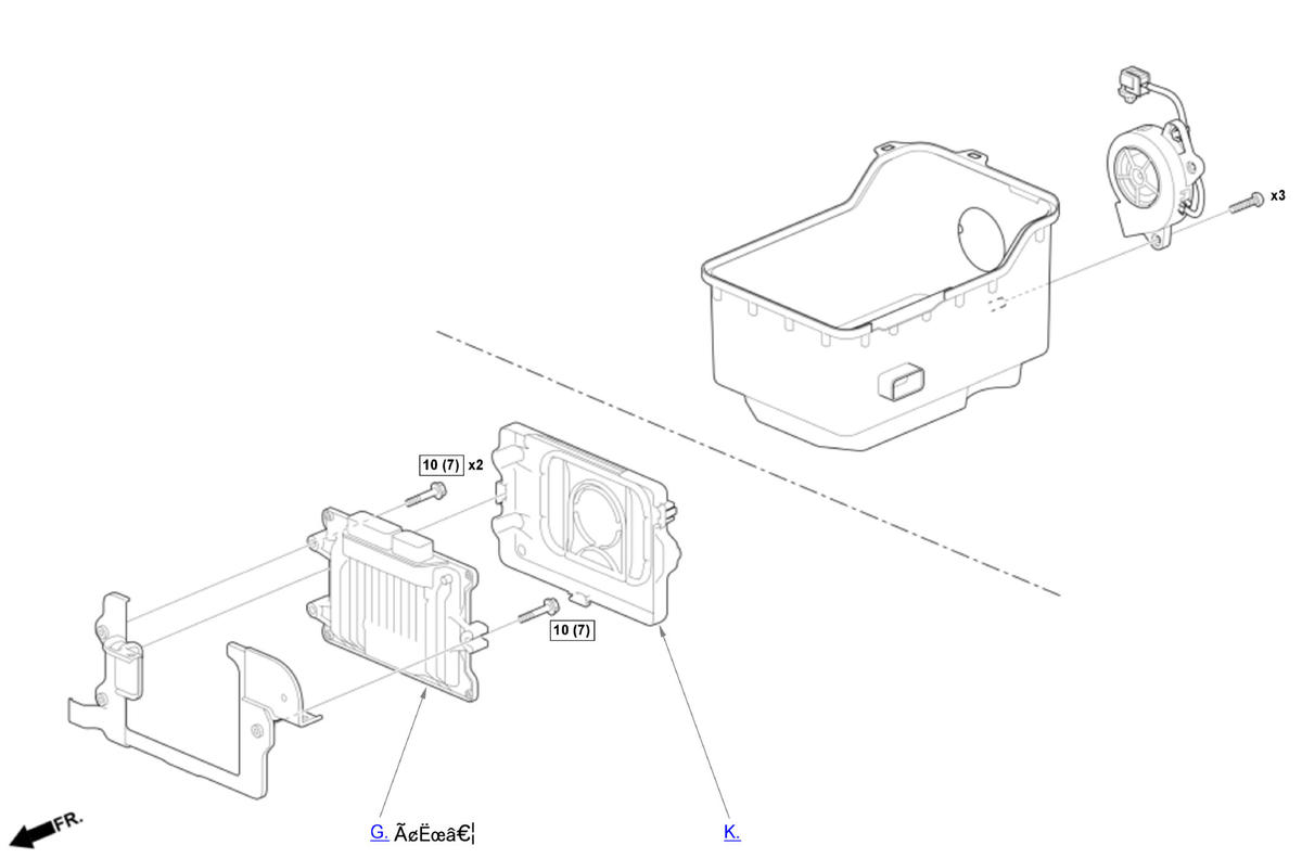
Fig 1: 12 Volt Battery Area Replacement Components With Torque Specifications (1 Of 2)
GHH553854Courtesy of HONDA, U.S.A., INC.
: Torque, N.m (lbf.ft) : Replace : Warning/Caution : Inspection/Adjustment *: Learning ■ : SPL Tool : Required Removal
Fig 2: 12 Volt Battery Area Replacement Components With Torque Specifications (2 Of 2)
GHH553855Courtesy of HONDA, U.S.A., INC.
: Torque, N.m (lbf.ft) : Replace : Warning/Caution : Inspection/Adjustment *: Learning ■ : SPL Tool : Required Removal