LEMON Manuals: Even more car manuals for everyone: 1960-2025
Home >> Acura >> 2019 >> RDX Technology, AWD >> Repair and Diagnosis (Single Page) >> Quick Lookups >> Electrical Component Locations >> Electrical Component Locator And Service Information - A/C Condenser Area Components >> Exploded View >> A/C Condenser Area >> Repair Procedure >> Procedure
April 5, 2026: LEMON Manuals is launched! Read the announcement.

Repair Procedure: Procedure

  1. A.

    ■ Key Information 

    Do the following before starting your work.

    Remove: 

    ■ Sub-Procedure 

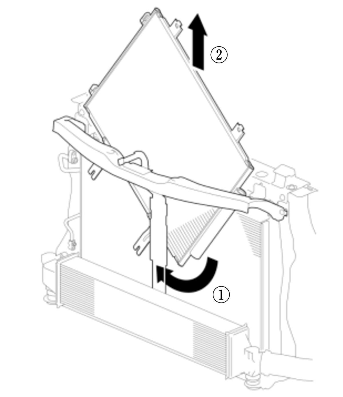
    NOTE: Be careful not to damage the radiator fins, the A/C condenser fins, and the receiver line when removing/installing the A/C condenser.
    GHH339193Courtesy of HONDA, U.S.A., INC.

    • Removal 

    • Refer to the figure.
  2. B.

    ■ Sub-Procedure 

    GHH339194Courtesy of HONDA, U.S.A., INC.

    • Removal/Installation 

    • To prevent damage, hold the A/C pressure sensor mounting block (a) in place with a wrench.
  3. C.

    ■ Sub-Procedure 

    • Installation 

    • Install the desiccant as quickly as possible to prevent the system from absorbing moisture from the air.
    • Be careful not to damage the cap. It is made of resin and can be easily stripped.