LEMON Manuals: Even more car manuals for everyone: 1960-2025
Home >> Acura >> 2019 >> RDX Technology, AWD >> Repair and Diagnosis (Single Page) >> Quick Lookups >> Electrical Component Locations >> Electrical Component Locator And Service Information - Windshield Wiper Area Components >> Exploded View >> Windshield Wiper Area >> Repair Procedure >> Procedure
April 5, 2026: LEMON Manuals is launched! Read the announcement.

Repair Procedure: Procedure

  1. A.

    ■ Sub-Procedure 

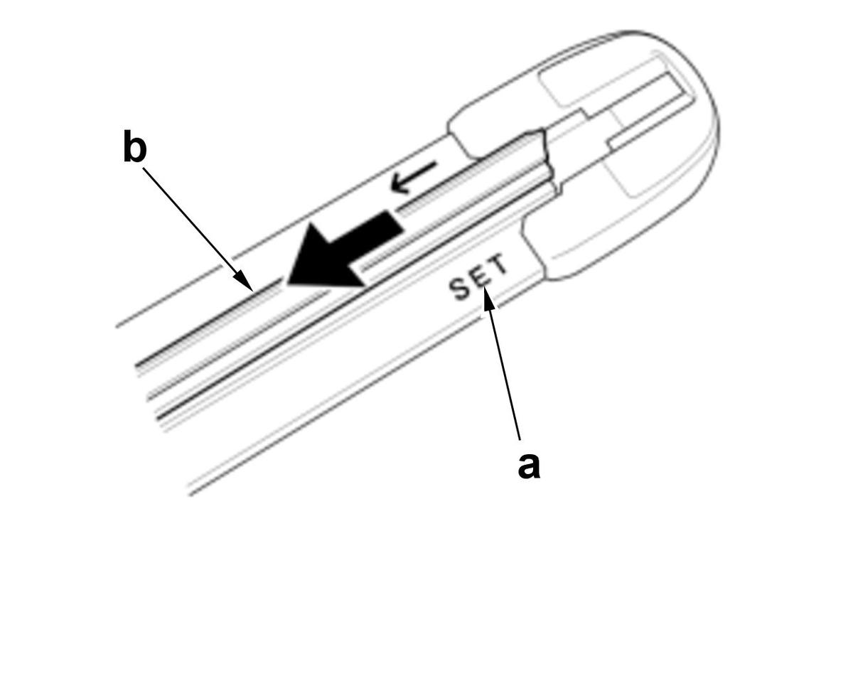
    Figure 1 

    GHH340377Courtesy of HONDA, U.S.A., INC.

    • Removal 

    1. On the "SET" label (a) side, pull back the wiper blade (b). (Figure 1)

    Figure 2 

    GHH340378Courtesy of HONDA, U.S.A., INC.

    2. Pull out the wiper blade (c). (Figure 2)

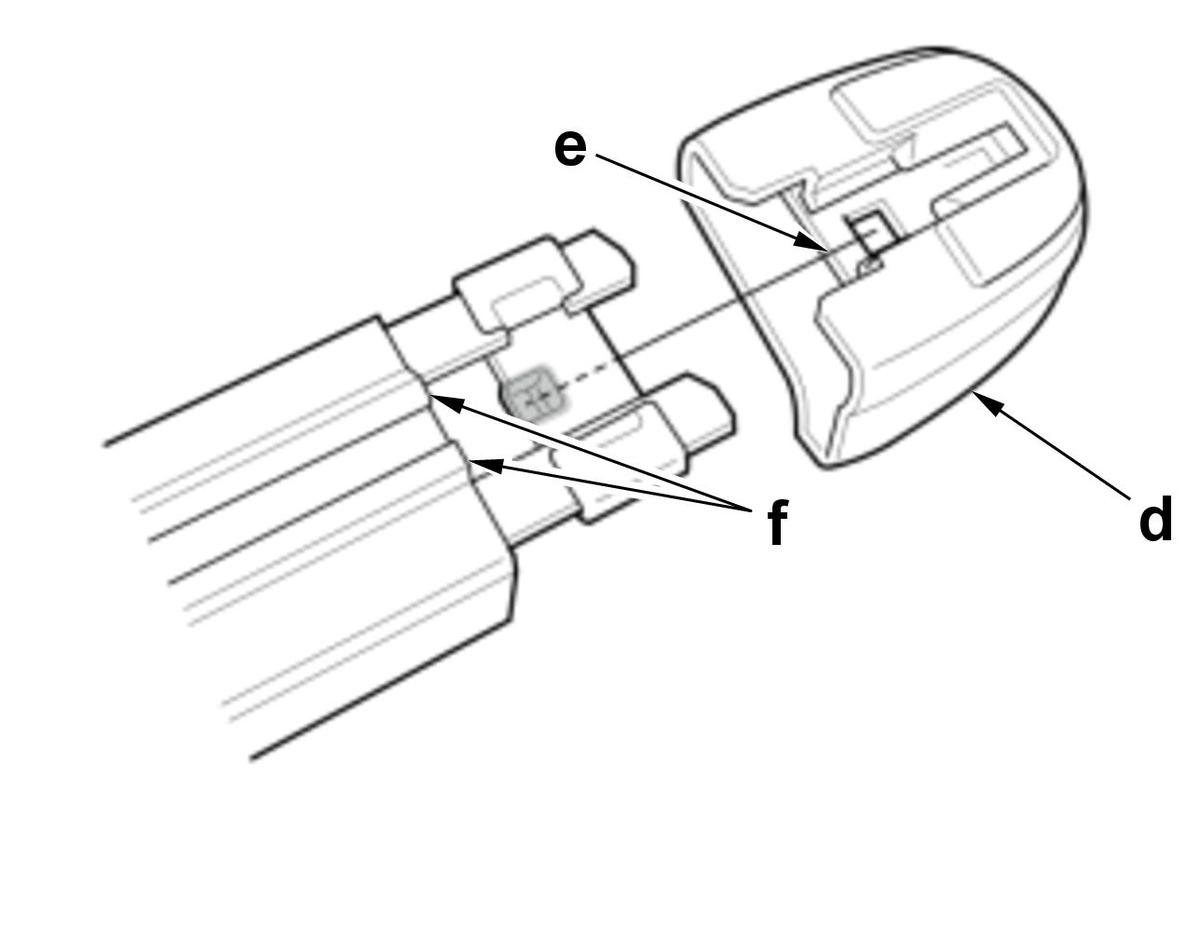
    Figure 3 

    GHH340379Courtesy of HONDA, U.S.A., INC.

    3. If necessary, remove the end cap (d) by pressing the tab (e). (Figure 3)

    NOTE: When removing it, take care not to damage the rubber holder (f). (Figure 3)
  2. B.

    ■ Sub-Procedure 

    NOTE: Before removing the windshield wiper blade holder, perform the following procedure.
    GHH340380Courtesy of HONDA, U.S.A., INC.

    • Removal 

    1. Turn the vehicle to the ON mode.

    2. Turn and hold the wiper/washer switch to the MIST position, and then turn the vehicle to the OFF (LOCK) mode.

    3. Release the wiper/washer switch.

    NOTE: The wiper arm stops at the lock back position.

    4. Remove the wiper blade holder (a).

    ■ After Installation 

  3. C.
    NOTE: Before removal, turn the wiper/washer switch ON to the (LO) or (HI) position, then OFF to return the motor shaft to the park position.

    ■ After Installation 

  4. D.

    ■ Sub-Procedure 

    GHH340381Courtesy of HONDA, U.S.A., INC.

    • Installation 

    • Align the painted mark (a) of the seal (b) with the notch (c) on the cowl cover, then push the hood rear seal against the cowl cover.
  5. E.
    GHH340382Courtesy of HONDA, U.S.A., INC.
  6. F.

    ■ After Installation 

  7. G.
    GHH340383Courtesy of HONDA, U.S.A., INC.

    ■ Sub-Procedure 

    • Removal 

    • Refer to the figure.
  8. H.
    GHH340384Courtesy of HONDA, U.S.A., INC.
  9. I.

    ■ Sub-Procedure 

    GHH340385Courtesy of HONDA, U.S.A., INC.

    • Installation 

    Lubricant Specifications 

    Application Position Type
    a Multipurpose Grease
  10. J.
    GHH340386Courtesy of HONDA, U.S.A., INC.

    ■ Sub-Procedure 

    • Removal 

    • Refer to the figure.
  11. K.

    ■ Sub-Procedure 

    GHH340387Courtesy of HONDA, U.S.A., INC.

    • Installation 

    Lubricant Specifications 

    Application Position Type
    a Multipurpose Grease
  12. L.

    ■ Sub-Procedure 

    GHH340388Courtesy of HONDA, U.S.A., INC.

    • Installation 

    • Set the windshield wiper motor to the park position.
      NOTE: Connect the wiper motor connector, and turn the wiper/washer switch ON to (LO) or (HI) position, then OFF to return the wiper motor shaft to the park position.
    • Align the marks (a).

    ■ After Installation