LEMON Manuals: Even more car manuals for everyone: 1960-2025
Home >> Acura >> 2019 >> RDX Technology, AWD >> Repair and Diagnosis (Single Page) >> Quick Lookups >> Electrical Component Locations >> Steering Gearbox Components - Service Information >> Exploded View >> Steering Gearbox Components >> Repair Procedure >> Procedure
April 5, 2026: LEMON Manuals is launched! Read the announcement.

Repair Procedure: Procedure

  1. A.

    ■ Preconditions 

    ■ Sub-Procedure 

    Figure 1 

    GHH340400Courtesy of HONDA, U.S.A., INC.

    • Removal 

    • Disconnect the connector by pushing the lock and the lever up in the numbered sequence. (Figure 1)

    Figure 2 

    GHH340401Courtesy of HONDA, U.S.A., INC.

    • Installation 

    • Apply steering grease to the EPS motor/control unit housing.

    Lubricant Specifications (Figure 2) 

    Application Position Type
    a Steering Grease

    Figure 3 

    GHH340402Courtesy of HONDA, U.S.A., INC.
    • Refer to the figure 3.

    ■ After Installation 

  2. B.

    ■ Sub-Procedure 

    Figure 1 

    GHH340403Courtesy of HONDA, U.S.A., INC.

    ■ Installation 

    NOTE: Do not allow dust, dirt, or other foreign materials to enter the boot.

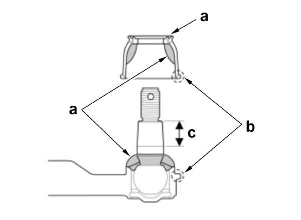
    1. Pack the lower area of the ball pin, the interior of the ball joint boot, and the lip with fresh multipurpose grease.

    Lubricant Specifications (Figure 1) 

    Application Position Type
    a Multipurpose Grease

    2. Keep grease off the boot mounting area and the tapered section of the ball pin.

    Grease Off Area (Figure 1) 

    Position
    b, c

    Figure 2 

    GHH340404Courtesy of HONDA, U.S.A., INC.

    3. Press the boot with the bearing driver attachment until the bottom seats on the ball joint housing.

    Installation Depth (Figure 2) 

    Specifications
    d: No Clearance

    ■ After Installation 

    • Check the ball pin tapered section for grease contamination.
    • Wipe the ball pin tapered section if necessary.
  3. C.

    ■ Sub-Procedure 

    GHH340405Courtesy of HONDA, U.S.A., INC.

    • Installation 

    Tool Details 

    Name
    a: Pincers Oetiker 1098, Commercially Available or Equivalent Tool

    Clearance Details 

    Specifications
    b: 3.0 mm (0.118 in)

    ■ After Installation 

    • Slide the rack right and left to be certain that the boots are not deformed or twisted.
  4. D.

    ■ Sub-Procedure 

    • Installation 

    • Fit the boot end in the installation grooves in the housing properly.

    After Installation 

    • Wipe the grease off the threaded section of the rack end.
  5. E.

    ■ Sub-Procedure 

    Figure 1 

    GHH340406Courtesy of HONDA, U.S.A., INC.

    • Removal/Installation 

    NOTE:
    • Do not allow dust, dirt, or other foreign materials to enter the steering gearbox.
    • Do not clamp the cylinder part of the gearbox housing in a C-clamp.
    • Be careful not to damage the mounting surface with a C-clamp.
    • Be careful not to damage the rack surface.
    • Hold the flat surfaces with a wrench when unscrewing both rack ends. (Figure 1)

    Figure 2 

    GHH340407Courtesy of HONDA, U.S.A., INC.

    • Installation 

    • Apply the following grease to the contact surface of the boot.

    Lubricant Specifications (Figure 2) 

    Application Position Type
    a Multipurpose Grease

    ■ After Installation 

  6. F.

    ■ Sub-Procedure 

    • Removal/Installation 

    NOTE:
    • If the center guide is in place and has not moved, leave it in place.
    • If the center guide has come off, discard it.

    ■ After Installation