LEMON Manuals: Even more car manuals for everyone: 1960-2025
Home >> Acura >> 2019 >> RLX Base >> Repair and Diagnosis (Single Page) >> Transmission >> Automatic Trans >> Automatic Transaxle - Service, Testing And Troubleshooting (Except Hybrid) >> System Description >> A/T - Electronic Control System (2014 2015 2016 2017) >> Shift Control
April 5, 2026: LEMON Manuals is launched! Read the announcement.

Shift Control

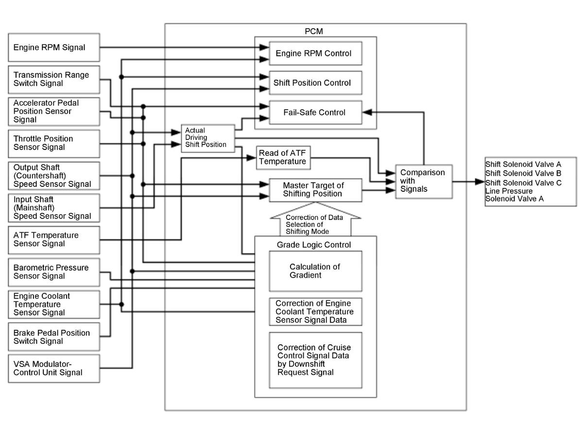
The PCM instantly determines which gear should be selected by various inputs from sensors and switches, and it actuates the solenoid valves to control gear selection.

Shift solenoid valve: Shift solenoid valves A, B, and C switch to the hydraulic pressure supply circuit to the clutch. Shift solenoid valves A, B, and C are normally closed (ON-OPEN/OFF-CLOSE); the normally closed solenoid valve port opens to allow ATF to pass through when the PCM turns it ON, and the port closes, blocking fluid flow when turned OFF.

A/T clutch pressure control solenoid valve: A/T clutch pressure control solenoid valves A, B, C, and D apply hydraulic pressure to each clutch via the hydraulic valve body circuit. A/T clutch pressure control solenoid valve D supplies hydraulic pressure to the torque converter clutch. A/T clutch pressure control solenoid valves A, B, C, and D are normally closed (ON-OPEN/OFF-CLOSE); the normally closed solenoid valve port opens to allow ATF to pass through when the PCM turns it ON, and the port closes, blocking fluid flow when turned OFF. These solenoid valves are controlled by current and are duty controlled depending on the vehicle speed and the throttle position.

Line pressure solenoid valve: Line pressure solenoid valve A controls the hydraulic pressure in the hydraulic control system valve bodies of the automatic transmission. Line pressure solenoid valve A is normally closed (ON-OPEN/OFF-CLOSE); the normally closed solenoid valve port opens to allow ATF to pass through when the PCM turns it ON, and the port closes, blocking fluid flow when turned OFF.

GHH342301Courtesy of HONDA, U.S.A., INC.