LEMON Manuals: Even more car manuals for everyone: 1960-2025
Home >> Acura >> 2019 >> TLX Base, 2.4L Eng >> Repair and Diagnosis >> Accessories & Equipment >> Anti-Theft Systems >> Security System Keyless Entry System - Testing & Troubleshooting >> Description >> Keyless/Power Door Locks/Security System Description - Control/Function
April 5, 2026: LEMON Manuals is launched! Read the announcement.

Keyless/Power Door Locks/Security System Description - Control/Function

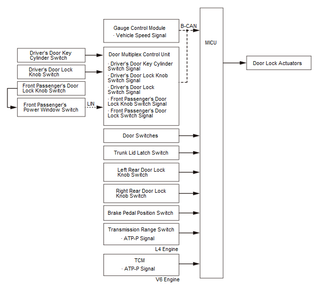
Door Lock Control 

The door lock control function allows the MICU to detect the status of various switch signals and control each actuator in order to lock and unlock the doors.

GHH163800Courtesy of HONDA, U.S.A., INC.

Trunk Lid Control 

The trunk lid control function allows the MICU to detect the status of various switch signals and control trunk lid release actuator in order to lock and unlock the trunk.

GHH163801Courtesy of HONDA, U.S.A., INC.

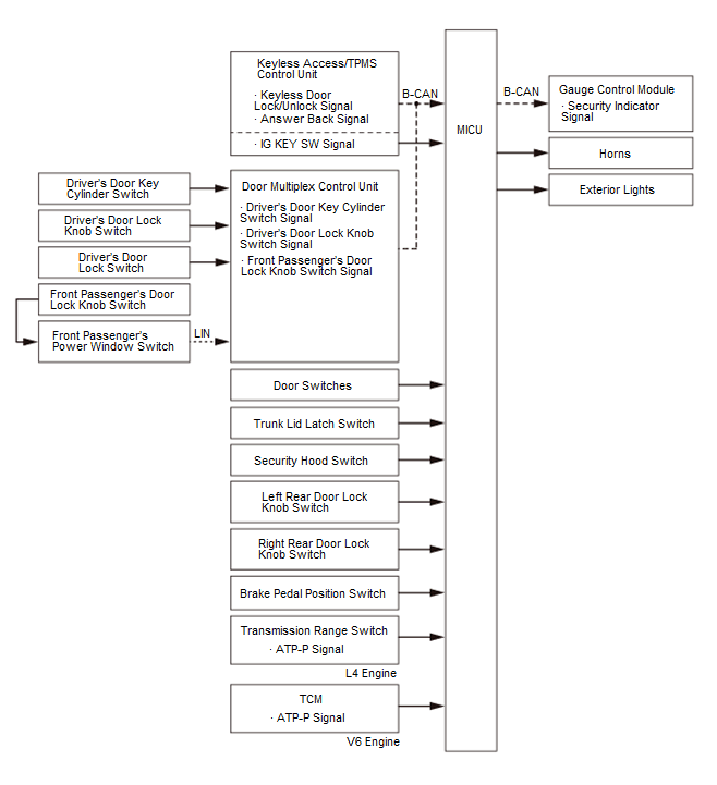
Keyless Door Lock Control 

The remote can transmit a lock or unlock signal to the keyless access/TPMS control unit, which sends the keyless request to the MICU using the B-CAN, then the MICU controls the door lock actuator by the B-CAN signal and various switch signal. The customization menu can also set the relock timer value.

GHH163802Courtesy of HONDA, U.S.A., INC.

Key Lockout Prevent Function 

The key lockout prevent function observes the key switch signal input. If the input is ON (remote in the vehicle), the system will not lock the doors. If the driver manually locks and closes the doors with a remote in the vehicle (input ON), the MICU energizes the driver's door actuator and unlocks the driver's door.

GHH163803Courtesy of HONDA, U.S.A., INC.

Automatic Door Lock/Unlock Control 

The automatic door lock/unlock control function allows the MICU to detect the status of B-CAN signals and various switch signals and controls each actuator in order to automatically lock/unlock the doors.

Automatic Door Lock Function: 

Automatic Door Unlock Function: 

Customizing Function: 

The locking method can be set as non-link, link to vehicle speed, link to shift position/mode, or link to ignition switch or engine start/stop switch by the customizing function. For more information about customize options, refer to the Owner's manual.

GHH163804Courtesy of HONDA, U.S.A., INC.

Security Control 

When the security alarm is set, the MICU sends the security set signal using the B-CAN.

GHH163805Courtesy of HONDA, U.S.A., INC.

Security system operating term 

Start setting
  • Lock the door using a mechanical key
  • Lock the door by using the remote
  • Lock the door by pressing the door outer handle lock switch while having the remote
  • Operate a keyless relock
Cancellation
  • Unlock the door using a mechanical key
  • Unlock the door by using the remote
  • Unlock the door by pressing the door outer handle lock switch or trunk lid outer handle switch while having the remote
  • Press the engine start/stop switch button while having the remote
Setting conditions (related systems are normally operated)
  • Door switch OFF (Door close)
  • Door unlock knob switch OFF (Lock)
  • Trunk lid latch switch OFF (Trunk close)
  • Driver's door key cylinder switch OFF
  • Security hood switch ON (Hood close)
  • Vehicle OFF (LOCK) mode
  • Shift P position/mode
Start the alarm When any of the monitoring switch signal inputs are received without the signal for cancelling setting
Cancel the alarm Compliant with the conditions for cancelling setting

Security Setting 

When the security alarm is set, the MICU sends the security set signal using the B-CAN.

When the gauge control module receives a security set signal from the MICU, the security indicator flashes at a slower pace to indicate the system has armed.

GHH163806Courtesy of HONDA, U.S.A., INC.

Security Alarm 

With the security system armed, manually opening the hood or the trunk or moving the door lock knob to the unlock position activates the security alarm. Alternatively, the security alarm sounds, the headlights low beam, the parking lights, the taillights, the license plate lights, and the side marker lights blink, repeating this alarm (one cycle is 120 seconds). Even if you remove the 12 volt battery, the alarming state cannot be changed. The alarm starts again when reinstalling the 12 volt battery.

GHH163807Courtesy of HONDA, U.S.A., INC.

Answer Back Control 

When using the remote, the MICU provides an answer back function to alert the client that the MICU received a lock or unlock command from the remote. When the MICU receives a lock signal, the MICU outputs three times to turn on the turn signal lights. When the MICU receives an unlock signal, the MICU outputs once to turn on the turn signal lights.

GHH163808Courtesy of HONDA, U.S.A., INC.

When the MICU receives a lock signal, the MICU sends signals once to the turn signal lights, and keyless buzzer will sound once when you press the Lock button again within 5 seconds.

GHH163809Courtesy of HONDA, U.S.A., INC.

When the MICU receives an unlock signal, the MICU sends signals two times to the turn signal lights.

GHH163810Courtesy of HONDA, U.S.A., INC.