LEMON Manuals: Even more car manuals for everyone: 1960-2025
Home >> Acura >> 2021 >> TLX Base >> Repair and Diagnosis (Single Page) >> Electrical >> Component Locations >> Electrical Component Locator And Service Information - Outside Mirror Area Components >> Exploded View >> Outside Mirror Area >> Repair Procedure
April 5, 2026: LEMON Manuals is launched! Read the announcement.

Repair Procedure

How to use this manual .

NOTE:  In the illustration, only one side is shown because the component parts and the removal/installation procedure are the same.

GHH562352Courtesy of HONDA, U.S.A., INC.
: Torque, N.m (lbf.ft) : Replace : Warning/Caution : Inspection/Adjustment *: Learning : ■SPL Tool : Required Removal
*1: For some models
GHH562353Courtesy of HONDA, U.S.A., INC.
: Torque, N.m (lbf.ft) : Replace : Warning/Caution : Inspection/Adjustment *: Learning : ■SPL Tool : Required Removal
*1: With Door Puddle Light

*2: With Multi Purpose Camera

*3: Only 14P connector type can be removed terminals from the connector to disassemble the connector.

  1. A.-

    Sub-Procedure 

    GHH562354Courtesy of HONDA, U.S.A., INC.

    Removal 

    1. Carefully push on the top-right corner of the mirror holder (a) to create an opening on the lower-left-hand corner between the mirror holder and the mirror housing (b).

    2. Insert a flat-tip screwdriver (c) as shown as twist the screwdriver to create an opening between the mirror holder and the actuator (d).

    3. Insert the screwdriver in the opening next to the retaining tabs (e) and twist it to remove the mirror holder.

    NOTE:

    Do not pry up on the mirror holder to separate the two parts, as this can cause either the mirror glass or actuator to break.

  2. B.-

    Sub-Procedure 

    GHH562355Courtesy of HONDA, U.S.A., INC.

    Removal 

    • Refer to the figure.
  3. C.-

    Sub-Procedure 

    GHH562356Courtesy of HONDA, U.S.A., INC.

    Removal 

    • Refer to the figure.

    After Installation 

    With multi purpose camera:

  4. D.-

    Sub-Procedure 

    GHH562357Courtesy of HONDA, U.S.A., INC.

    Removal 

    • Refer to the figure.

    After Installation 

    With multi purpose camera:

  5. E.-

    Sub-Procedure 

    GHH562358Courtesy of HONDA, U.S.A., INC.

    Removal 

    • Refer to the figure.

    After Installation 

    With Multi Purpose Camera:

  6. F.-

    Sub-Procedure 

    GHH562359Courtesy of HONDA, U.S.A., INC.

    Removal 

    • Refer to the figure.

    After Installation 

    With multi purpose camera:

  7. G.-
    GHH562360Courtesy of HONDA, U.S.A., INC.
  8. H.-
    GHH562361Courtesy of HONDA, U.S.A., INC.
  9. I.-

    Key Information 

    Do the following before starting your work.

    Remove: 

    Type A (Figure 1) 

    GHH562362Courtesy of HONDA, U.S.A., INC.

    Type B (Figure 2) 

    GHH562363Courtesy of HONDA, U.S.A., INC.

    Removal 

    • Refer to the figure 1 and 2.

    After Installation 

    With multi purpose camera:

  10. J.-

    NOTE:  The power mirror actuator/retract actuator needs to be replaced with the wire harness because the wire harness must be cut off to remove the power mirror actuator/retract actuator.

    Sub-Procedure 

    Removal 

    Figure 1 

    1. 14P connector type: Disassemble the connectors (a), then remove all the terminals (b) from the connectors. (Figure 1)

    GHH562364Courtesy of HONDA, U.S.A., INC.

    Figure 2 

    2. 16P/20P connector type: Cut the wire harness at the line (c). (Figure 2)

    GHH562365Courtesy of HONDA, U.S.A., INC.

    Installation 

    • Insert the mirror actuator wires into the terminal locations at the following as shown. (Figure 3, 4, and 5)

    Connector Terminal Positions (14P connector type) (Figure 3) 

    Position Wire Color
    d BLK
    e BLK
    f YEL/RED
    g ORN
    h BRN
    i LT BLU
    k *1 ORN/BLK
    m *1 WHT/BLK
    n *2 PNK
    o PUR
    p LT BLU *2RED *3
    q GRY
    r YEL
    s LT GRN

    *1: With power retract mirror

    *2: With door puddle light

    *3: Without door puddle light

    Figure 3 

    GHH562366Courtesy of HONDA, U.S.A., INC.

    Connector Terminal Positions (16P connector type) (Figure 4) 

    Position Wire Color
    t BLK
    u BLK
    v YEL/RED
    w ORN
    x BRN
    y LT BLU
    z GRN
    aa DK BLU
    ab GRY
    ac YEL
    ad LT GRN
    ae PUR
    af *1 LT BLU *1RED *1
    ag *1 PNK
    ah *1 WHT/BLK
    ai *1 ORN/BLK

    *1: With power retract mirror

    *2: With door puddle light

    *3: Without door puddle light

    Figure 4 

    GHH562367Courtesy of HONDA, U.S.A., INC.

    Connector Terminal Positions (20P connector type) (Figure 5) 

    Position Wire Color
    ak RED
    am WHT
    an BLK
    ao BLK
    ap YEL/RED
    aq ORN
    ar BRN
    as LT BLU

    *1: With door puddle light

    *2: Without door puddle light

    Position Wire Color
    at YEL/BLK
    au RED/WHT
    av GRN
    aw DK BLU
    ax GRY
    ay YEL
    az LT GRN
    ba PUR
    bb *1 LT BLU *1RED *1
    bc PNK
    bd WHT/BLK
    be ORN/BLK

    *1: With door puddle light

    *2: Without door puddle light

    Figure 5 

    GHH562368Courtesy of HONDA, U.S.A., INC.
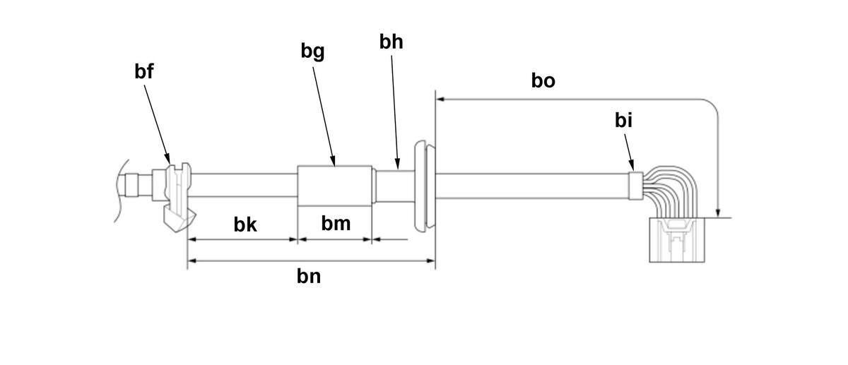
    • Refer to the figure 6.

    Parts Informations (Figure 6) 

    Position Name
    bf Grommet base
    bg Harness foam
    bh Harness grommet
    bi Electrical tape

    Specifications (Figure 6) 

    Specification
    bk 45 mm (1.77 in)
    bm 55 mm (2.17 in)
    bn 130 mm (5.12 in)
    bo 105 mm (4.13 in)

    Figure 6 

    GHH562369Courtesy of HONDA, U.S.A., INC.

    After Installation 

    With multi purpose camera:

  11. K.-

    After Installation