LEMON Manuals: Even more car manuals for everyone: 1960-2025
Home >> Acura >> 2021 >> TLX Base >> Repair and Diagnosis (Single Page) >> Quick Lookups >> Electrical Component Locations >> Electrical Component Locator And Service Information - Engine Block/Crankshaft Area Components (2.0L Engine) >> Exploded View >> Engine Block/Crankshaft Area(2.0L Engine) >> Repair Procedure >> Procedure
April 5, 2026: LEMON Manuals is launched! Read the announcement.

Repair Procedure: Procedure

GHH559639Courtesy of HONDA, U.S.A., INC.
: Torque, N.m (lbf.ft) : Replace : Warning/Caution : Inspection/Adjustment *: Learning ■: SPL Tool : Required Removal
*1: In the illustration, other parts are omitted because the component parts and the removal/installation procedure are the same.

*2: Without AWD

*3: With AWD

GHH559640Courtesy of HONDA, U.S.A., INC.
: Torque, N.m (lbf.ft) : Replace : Warning/Caution : Inspection/Adjustment *: Learning ■: SPL Tool : Required Removal
  1. A.-

    Sub-Procedure 

    GHH559641Courtesy of HONDA, U.S.A., INC.

    Installation 

    NOTE:

    Make sure the direction of the sensor connector (a) as shown.

    Installation Directions 

    Position Direction
    b Up
  2. B.-

    Sub-Procedure 

    Installation 

    NOTE:
    • Install new coolant separator A/B in the engine block whenever the engine block is replaced.
    • The coolant separator A is different from the coolant separator B. Do not mix coolant separator A/B.
  3. C.-

    Key Information 

    Do the following before starting your work.

    Remove: 

    Sub-Procedure 

    Installation 

    Lubricant Specifications 

    Object Type
    O-Ring Engine Oil

    After Installation 

  4. D.-

    Key Information 

    Do the following before starting your work.

    Remove: 

  5. E.-

    Key Information 

    Do the following before starting your work.

    Remove: 

    Sub-Procedure 

    Removal 

    NOTE:  Be careful not to damage the crankshaft and the engine block.

    Figure 1 

    GHH559642Courtesy of HONDA, U.S.A., INC.

    Figure 2 

    GHH559643Courtesy of HONDA, U.S.A., INC.

    Installation 

    1. Clean and dry the oil seal housing.

    Lubricant Specifications (Figure 1) 

    Position Type
    a Engine Oil

    Installation Depth (Figure 2) 

    Standard Value
    b 0.2-1.2 mm (0.008-0.047 in)

    2. Clean the excess oil off the crankshaft, and check that the oil seal lip is not distorted.

  6. F.-

    Key Information 

    Do the following before starting your work.

    Remove: 

    Sub-Procedure 

    Figure 1 

    Fig 1: Engine Block Bolts Loosening Sequence (1 OF 2)
    GHH559644Courtesy of HONDA, U.S.A., INC.

    Removal 

    1. Remove the bolts in the sequence shown. (Figure 1)

    Figure 2 

    Fig 2: Engine Block Bolts Loosening Sequence (2 OF 2)
    GHH559645Courtesy of HONDA, U.S.A., INC.

    2. Remove the bolts. To prevent warpage, loosen the bolts in sequence 1/3 turn at a time; repeat the sequence until all bolts are loosened. (Figure 2)

    Figure 3 

    GHH559646Courtesy of HONDA, U.S.A., INC.

    3. Using a flat blade screwdriver, separate the lower block from the engine block in the places shown. (Figure 3)

    4. Remove the lower block and the bearings.

    NOTE:

    Keep all the bearings in order.

    Figure 4 

    GHH559647Courtesy of HONDA, U.S.A., INC.

    Installation 

    1. Remove all of the old gasket from the mating surfaces of each part and clean it.

    Lubricant Specifications (Figure 4) 

    Position Type Detail
    a Liquid Gasket (P/N 08718-0003, 08718-0004, or 08718- 0009) b 3.5 mm (0.138 in)
    NOTE:
    • Install the component within 5 minutes of applying the liquid gasket.
    • If too much time has passed after applying the liquid gasket, remove the old liquid gasket and residue, then reapply new liquid gasket.
    • Wait at least 30 minutes before filling the engine with oil.
    • Do not run the engine for at least 3 hours after installing the parts.

    Figure 5 

    Fig 3: Engine Block Tightening Sequence (1 Of 3)
    GHH559648Courtesy of HONDA, U.S.A., INC.

    Figure 6 

    Fig 4: Engine Block Tightening Sequence (2 Of 3)
    GHH559649Courtesy of HONDA, U.S.A., INC.

    2. Tighten the bolts, in sequence. (Figure 5)

    Lubricant Specifications 

    Position Type
    • Threads
    • Washer
    Engine Oil

    Tightening Procedure (Figure 5 and 6) 

    Step Operation Object Specification
    1 Temporarily Tighten All Bolts 35 N.m (26 lbf.ft)
    2 Angle Tighten All Bolts c 41 deg.

    Figure 7 

    Fig 5: Engine Block Tightening Sequence (3 Of 3)
    GHH559650Courtesy of HONDA, U.S.A., INC.

    3. Tighten the bolts, in sequence. (Figure 7)

    Tightening Procedure (Figure 7) 

    Step Operation Object Specification
    1 Tighten All Bolts Specified Torque

    After Installation 

  7. G.-
    NOTE:

    Keep all removed parts in order, and install them of the original position when installing.

    Key Information 

    Do the following before starting your work.

    Remove: 

    • Crankshaft

    Sub-Procedure 

    Figure 1 

    GHH559651Courtesy of HONDA, U.S.A., INC.

    Figure 2 

    GHH559652Courtesy of HONDA, U.S.A., INC.

    Removal 

    • Refer to the figure 1.
    NOTE:
    • If you can feel a ridge of metal or hard carbon around the top of each cylinder, remove it with a ridge reamer (a). Follow the reamer manufacturer's instructions. If the ridge is not removed, it may damage the piston and the piston rings as they are pushed out. (Figure 2)
    • Take care not to damage the cylinder with the connecting rod.
    • Mark each piston/connecting rod assembly with its cylinder number to make sure they are reinstalled in the original order.
    • The existing number on the connecting rod does not indicate its position in the engine, it indicates the rod bore size.
    • Keep all connecting rod bearings in order.

    Tool Details (Figure 2) 

    Name
    a Ridge Reamer (Commercially Available)

    Figure 3 

    GHH559653Courtesy of HONDA, U.S.A., INC.

    Installation 

    1. Check the connecting rod bearing is securely in place.

    Lubricant Specifications 

    Position Type
    • Piston
    • Inside of Ring Compressor
    • Cylinder Bore
    Engine Oil

    2. Position the piston/rod assembly with the arrow (b) facing the cam chain side of the engine block. (Figure 3)

    Figure 4 

    GHH559654Courtesy of HONDA, U.S.A., INC.

    3. Push down on the ring compressor (c) to prevent the rings from expanding before entering the cylinder bore. (Figure 4)

    Tool Details (Figure 4) 

    Name
    c Ring Compressor (Commercially Available)

    4. Stop after the ring compressor pops free, and check the connecting rod-to-rod journal alignment before pushing the piston into place.

  8. H.-

    Key Information 

    Do the following before starting your work.

    Remove: 

    Sub-Procedure 

    NOTE:
    • Keep all removed parts in order, and install them of the original position when installing.
    • Be careful not to damage the journals and the CKP pulse plate.
    • Be sure to install the lower block when removing/installing the connecting rod cap.

    NOTE:  The No. 1 journal is on the crankshaft pulley side.

    Removal 

    • Remove the connecting rod cap and bearing half.

    Figure 1 

    GHH559655Courtesy of HONDA, U.S.A., INC.

    Installation 

    1. Adjust the main bearing - Refer to: Crankshaft Main Bearing Adjustment(2.0L Engine)

    (if necessary).

    2. Install the crankshaft.

    Lubricant Specifications 

    Position Type
    • Main Bearings
    • Connecting Rod Bearings
    Engine Oil

    3. Install the thrust washer (a) as shown. (Figure 1)

    Lubricant Specifications 

    Position Type
    Thrust Washer Surfaces Engine Oil

    4. Install the lower block.

    Figure 2 

    GHH559656Courtesy of HONDA, U.S.A., INC.

    Figure 3 

    GHH559657Courtesy of HONDA, U.S.A., INC.

    5. Adjust the connecting rod bearing - Refer to: Connecting Rod Bearing Adjustment(2.0L Engine)

    (if necessary).

    6. Install the connecting rod cap. Line up the mark (b) on the connecting rod and the connecting rod cap. (Figure 2)

    Lubricant Specifications 

    Position Type
    • Threads
    • Flange
    Engine Oil

    Tightening Procedure (Figure 3) 

    Step Operation Standard Value
    1 Temporarily Tighten 5.0 N.m (3.7 lbf.ft)
    2 Temporarily Tighten 39 N.m (29 lbf.ft)
    3 Angle Tighten c 120 deg.
    NOTE:

    Remove the connecting rod bolt if you tightened it beyond the specified angle, and go back to step 1 of the tightening procedure. Do not loosen it back to the specified angle.

    7. Inspect the connecting rod and crankshaft end play - Refer to: Connecting Rod and Crankshaft End Play Inspection(2.0L Engine) or Piston, Ring, Pin, and Connecting Rod Inspection(2.0L Engine) . (if necessary)

    After Installation 

  9. I.-

    Sub-Procedure 

    Installation 

    Lubricant Specifications 

    Object Type
    O-Ring Engine Oil
  10. J.-

    Sub-Procedure 

    Installation 

    Lubricant Specifications 

    Object Type
    O-Ring Engine Oil
  11. K.-

    Sub-Procedure 

    NOTE:

    Be careful not to damage the CKP pulse plate.

    Installation 

    Lubricant Specifications 

    Position Type
    • Bolt Threads
    • Bolt Flange
    Engine Oil

    After Installation 

  12. L.-

    Sub-Procedure 

    NOTE:

    Keep all removed parts in order, and install them of the original position when installing.

    Figure 1 

    GHH559658Courtesy of HONDA, U.S.A., INC.

    Removal 

    • Refer to the Figure 1.

    Tool Details (Figure 1) 

    Name
    a Ring Expander (Commercially Available)

    Figure 2 

    GHH559659Courtesy of HONDA, U.S.A., INC.

    Installation 

    1. Clean all ring grooves thoroughly with a squared-off broken ring or a ring groove cleaner with a blade to fit the piston grooves. File down a blade if necessary. Do not use a wire brush to clean the ring grooves, or cut the ring grooves deeper with the cleaning tools.

    2. If necessary, inspect the piston ring end gap - Refer to: Piston, Ring, Pin, and Connecting Rod Inspection(2.0L Engine) or Block and Piston Inspection(2.0L Engine)

    .NOTE:  If the piston is to be separated from the connecting rod, do not install new rings yet.

    Specifications (Figure 2) 

    Standard Value (New)
    b 1.5 mm (0.059 in)
    c 1.0 mm (0.039 in)
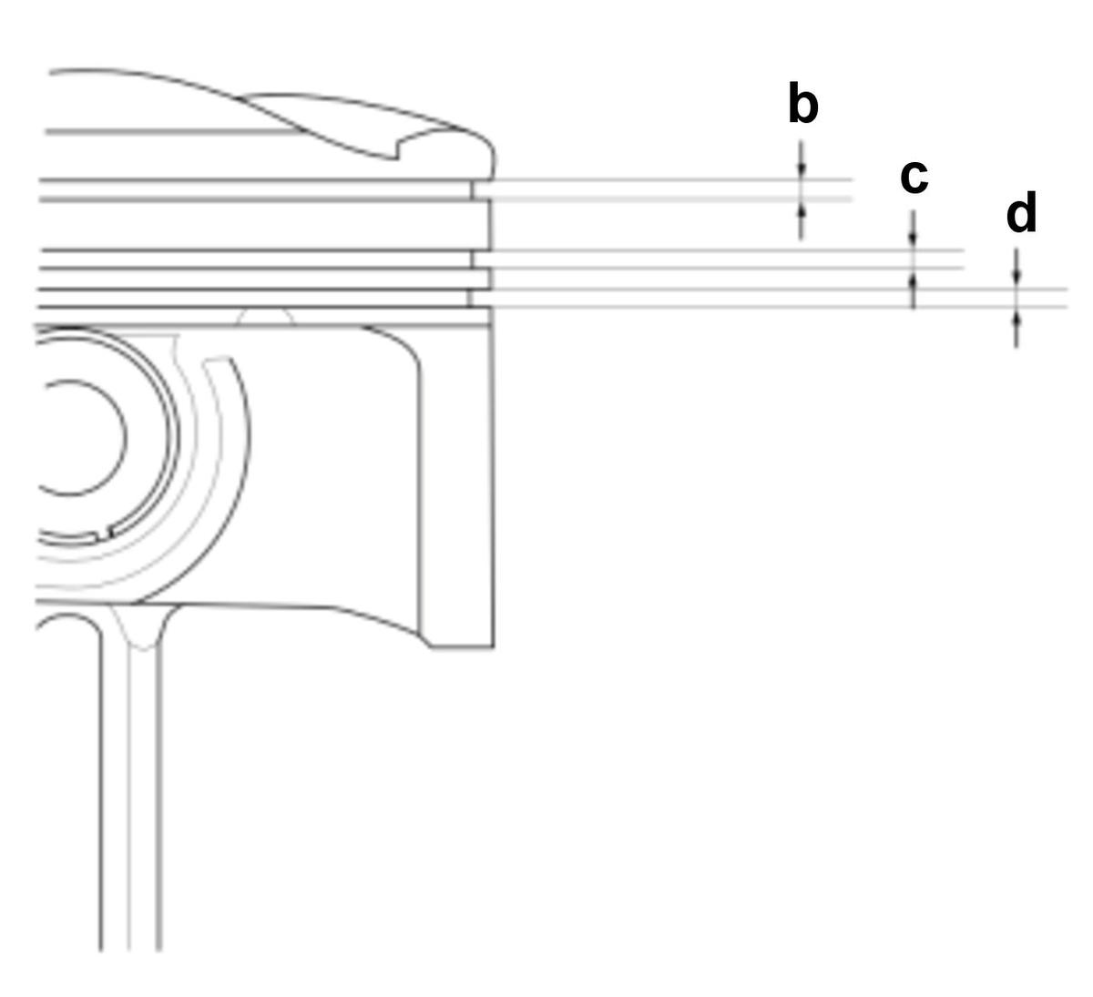
    d 2.0 mm (0.079 in)

    Figure 3 

    GHH559660Courtesy of HONDA, U.S.A., INC.

    Figure 4 

    GHH559661Courtesy of HONDA, U.S.A., INC.

    3. The manufacturing marks (e)/(f) must be facing upward. (Figure 3)

    Specifications (Figure 3) 

    Marking Position Mark
    e 1R
    f 2R

    Specifications (Figure 4) 

    Standard Value (New)
    Top Ring g 2.7 mm (0.106 in)
    h 1.5 mm (0.059 in)
    Second Ring g 2.7 mm (0.106 in)
    h 1.0 mm (0.039 in)

    Lubricant Specifications 

    Position Type
    Piston Rings Engine Oil

    4. Rotate the rings in their grooves to make sure they do not bind.

    Figure 5 

    GHH559662Courtesy of HONDA, U.S.A., INC.

    5. Position the ring end gaps as shown. (Figure 5)

    Specifications (Figure 5) 

    Position Object
    i Oil Ring Gap
    k Second Ring Gap
    m Oil Ring Gap
    n Top Ring Gap and Spacer Ring Gap
    o Piston Pin

    Specifications (Figure 5) 

    Specifications
    p About 90 deg.
    q About 45 deg.

    After Installation 

  13. M.-

    Sub-Procedure 

    NOTE:

    Keep all removed parts in order, and install them of the original position when installing.

    Figure 1 

    GHH559663Courtesy of HONDA, U.S.A., INC.

    Figure 2 

    GHH559664Courtesy of HONDA, U.S.A., INC.

    Removal 

    1. Remove the snap rings.

    Lubricant Specifications (Figure 1) 

    Position Type
    a Engine Oil

    -1. Turn them in the ring grooves until the end gaps are lined up with the cutouts in the piston pin bores (b). (Figure 1)

    NOTE:

    Take care not to damage the ring grooves.

    -2. Remove the snap rings from both sides of each piston. Start at the cutout in the piston pin bore. Remove the snap rings carefully so they do not go flying or get lost. Wear goggles or safety glasses to prevent eye injury. (Figure 2)

    Figure 3 

    GHH559665Courtesy of HONDA, U.S.A., INC.

    2. Remove the piston pin. (Figure 3)

    • Heat the piston/rod assembly to about 158 deg.F (70 deg.C).

    3. If necessary, do the following inspection.

    Figure 4 

    GHH559666Courtesy of HONDA, U.S.A., INC.

    Figure 5 

    GHH559667Courtesy of HONDA, U.S.A., INC.

    Figure 6 

    GHH559668Courtesy of HONDA, U.S.A., INC.

    Installation 

    1. Install the snap ring. (only on one side)

    2. Install the piston pin.

    Lubricant Specifications (Figure 4) 

    Position Type
    c Engine Oil
    d
    e
    • Heat the piston to about 158 deg.F (70 deg.C). (Figure 5)
    • Align the arrow (f) with the groove (g) direction on the connecting rod as shown. (Figure 6)

    3. Install the remaining snap ring.

    • Turn the snap rings in the ring grooves until the end gaps are positioned at the bottom of the piston.