LEMON Manuals: Even more car manuals for everyone: 1960-2025
Home >> Acura >> 2021 >> TLX Base >> Repair and Diagnosis (Single Page) >> Quick Lookups >> Electrical Component Locations >> Electrical Component Locator And Service Information - Front Seat Area Components - Driver Side >> Exploded View >> Front Seat Area - Driver's >> Repair Procedure
April 5, 2026: LEMON Manuals is launched! Read the announcement.

Repair Procedure

How to use this manual .

WARNING:
GHH561387Courtesy of HONDA, U.S.A., INC.
: Torque, N.m (lbf.ft) : Replace : Warning/Caution : Inspection/Adjustment *: Learning ■: SPL Tool : Required Removal
*1: Remove the bolt with a TORX Plus socket, 50 IP.
GHH561388Courtesy of HONDA, U.S.A., INC.
: Torque, N.m (lbf.ft) : Replace : Warning/Caution : Inspection/Adjustment *: Learning ■: SPL Tool : Required Removal
*1: With ventilated seat
*2: With 16-way power seat
GHH561389Courtesy of HONDA, U.S.A., INC.
: Torque, N.m (lbf.ft) : Replace : Warning/Caution : Inspection/Adjustment *: Learning ■: SPL Tool : Required Removal
*1: With 16-way power seat

*2: Remove the bolt with a TORX Plus socket, 25 IP.

GHH561390Courtesy of HONDA, U.S.A., INC.
: Torque, N.m (lbf.ft) : Replace : Warning/Caution : Inspection/Adjustment *: Learning ■: SPL Tool : Required Removal
*1: With ventilated seat
  1. A.-

    Sub-Procedure 

    GHH561391Courtesy of HONDA, U.S.A., INC.

    Removal 

    • Refer to the figure.
  2. B.-

    Sub-Procedure 

    GHH561392Courtesy of HONDA, U.S.A., INC.

    Removal 

    • Refer to the figure.
  3. C.-

    Preconditions 

    Sub-Procedure 

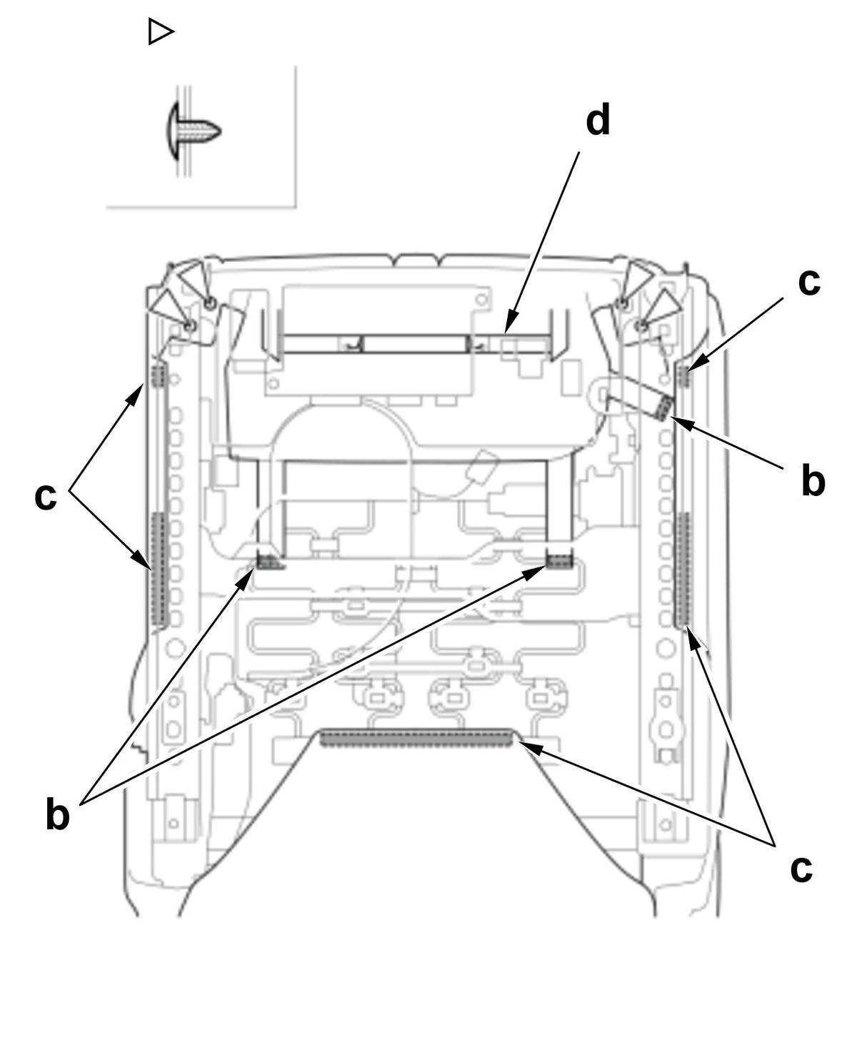
    Figure 1 

    GHH561393Courtesy of HONDA, U.S.A., INC.

    Removal 

    How to access the driver's seat mounting bolts for the case of the seat slide motor malfunction. 

    1. Remove the outer recline cover (a) as needed. (Figure 1)

    2. Disconnect the connector (b). (Figure 1)

    3. Remove the harness clip (c). (Figure 1)4

    With 16-way power seat: Remove the seat cushion cover belt (d) from the hooks. (Figure 1)

    5. Remove the hooks (e). (Figure 1)

    Figure 2 

    GHH561394Courtesy of HONDA, U.S.A., INC.

    6. Remove the cushion cover/pad (f) as needed. (Figure 2)

    Figure 3 

    GHH561395Courtesy of HONDA, U.S.A., INC.

    7. Remove the harness clip (i). (Figure 3)

    8. Remove the cushion spring (k). (Figure 3)

    Figure 4 

    GHH561396Courtesy of HONDA, U.S.A., INC.

    9. Remove the clip (m), and then remove the slide motor (n). (Figure 4)

    10. Disconnect the connector (o). (Figure 4)

    11. Remove the long flex cable (p), and then remove the tube (q). (Figure 4)

    12. Remove the short flex cable (r). (Figure 4)

    Figure 5 (Inboard rail) 

    GHH561397Courtesy of HONDA, U.S.A., INC.

    Figure 6 (Outboard rail) 

    GHH561398Courtesy of HONDA, U.S.A., INC.

    13. Connect the one side of the slide motor cable (s) to the drill (t), and the other side of the cable to the transmission hole (u). (Figure 5 and 6)

    14. Operate the drill to the slide rail, alternating between the inboard and the outboard rails to directions needed for each rail. (Figure 5 and 6)

    Function (Inboard rail) (Figure 5) 

    Drill Rotating Direction Seat Moving Direction
    Clockwise Forward (v)
    Counterclockwise Backward (w)

    Function (Outboard rail) (Figure 6) 

    Drill Rotating Direction Seat Moving Direction
    Counterclockwise Forward (x)
    Clockwise Backward (y)

    15. Remove the driver's seat mounting bolts.

    Figure 7 

    GHH561399Courtesy of HONDA, U.S.A., INC.

    Installation 

    After Installation 

  4. D.-
    GHH561400Courtesy of HONDA, U.S.A., INC.
  5. E.-
    GHH561401Courtesy of HONDA, U.S.A., INC.
  6. F.-
    GHH561402Courtesy of HONDA, U.S.A., INC.
  7. G.-

    Sub-Procedure 

    Figure 1 

    GHH561403Courtesy of HONDA, U.S.A., INC.

    Removal 

    1. From under the seat cushion, release the elastic straps (a) from the seat cushion frame springs. (Figure 1)

    Figure 2 

    GHH561404Courtesy of HONDA, U.S.A., INC.

    2. Refer to the figure 2.

  8. H.-

    Sub-Procedure 

    Figure 1 

    GHH561405Courtesy of HONDA, U.S.A., INC.

    Removal 

    1. Remove the hooks (a). (Figure 1)

    Figure 2 

    GHH561406Courtesy of HONDA, U.S.A., INC.

    2. Refer to the figure 2.

  9. I.-
    GHH561407Courtesy of HONDA, U.S.A., INC.

    Key Information 

    Do the following before starting your work.

    Remove: 

    • Driver's Seat-Back Outer Panel

    Sub-Procedure 

    Removal 

    • Refer to the figure.
  10. J.-

    After Installation 

  11. K.-

    Sub-Procedure 

    GHH561408Courtesy of HONDA, U.S.A., INC.

    Removal 

    • Refer to the figure.
  12. L.-

    Sub-Procedure 

    Figure 1 

    GHH561409Courtesy of HONDA, U.S.A., INC.

    Removal 

    1. Refer to the figure 1.

    Figure 2 

    GHH561410Courtesy of HONDA, U.S.A., INC.

    Installation 

    1. Install the parts as shown. (Figure 2)

  13. M.-
    WARNING:
    NOTE:

    If you are replacing the side airbag after a deployment, refer to Component Replacement/Inspection After Deployment - Refer to: SRS Component Replacement/Inspection After Deployment for a complete list of other parts that must also be replaced.

    NOTE: 

    • When troubleshooting, do not remove the driver's seat. Disconnect only the side airbag inflator connector from under the driver's seat.

    Preconditions 

    Key Information 

    Do the following before starting your work.

    Remove: 

    • Driver's Seat-Back Outer Panel

    Sub-Procedure 

    Figure 1 

    GHH561411Courtesy of HONDA, U.S.A., INC.

    Removal 

    1. Disconnect the connector (a). (Figure 1)

    2. Remove the harness clips (b). (Figure 1)

    Figure 2 

    GHH561412Courtesy of HONDA, U.S.A., INC.

    3. Release the hook and loop fasteners (c). (Figure 2)

    4. Remove the hooks (d). (Figure 2)

    5. Turn over the seat-back pad (e). (Figure 2)

    Installation 

    NOTE:
    • Make sure that the seat-back cover/pad is installed properly. Improper installation may prevent proper deployment.
    • Be sure to install the harness so that they are not pinched or interfering with other parts.

    After Installation 

    • 12 Volt Battery Negative Terminal Reconnect
    • Seat Operation Confirm
      • Move the driver's seat and the seat-back through their full ranges of movement, making sure the harnesses are not pinched or interfering with other parts.
    • SRS Operation Confirm
      • Turn the vehicle to the ON mode, and check that the SRS indicator comes on for about 6 seconds and then goes off.
  14. N.-
    GHH561413Courtesy of HONDA, U.S.A., INC.
  15. O.-

    Sub-Procedure 

    Removal 

    1. Release the hooks (a) and hook and loop fasteners (b). (Figure 1)

    Figure 1 

    GHH561414Courtesy of HONDA, U.S.A., INC.

    2. Remove the left side airbag.

    3. Turn over the driver's seat-back cover (c). (Figure 2)

    Figure 2 

    GHH561415Courtesy of HONDA, U.S.A., INC.

    4. Remove the clips (d) of the reinforcing cloth. (Figure 2)

    5. Release the hooks (e). (Figure 3)

    Figure 3 

    GHH561416Courtesy of HONDA, U.S.A., INC.
  16. P.-
    GHH561417Courtesy of HONDA, U.S.A., INC.
  17. Q.-

    Sub-Procedure 

    GHH561418Courtesy of HONDA, U.S.A., INC.

    Removal 

    • Refer to the figure.
  18. R.-

    Sub-Procedure 

    GHH561419Courtesy of HONDA, U.S.A., INC.

    Removal 

    • Refer to the figure.

    After Installation 

  19. S.-

    Sub-Procedure 

    Figure 1 

    GHH561420Courtesy of HONDA, U.S.A., INC.

    Removal 

    1. Release the hook and loop fasteners (a). (Figure 1)

    Figure 2 

    GHH561421Courtesy of HONDA, U.S.A., INC.

    2. Remove the elastic straps (b) and the hooks (c). (Figure 2)

    3. With 16-way power seat: Remove the seat cushion cover belt (d) from the hooks. (Figure 2)

  20. T.-

    NOTE:  Do not turn the vehicle to the ON mode, while removing or installing the driver's seat position sensor.

    Sub-Procedure 

    Installation 

    NOTE:  Be sure to install the harness so it is not pinched or interferes with other parts.

    After Installation 

  21. U.-
    GHH561422Courtesy of HONDA, U.S.A., INC.
  22. V.-

    Sub-Procedure 

    GHH561423Courtesy of HONDA, U.S.A., INC.

    Removal 

    • Refer to the figure.
  23. W.-
    GHH561424Courtesy of HONDA, U.S.A., INC.
  24. X.-
    WARNING:

    Wear goggles or safety glasses to prevent eye injury.

    Sub-Procedure 

    Figure 1 

    GHH561425Courtesy of HONDA, U.S.A., INC.

    Removal 

    • Drill the rivet heads off with a drill bit (a). (Figure 1)

      NOTE:  Keep area clean from metal shavings.

    Drill Bit Specifications (Figure 1) 

    Specification
    a 4 mm (0.16 in)

    Figure 2 

    GHH561426Courtesy of HONDA, U.S.A., INC.

    Installation 

    • Firmly install the power thigh support (b) with the rivets (c). (Figure 2)
  25. Y.-
    WARNING:

    Wear goggles or safety glasses to prevent eye injury.

    Sub-Procedure 

    Figure 1 

    GHH561427Courtesy of HONDA, U.S.A., INC.

    Removal 

    • Drill the rivet heads off with a drill bit (a). (Figure 1)

      NOTE:  Keep area clean from metal shavings.

    Drill Bit Specifications (Figure 1) 

    Specification
    a 4 mm (0.16 in)

    Figure 2 

    GHH561428Courtesy of HONDA, U.S.A., INC.

    Installation 

    • Firmly install the power thigh support motor (b) with the rivets (c). (Figure 2)

    After Installation 

  26. Z.-

    Sub-Procedure 

    GHH561429Courtesy of HONDA, U.S.A., INC.

    Removal 

    • Refer to the figure.
  27. AA.-
    WARNING:

    Wear goggles or safety glasses to prevent eye injury.

    Sub-Procedure 

    Figure 1 

    GHH561430Courtesy of HONDA, U.S.A., INC.

    Removal 

    • Drill the rivet heads off with a drill bit (a). (Figure 1)

      NOTE:  Keep area clean from metal shavings.

    Drill Bit Specifications (Figure 1) 

    Specification
    a 4 mm (0.16 in)

    Figure 2 

    GHH561431Courtesy of HONDA, U.S.A., INC.

    Installation 

    • Firmly install the bolster motor (b) with the rivets (c). (Figure 2)

    After Installation 

  28. AB.-
    GHH561432Courtesy of HONDA, U.S.A., INC.
  29. AC.-
    GHH561433Courtesy of HONDA, U.S.A., INC.
  30. AD.-

    Sub-Procedure 

    Figure 1 

    GHH561434Courtesy of HONDA, U.S.A., INC.

    Removal 

    1. Remove the upholstery rings (a), and then remove the seat-back cover (b). (Figure 1)

    2. Release the hook and loop fastener (c). (Figure 1)

    Figure 2 

    GHH561435Courtesy of HONDA, U.S.A., INC.

    Installation 

    NOTE:  Replace all of the upholstery rings (d) with new ones, and fasten the front seat-back cover (e) to the wires (f) using pliers (g). (Figure 2)

  31. AE.-

    Sub-Procedure 

    Removal 

    NOTE:  The driver's seat-back heater is glued to the driver's seat-back pad. When removing it, take care not to damage the driver's seat-back pad.

    Installation 

    • Attach the driver's seat-back heater (a) to the reference position.

      NOTE:  Once the driver's seat-back heater is in place on the driver's seat-back, tuck the bridge folds (b) of the driver's seat-back heater evenly into the grooves of the driver's seat-back pad (c).

    GHH561436Courtesy of HONDA, U.S.A., INC.
  32. AF.-

    Sub-Procedure 

    Removal 

    NOTE:  The driver's seat-back ventilation bag is glued to the driver's seat-back pad. When removing it, take care not to damage the driver's seat-back pad.

    Installation 

    • Attach the driver's seat-back ventilation bag according to the shape of the driver's seat-back pad.
  33. AG.-

    Sub-Procedure 

    Figure 1 

    GHH561437Courtesy of HONDA, U.S.A., INC.

    Removal 

    1. Remove the upholstery rings (a), and then remove the seat cushion cover (b). (Figure 1)

    Figure 2 

    GHH561438Courtesy of HONDA, U.S.A., INC.

    Installation 

    NOTE:  Replace all of the upholstery rings (c) with new ones, and fasten the driver's seat cushion cover (d) to the wires (e) using pliers (f). (Figure 2)

  34. AH.-

    Sub-Procedure 

    Removal 

    • Disconnect the connector (a). (Figure 1)
    • Remove the harness clips (b). (Figure 1)

    NOTE:  The driver's seat cushion heater is glued to the driver's seat cushion pad. When removing it, take care not to damage the driver's seat cushion pad.

    Figure 1 

    GHH561439Courtesy of HONDA, U.S.A., INC.

    Installation 

    • Attach the driver's seat cushion heater (c) to the reference position. (Figure 2)
      NOTE:

      Once the driver's seat cushion heater is in place on the driver's seat cushion, tuck the bridge folds (d) of the driver's seat cushion heater evenly into the grooves of the driver's seat cushion pad (e). (Figure 2)

    Figure 2 

    GHH561440Courtesy of HONDA, U.S.A., INC.
  35. AI.-

    Sub-Procedure 

    Removal 

    NOTE:  The driver's seat cushion ventilation bag is glued to the driver's seat cushion pad. When removing it, take care not to damage the driver's seat cushion pad.

  36. AJ.-
     

    Sub-Procedure 

    Removal 

    • Refer to the figure.
    GHH561441Courtesy of HONDA, U.S.A., INC.
  37. AK.-
    GHH561442Courtesy of HONDA, U.S.A., INC.

    Sub-Procedure 

    Removal 

    • Refer to the figure.
  38. AL.-

    Sub-Procedure 

    GHH561443Courtesy of HONDA, U.S.A., INC.

    Removal 

    • Refer to the figure.