LEMON Manuals: Even more car manuals for everyone: 1960-2025
Home >> Acura >> 2021 >> TLX Base >> Repair and Diagnosis (Single Page) >> Quick Lookups >> Electrical Component Locations >> Electrical Component Locator And Service Information - Intake Manifold Area Components (2.0L Engine) >> Exploded View >> Intake Manifold Area (2.0L Engine) >> Repair Procedure
April 5, 2026: LEMON Manuals is launched! Read the announcement.

Repair Procedure

How to use this manual .

GHH561996Courtesy of HONDA, U.S.A., INC.
: Torque, N.m (lbf.ft) : Replace : Warning/Caution : Inspection/Adjustment *: Learning ■: SPL Tool : Required Removal
GHH561997Courtesy of HONDA, U.S.A., INC.
: Torque, N.m (lbf.ft) : Replace : Warning/Caution : Inspection/Adjustment *: Learning ■: SPL Tool : Required Removal
GHH561998Courtesy of HONDA, U.S.A., INC.
: Torque, N.m (lbf.ft) : Replace : Warning/Caution : Inspection/Adjustment *: Learning ■: SPL Tool : Required Removal
  1. A.-
    WARNING:

    Do not insert your fingers into the installed throttle body when you turn the vehicle to the ON mode, or while the vehicle is in ON mode. If you do, you will seriously injure your fingers if the throttle valve is activated.

    Key Information 

    Do the following before starting your work.

    Remove: 

    Sub-Procedure 

    Removal 

    NOTE:
    • If you are replacing the throttle body, do all of the procedures.
    • If you are removing the throttle body, start from step 6.

    1. Connect the HDS .

    2. Clear the throttle position (TP) learned value.

    • Select the following menu buttons on the HDS screen in sequence.
      1. PGM-FI (System Selection Menu)
      2. Function Test
      3. ETCS (TAC) TEST
      4. TP POSITION CHECK

    3. Turn the vehicle to the OFF (LOCK) mode.

    4. Turn the vehicle to the ON mode, and wait 2 seconds without pressing the accelerator pedal.

    5. Turn the vehicle to the OFF (LOCK) mode.

    6. Remove the throttle body.

    NOTE:
    • Plug the water bypass hoses.
    • Be careful not to drop the throttle flange plates to prevent other parts from damaging.

    Installation 

    • Refer to the figure.

    Tightening Procedure 

    Step Operation Object Detail
    1 Temporarily Tighten All Bolts Until they sit on the throttle body
    2 Temporarily Tighten All Bolts Until the gasket is compressed
    3 Tighten All Bolts -> -> ->
    GHH561999Courtesy of HONDA, U.S.A., INC.

    After Installation 

  2. B.-
    WARNING:

    Flammable - Keep Fire Away

    NOTE:

    Refer to the Fuel and Emissions Systems Service Precautions before doing the procedure.

    Key Information 

    Do the following before starting your work.

    Remove: 

    Sub-Procedure 

    Installation 

  3. C.-

    Sub-Procedure 

    Installation 

    Lubricant Specifications 

    Object Type
    O-Ring Engine Oil
  4. D.-
    WARNING:

    Flammable - Keep Fire Away

    NOTE:

    Preconditions 

    Key Information 

    Do the following before starting your work.

    Remove: 

    After Installation 

  5. E.-
    NOTE:

    Refer to the Fuel Line/ Quick-Connect Fitting Precautions before removing the fuel line/quick-connect fitting cover.

    Key Information 

    Do the following before starting your work.

    Remove: 

  6. F.-
    NOTE:

    Refer to the Fuel Line/ Quick-Connect Fitting Precautions before removing the fuel line/quick-connect fitting cover.

    Key Information 

    Do the following before starting your work.

    Remove: 

  7. G.-

    NOTE:  When removing the throttle body, it is not necessary to disconnect the water bypass hoses from the throttle body.

    Key Information 

    NOTE:  For the removal and installation procedure, refer to Intake Manifold Removal and Installation - Refer to: Intake Manifold Removal and Installation(2.0L Engine) and the sub-procedure below.

    Sub-Procedure 

    Installation 

    • Refer to the Figure.

    Tightening Procedure 

    Step Operation Object Detail
    1 Temporary Tighten All Bolts and Nuts Until they sit on the intake manifold
    2 Temporary Tighten All Bolts and Nuts Until the gasket is compressed
    3 Tighten All Bolts and Nuts -> -> -> ->
    GHH562000Courtesy of HONDA, U.S.A., INC.
  8. H.-
    WARNING:

    Flammable - Keep Fire Away

    NOTE:

    Preconditions 

    Key Information 

    NOTE:  For the removal and installation procedure, refer to Injector Removal and Installation - Refer to: Injector Removal and Installation(2.0L Engine) and the sub-procedure below.

    Sub-Procedure 

    NOTE:
    • When replacing a injector, you must replace all injectors as an assembly and the fuel joint pipe. Failure to do so will cause poor engine performance and fuel leaks.
    • If you will reuse the injector after removal, note the cylinder number and install it to the same cylinder.

    Removal 

    1. Carefully remove the fuel rail with the injectors straight from the cylinder head.

    NOTE:

    If the injector remains on the cylinder head, carefully remove the injector straight from the cylinder head.

    2. Carefully remove the seal (a) from the injector. (Figure 1)

    Figure 1 

    GHH562001Courtesy of HONDA, U.S.A., INC.

    Installation 

    NOTE:
    • Do not wipe off the tip area (b) of the injector as it may be damaged. (Figure 2)
    • If the tip of the injector is dirty or clogged, it must be replaced. The tip of the injector cannot be cleaned.
    • Be sure to protect the injector from dust or debris.

    1. Use compressed air to insure that there are no dust or debris around the ring (c). (Figure 2)

    Figure 2 

    GHH562002Courtesy of HONDA, U.S.A., INC.

    2. With a paper towel, carefully wipe off any carbon from the area (d) shown. (Figure 2)

    3. Install the sizing tool (e) to the injector (f) as shown. (Figure 3)

    NOTE:

    Do not allow the tool to come in contact with the tip of the injector.

    Figure 3 

    GHH562003Courtesy of HONDA, U.S.A., INC.

    4. Install the seal guide (g) over the tip of the injector (h) as shown. (Figure 4)

    Figure 4 

    GHH562004Courtesy of HONDA, U.S.A., INC.

    5. Slide the seal (i) on the seal guide as shown. (Figure 5)

    Figure 5 

    GHH562005Courtesy of HONDA, U.S.A., INC.

    6. Slide the seal installer (k) onto the seal guide, then quickly push the seal down to the groove (m) of the injector. (Figure 6)

    Figure 6 

    GHH562006Courtesy of HONDA, U.S.A., INC.

    7. Remove the seal guide and the seal installer from the injector.

    8. Move the sizing tool and align the top of the injector surface (n) and the tool's inner surface (o) as shown, and hold the tool to reform the seal for 30 seconds or more. (Figure 7)

    NOTE:

    Make sure the seal (p) is not deformed when moving the tool. (Figure 7)

    Figure 7 

    GHH562007Courtesy of HONDA, U.S.A., INC.

    9. Remove the sizing tool, and check that the seal (q) is installed correctly. (Figure 8)

    NOTE:

    When cleaning the sizing tool and the seal guide, be careful not to scratch the sizing tool bore or the surface of the seal guide.

    Figure 8 

    GHH562008Courtesy of HONDA, U.S.A., INC.

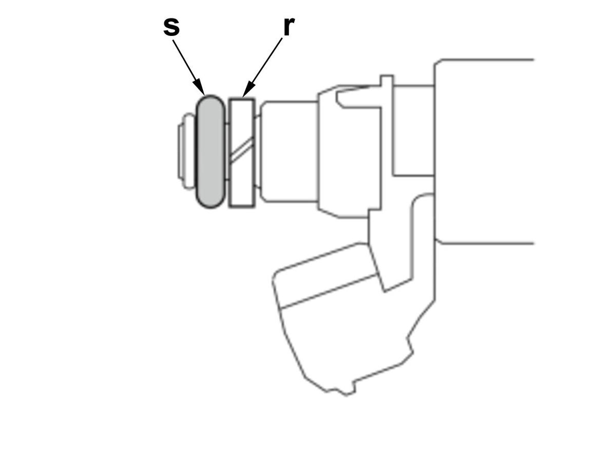
    10. Make sure that the back-up ring (r) is not deformed. (Figure 9)

    Lubricant Specifications (Figure 9) 

    Position Type
    s Engine Oil

    Figure 9 

    GHH562009Courtesy of HONDA, U.S.A., INC.

    11. Carefully install the fuel rail (t) with the injectors into the cylinder head straight and equal. (Figure 10)

    NOTE:

    Protect the tip of the injector from dust or debris.

    Lubricant Specifications (Figure 10) 

    Position Type
    u Engine Oil

    Figure 10 

    GHH562010Courtesy of HONDA, U.S.A., INC.

    Tightening Procedure 

    Step Operation Object Detail
    1 Temporary Tighten All Nuts Alternately, until the fuel rail sits on the cylinder head
    2 Tighten All Bolts and Nuts Specified Torque

    After Installation 

  9. I.-

    Sub-Procedure 

    GHH562011Courtesy of HONDA, U.S.A., INC.

    Installation 

    • Tighten the screws in sequence shown.